青岛垚鑫智能科技有限公司
宣传

位置:中冶有色 >

有色技术频道 >

> 新能源材料技术

分类:
全部
矿山技术
冶金技术
材料制备及加工技术
环境保护技术
分析检测技术
 
全部
功能材料技术
复合材料技术
新能源材料技术
合金材料技术
加工技术
地区:
全部
北京
天津
上海
重庆
河北
山西
辽宁
吉林
黑龙江
江苏
浙江
安徽
福建
江西
山东
河南
湖北
湖南
广东
海南
四川
贵州
云南
陕西
甘肃
青海
内蒙
广西
西藏
宁夏
新疆
其他
其他
展开
 
全部

有色金属新能源材料技术理论与应用

免费发布技术信息>>
锂电池正负极材料回收装置

本实用新型公开了一种锂电池正负极材料回收装置,涉及锂电池回收技术领域。本实用新型包括底板,所述底板顶部一侧固定连接有框架,所述底板顶部另一侧设置有输送仓;所述框架内腔设置有分离组件,所述分离组件包括横板,所述横板固定连接于框架内腔两侧。本实用新型通过伺服电机的工作,能够驱动输送辊将正负极材料输送至分筛板表面,且搅拌筒导出的分离液能够通过过滤板过滤后回收至回收箱内部,以便于后续重复利用

标签:
锂电池正负极材料 锂电池回收装置
江苏 - 淮安 来源:淮安龙创金属制品有限公司 2025-10-27
正负极材料配方用高阻隔封装膜

本发明涉及封装膜技术领域,且公开了正负极材料配方用高阻隔封装膜,高阻隔封装膜的产品结构为:第一层的原料为20‑40重量份数的低密度聚乙烯树脂;第二层的原料为6‑10重量份数的马来酸酐接枝低密度聚乙烯树脂;第三层的原料为20‑30重量份数的乙烯‑乙烯醇共聚树脂和4‑6重量份数的有机改性纳基蒙脱土;第四层的原料为6‑10重量份数的马来酸酐接枝低密度聚乙烯树脂;第五层的原料为20‑40重量份数的低密度聚乙烯树脂和10‑30重量份数的线性低密度聚乙烯树脂。

标签:
正负极材料 高阻隔封装膜
安徽 - 宿州 来源:安徽紫金新材料科技股份有限公司 2025-10-27
锂电池正负极材料小试用气流粉碎机

本实用新型提供的锂电池正负极材料小试用气流粉碎机,包括具有直筒体和连接在直筒体底部的锥筒体的粉碎筒、设置在直筒体内的分级机构、开设在直筒体中部的进料孔、粉碎机构,直筒体上端部封闭,锥筒体呈上大下小的去头圆锥状,通过使粉碎机构为喷嘴,使喷嘴包括插设在粉碎筒上的本体和连接在本体伸入粉碎筒内端部的喷头,使喷嘴分为插设于直筒体下端部的第一喷嘴和插设于锥筒体底部的第二喷嘴,使第一喷嘴轴心线的延长线与第二喷嘴轴心线的延长线相交于一点,使得从进料孔进入的组分材料能够在重力作用下下落。

标签:
锂电池正负极材料 气流粉碎机
江苏 - 苏州 来源:苏州金远胜智能装备股份有限公司 2025-10-27
正负极材料的气体粉碎流化床装置

本实用新型属于电池材料制备技术领域,尤其为一种正负极材料的气体粉碎流化床装置,包括粉碎罐,所述粉碎罐的上方固定安装有支架,所述支架的上方固定安装有伺服电机,所述伺服电机的输出端固定连接有输出轴,所述输出轴上的四周分布有上旋转片,风向向下,所述粉碎罐的一端插接有两个对向的进气管,所述进气管连通弧形板,所述弧形板上设有若干个对向喷头。

标签:
正负极材料 气体粉碎流化床
江苏 - 南京 来源:南京同宁新材料研究院有限公司 2025-10-27
锂离子电池及其制备方法和锂离子电池性能的预测方法

本发明公开了锂离子电池及其制备方法和锂离子电池性能的预测方法,涉及锂电池技术领域。本发明通过调控锰酸锂正极材料的氧缺陷度,并结合电解液配方的优化,合理控制各添加剂的质量占比,实现对正极活性材料的精准保护,同时结合负极材料的选择,实现对负极材料表面的有效钝化,建立锰酸锂体系电解液与正负极材料的搭配准则,设计出了低阻抗、长循环寿命的锰酸锂电池产品。

标签:
锂离子电池 锂电池技术
江苏 - 扬州 来源:江苏中兴派能电池有限公司 2025-10-27
电池极片结构、电池以及用电设备

本申请涉及一种电池极片结构、电池以及用电设备,属于动力电池的技术领域。它通过划分涂布料区与箔材留白区,在多列涂布时采用极耳错位分布及共用留白区的结构,优化边距和间距的参数范围,从而减少箔材浪费并避免叠片干涉,解决了相关技术中辊压褶皱以及断带问题,提升材料利用率、生产良率及电池能量密度。

标签:
电池极片 动力电池 动力电池技术
江苏 - 常州 来源:蜂巢能源科技股份有限公司 2025-10-27
含硫全固态聚合物电解质膜及制备方法、锂电池

本公开提出一种含硫全固态聚合物电解质膜及其制备方法、锂电池,属于锂金属电池技术领域。电解质膜为含硫固态聚合物,该聚合物的结构通式如下:;其中,a,b,c均为不同聚合的单元,n为整个聚合物的结构单元,其中2<a,b,c<8,3000<n<30000。该电解质膜能够降低Li+扩散能垒,拓宽电化学窗口,降低界面阻抗,提高正负极材料与含硫全固态聚合物电解质膜之间的界面相容性,用该电解质膜装配的锂电池具有优异的电化学性能和循环性能。

标签:
全固态聚合物电解质膜 电解质膜 锂电池
陕西 - 西安 来源:西安热工研究院有限公司, 华能广西清洁能源有限公司 2025-10-27
电池生产系统和电池生产方法

本发明涉及电池生产技术领域,且公开了一种电池生产系统和电池生产方法,原料预处理模块:用于对正负极活性材料、电解液以及电池外壳进行预先处理准备;具体包括正负极材料的混合、涂布、干燥、辊压和分切,电解液的精确配制与除水除氧处理,以及电池外壳的清洁与干燥,本发明通过高度自动化、智能化、集成化的模块设计,结合精确到极致的工艺参数控制和严格全面的检测标准,实现了电池生产过程的革命性提升。其核心有益效果在于:生产出具有超高一致性、卓越可靠性、超长循环寿命和顶尖安全性能的电池产品。

标签:
电池生产系统 正负极活性材料
江苏 - 盐城 来源:盐城剑彬新能源科技有限公司 2025-10-27
锂电池电芯、锂电池及车辆

本申请公开了一种锂电池电芯、锂电池及车辆,涉及电池的技术领域,包括设置在电芯厚度方向两侧的低温区域和设置在电芯厚度方向中部的高温区域,低温区域和高温区域均包括叠片层,并通过叠片层组装成电芯,所述低温区域中的所述叠片层中材料采用耐低温体系材料,所述高温区域中的所述叠片层中材料采用耐高温体系材料。本申请通过设置低温区域中的正负极材料组分具有在低温环境中增加充放电性能,同时设置高温区域中的正负极材料组分能够在高温环境中减少寿命损失,以使电池适用于各种气候条件的使用环境。

标签:
锂电池电芯 锂电池
浙江 - 宁波 来源:浙江极氪智能科技有限公司, 威睿电动汽车技术(宁波)有限公司, 浙江吉利控股集团有限公司 2025-10-27
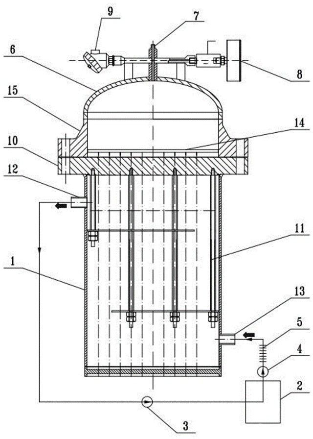
固态储氢罐系统
固态储氢罐系统 224     
 0

本实用新型涉及一种固态储氢罐系统,属于使用气体吸收剂技术领域。该系统包括储氢罐、储水池、第一泵、第二泵和加热器;储氢罐管程顶部设有封头,封头焊接进出气锻管,进出气锻管联接压力表和温度变送计;储氢罐壳程顶部固定管板,管板联接管程筒体法兰,储氢罐内部设置换热管,换热管内填有压缩成饼状的储氢材料,换热管上端通过强度焊加贴胀联接管板;储氢罐壳程壁设有出水口和进水口,出水口连接第一泵,第一泵连接储水池,储水池还连接第二泵,第二泵连接进水口,进水口与第二泵之间安设加热器。

标签:
固态储氢罐 储氢罐
江苏 - 南京 来源:航天晨光股份有限公司 2025-10-23
三氧化钼纳米片及其制备方法和应用

本发明涉及材料技术领域,公开了一种三氧化钼纳米片及其制备方法和应用。所述三氧化钼纳米片的厚度为10~80nm,该三氧化钼纳米片上分布有直径为5~50nm的中孔;其中,所述三氧化钼纳米片的比表面积为100~800m2/g。本发明提供的三氧化钼纳米片结构,具有高比表面积,同时能够暴露更多的活性位点和氧缺陷,从而有利于提升其催化、吸附和气敏性能,进而能良好的应用于气体传感、储能、催化或吸附领域。

标签:
三氧化钼纳米片
北京 - 北京 来源:中国石油化工股份有限公司, 中石化安全工程研究院有限公司 2025-10-20
复合储能铅蓄电池
复合储能铅蓄电池 403     
 0

本实用新型涉及一种复合储能铅蓄电池,属于储能电池技术领域,解决了现有技术电池汇流中输出与输入电流分配不均衡的的问题。本实用新型包括电池芯和电池外壳;电池芯包括汇流排和极板;汇流排包括正极汇流排和负极汇流排;正极汇流排和负极汇流排包括汇流格栅;汇流格栅包括汇流区和多个平行设置的纵向栅筋;纵向栅筋的长度由汇流区中心向两侧逐渐增大;极板设置有多个,每个极板具有多个导电筋条,导电筋条与纵向栅筋连接,连接处形成多个汇集节点。本实用新型能实现汇流时输出与输入电流分配均衡,输电效率高。

标签:
储能铅蓄电池 储能电池技术
浙江 - 湖州 来源:超威电源集团有限公司 2025-10-20
新能源储能电池状态检测方法及系统

本发明涉及电池状态检测的技术领域,具体涉及一种新能源储能电池状态检测方法及系统,该方法包括以下步骤:用户终端发送验证指令;中央平台接收验证指令,并将验证指令透传至电池模组;电池模组接收验证指令后,触发电池物理实体产生瞬时物理响应,并测量瞬时物理响应,获取瞬时物理响应的特征值;电池模组采集电池状态信息;电池模组将特征值作为物理凭证,物理凭证和电池状态信息形成回传数据发送至用户终端;用户终端接收回传数据,并解析出物理凭证;用户终端根据电池模组的型号,获取瞬时物理响应的预期参数;

标签:
新能源储能电池 储能电池检测
广东 - 深圳 来源:自由创新(深圳)能源科技有限公司 2025-10-20
补热型液态二氧化碳储能系统及使用方法

本发明公开了一种补热型液态二氧化碳储能系统及使用方法,属于新型储能技术领域,包括低压液态储罐、相变蓄冷器和高压液态储罐;低压液态储罐通过低温膨胀阀和相变蓄冷器冷侧连接,相变蓄冷器冷侧和高压液态储罐之间连接有储能侧预热器、压缩及热回收模块和储能侧冷却模块;高压液态储罐和低压液态储罐之间连接有增压泵、发电侧回热器、补热模块、透平发电机组、相变蓄冷器热侧、发电侧冷却模块、发电侧集热器和发电侧制冷模块,发电侧回热器和储能侧集热器之间设有压缩热循环热罐、压缩热循环冷罐

标签:
二氧化碳储能系统 储能系统
北京 - 北京 来源:华北电力大学 2025-10-20
钙钛矿薄膜卤素离子的均质化方法及钙钛矿太阳能电池

本公开的提供了一种钙钛矿薄膜卤素离子的均质化方法,方法包括:向N,N‑二甲基甲酰胺中碱金属草酸盐,充分搅拌得到混合均匀的第一溶液;将第一溶液与N‑甲基吡咯烷酮混合,充分搅拌得到混合均匀的第二溶液;将多种钙钛矿前驱体材料依次加入第二溶液中,充分搅拌得到混合均匀的第三溶液,其中,碱金属草酸盐用于多种钙钛矿前驱体材料的添加剂以对卤素离子分布进行靶向调控;将过滤后的第三溶液涂敷于经亲水处理的衬底表面,并通过真空装置抽离膜内残留溶剂后转移至热板干燥结晶,得到卤素均质化分布的钙钛矿薄膜。

标签:
钙钛矿太阳能电池 太阳能电池
北京 - 北京 来源:中国科学院半导体研究所, 厦门丰熤光电科技有限公司 2025-10-17
太阳能电池用金属电极及其制备方法和太阳能电池

本发明涉及太阳能技术领域,公开了一种太阳能电池用金属电极及其制备方法和太阳能电池。该金属电极包括:设于硅基体表面栅线区域的金属种子层(其为银种子层、镍种子层、锆种子层、钛种子层、铬种子层、镍硅合金种子层、铜合金种子层中的至少一种),设于金属种子层表面的贱金属栅线(其为铜栅线、铝栅线中的至少一种),以及设于贱金属栅线表面的磷酸铜保护层(其为磷酸铜层、有机磷酸铜复合物层中的至少一种)。该金属电极经金属种子层、贱金属栅线(如铜栅线)及磷酸铜保护层的配合,既能降低接触电阻、确保界面结合力,又能节省成本,还能提升贱金属栅线的抗腐蚀能力,使该金属电极户外长期使用的稳定性和可靠性得到提升,减缓电池效率衰减。

标签:
金属电极 太阳能电池
江苏 - 泰州 来源:泰州中来光电科技有限公司, 山西中来光能电池科技有限公司 2025-10-17
钙钛矿光活性层及其制备方法、光伏电池

本申请涉及太阳能电池技术领域,尤其涉及一种钙钛矿光活性层及其制备方法、光伏电池。本申请的钙钛矿光活性层的制备方法,包括以下操作:提供自组装单分子材料和钙钛矿前驱体材料;其中,钙钛矿前驱体材料包括有机卤化物和无机卤化物;将自组装单分子材料和无机卤化物进行第一成膜操作,以便形成含有自组装单分子材料的无机盐膜;将有机卤化物在无机盐膜上进行第二成膜操作,以形成有机盐膜;

标签:
钙钛矿光活性层 光伏电池
四川 - 成都 来源:成都晶信明能光伏科技有限公司 2025-10-17
制备硅太阳能电池的方法和太阳能电池

本发明涉及一种制备硅太阳能电池的方法和太阳能电池,该方法包括:将硅基底置于刻蚀液中,在所述硅基底的受光面侧上方设置具有窗口的第一掩膜,对所述硅基底进行第一光诱导刻蚀,在所述硅基底的受光面上形成第一织构化表面;在所述第一织构化表面的上方设置第二掩膜,对所述硅基底进行第二光诱导刻蚀,在所述硅基底的受光面侧形成第二织构化表面,得到制绒后的硅基底。

标签:
硅太阳能电池 太阳能电池
广东 - 深圳 来源:比亚迪股份有限公司 2025-10-17
太阳能电池及其制备方法、光伏组件

本申请涉及光电器件技术领域,具体涉及太阳能电池及其制备方法、光伏组件。本申请的太阳能电池,包括依次层叠设置的栅线电极层、电子传输层、钙钛矿层、空穴传输层和基底;其中,电子传输层为非晶氧化铟镓锌层。本申请的太阳能电池采用非晶氧化铟镓锌层,其具有良好的电子传输能力,并能够降低与钙钛矿层的界面接触电阻;进一步在与其他功能层的协同下,提升太阳能电池的光电性能。

标签:
太阳能电池 光伏组件
四川 - 成都 来源:成都晶信明能光伏科技有限公司 2025-10-17
甲脒钙钛矿活性层制备方法及其钙钛矿太阳能电池

本发明属于甲脒钙钛矿电池技术领域,具体涉及一种甲脒钙钛矿活性层制备方法及其钙钛矿太阳能电池。本发明提供的甲脒钙钛矿太阳能电池,所述甲脒钙钛矿活性层制备时添加3,5,5‑三甲基‑2‑环己烯‑1‑酮添加剂。与现有方法相比,本发明具有以下有益的技术效果:3,5,5‑三甲基‑2‑环己烯‑1‑酮含有羰基等官能团,成相过程中能与溶液中的铅碘八面体之间相互作用,减少有害中间相的产生,形成取向更有序、尺寸更大、质量更优的晶体,提高成膜质量。

标签:
钙钛矿太阳能电池 太阳能电池
湖北 - 武汉 来源:中国长江三峡集团有限公司 2025-10-17
新能源汽车的风能和太阳能发电系统

本发明公开一种新能源汽车的风能和太阳能发电系统,新能源汽车的中央控制器电连接风力发电系统、太阳能发电系统、主电池充电模块、备用电池充电模块和电池管理系统,主电池充电模块与新能源汽车的动力电池电连接,备用电池充电模块与新能源汽车的空调系统电连接。一种新能源汽车的风能和太阳能发电方法,执行以下步骤:若当前光照强度高于第一预设高位光照阈值且环境风速高于第一预设高位风速阈值,则利用风力发电系统进行发电;

标签:
太阳能发电 风能发电
江苏 - 徐州 来源:江苏开沃汽车有限公司 2025-10-17
聚合物电解质膜及其制备方法和应用

本发明涉及电解质膜技术领域,具体公开一种聚合物电解质膜及其制备方法和应用。本发明以预锂化纤维素接枝聚丙烯酸为核心原料,通过恒压差速剪切纤维化与多辊连续差速减薄工艺的结合,制备得到了准固态或半固态无孔聚合物电解质膜。该无孔膜结构有利于电流均匀扩散,促进锂均匀沉积,有效减少锂枝晶的生长,同时显著提升电解质膜的离子传导效率和机械强度。

标签:
聚合物电解质膜 电解质膜技术 电解质膜
江苏 - 宿迁 来源:江苏宏鑫达新能源科技有限公司 2025-10-16
用于固态电池的双层包覆正极材料及其制备方法

本发明公开了一种用于固态电池的双层包覆正极材料及其制备方法,该方法包含:步骤1,非活性气氛下,将锂金属溶解于无水乙醇后加入乙醇铌,搅拌混合得到前驱体溶液;步骤2,向前驱体溶液中加入含锂正极材料,搅拌混合得到悬浊液;前驱体溶液中乙醇铌相对于含锂正极材料的质量含量为1%‑20%;步骤3,加热悬浊液,得到干凝胶;步骤4,煅烧干凝胶,得到铌酸锂单层包覆正极材料;步骤5,将铌酸锂单层包覆正极材料加入前驱体溶液中,单次重复步骤2‑步骤4,得到用于固态电池的铌酸锂双层包覆正极材料。正极表面形成的双层铌酸锂减少了正极与电解质之间的副反应,内外包覆层协同提高正极在充放电过程中的稳定性,显著提高电池的容量和循环稳定性。

标签:
固态电池 正极材料
上海 - 上海 来源:上海空间电源研究所 2025-10-16
全固体电池及全固体电池的制备方法

本发明提供一种改善固体电解质层与电极层的接触状态,即使在全固体电池的使用时不施加压力也能够充放电的全固体电池及其制备方法。作为其手段,使用全固体电池,具有:集电体;设置在集电体上的电极层;和以与电极层接触的方式层叠的固体电解质层,在电极层与固体电解质层的接触界面形成有多个间隙,在间隙中具有电解液。

标签:
全固体电池 固态电池
北京 - 北京 来源:三樱工业株式会社 2025-10-16
原位生成磷酸铁锂的均匀多重包覆的补锂剂及其制备方法与应用

本发明公开了一种原位生成磷酸铁锂的均匀多重包覆的补锂剂及其制备方法与应用,补锂剂采用碳和LiFePO4包覆Li5FeO4形成,补锂剂的结构通式为yC@xLiFePO4@LizFeO4,其中,碳的包覆量y≤补锂剂重量的5%,磷酸铁锂的包覆量x≤补锂剂重量的10%,4.9≤z≤5.5;碳的包覆厚度h设置为0

标签:
磷酸铁锂 补锂剂
广东 - 深圳 来源:深圳市熵极新能源科技有限公司 2025-10-16
硫化物固态电池密封性检测装置及检测方法

本申请涉及电池泄露检测技术领域,提供一种硫化物固态电池密封性检测装置及检测方法。该硫化物固态电池密封性检测装置包括:检测壳体,形成有检测腔,检测腔用于容纳待检测电池;水汽输送件,连接于检测壳体,水汽输送件用于向检测腔内输送水汽;质谱仪,连接于检测壳体,质谱仪用于对检测腔内的气体进行检测,以确定检测腔内的气体是否包含有硫化氢气体。

标签:
固态电池 固态电池密封性检测装置
广东 - 深圳 来源:深圳前海久禾科技发展有限公司 2025-10-16
固态电池极耳的分胶切胶装置

本实用新型涉及一种固态电池极耳的分胶切胶装置,包括分胶固定板、分胶座、裁切上模和裁切下模,所述裁切上模由分切胶气缸驱动升降,两条带胶金属带进入裁切上模和裁切下模之间,所述裁切上模包括上模板、分胶刀片和切胶刀片,所述上模板的中心设有分胶刀片,两侧对称设有切胶刀片,所述分胶刀片通过中刀架固定在上模板上,所述切胶刀片通过边刀架固定在上模板上,所述裁切下模包括下模板和刀垫片,所述下模板对应分胶刀片、切胶刀片分别设有刀垫片。

标签:
固态电池 分胶切胶装置
江苏 - 无锡 来源:江苏九蓝新能源科技有限公司 2025-10-16
固态电池极耳的双片定位装置

本实用新型涉及一种固态电池极耳的双片定位装置,包括定位平台,所述定位平台的顶板上设有固定定位条、活动定位条、固定定位块和活动定位块,所述固定定位条和活动定位条前后平行分布,所述活动定位条可前后移动,所述固定定位条和活动定位条之间的外侧对称设有固定定位块,内侧对称设有活动定位块,两个活动定位块可左右相向移动。

标签:
固态电池 双片定位装置
江苏 - 无锡 来源:江苏九蓝新能源科技有限公司 2025-10-16
用于盐湖提锂的三维互穿网络结构磷酸铁锂活性材料、制备方法及应用

本发明公开了用于盐湖提锂的三维互穿网络结构磷酸铁锂活性材料、制备方法及应用,其中三维互穿网络结构磷酸铁锂活性材料包括三维材料和负载于所述三维材料的磷酸铁锂。本申请用于盐湖提锂的三维互穿网络结构磷酸铁锂活性材料在宏观尺度上具有三维互穿网络结构,其具备三维材料的大比表面积和超高导电性,负载于三维材料上的磷酸铁锂成功减轻了其无序堆积应力,从而确保材料结构的稳定性。

标签:
盐湖提锂 磷酸铁锂活性材料
广东 - 佛山 来源:广东邦普循环科技有限公司, 湖南邦普循环科技有限公司 2025-10-15
锂离子筛及其制备方法和应用

本发明公开了一种锂离子筛及其制备方法和应用。所述锂离子筛的制备方法包括如下步骤:(1)将锂盐、二氧化钛、第一有机酸和水混合均匀得到混合物,在搅拌条件下升温至65~95℃并反应1~6h;(2)随后冷却并加入第二有机酸,继续在65~95℃下反应1~6h;(3)重复步骤(2)的操作1~2次后,将反应物转移并蒸干溶剂,得到干胶,将干胶焙烧后降至室温,得到锂离子筛前驱体;(4)将锂离子筛前驱体进行多次酸洗,即制备得到所述锂离子筛。本发明制备的锂离子筛具有优异的循环稳定性,经过6次吸附‑解吸循环后,容量衰减率仅为15.97%。

标签:
锂离子筛 锂离子筛制备
湖北 - 荆门 来源:荆楚理工学院 2025-10-15
上一页 1 2 3 4 5 ... 500 ... 2000 ... 2182 下一页
共2182页    到第

中冶有色为您提供最新的有色金属新能源材料技术理论与应用信息,涵盖发明专利、权利要求、说明书、技术领域、背景技术、实用新型内容及具体实施方式等有色技术内容。打造最具专业性的有色金属技术理论与应用平台!

全国热门有色金属设备推荐
展开更多 +
全国热门有色金属技术推荐
展开更多 +

 

江西省隆恩特环保设备有限公司
宣传

报名参会
更多+

报告下载

有色专家
更多+

矿冶科技集团有限公司工程公司
副总经理
江西理工大学
副处长/教授
赣州有色冶金研究所有限公司
副主任/高级工程师
有研资源环境技术研究院(北京)有限公司
副总经理/教授级高工
中铝检测科技(郑州)有限公司/国家轻金属质量检验检测中心
正高级工程师
赤泥综合利用研究报告2025
推广

热门技术
更多+

推荐企业
更多+

福建省金龙稀土股份有限公司
宣传

发布

在线客服

公众号

电话

顶部
咨询电话:
010-88793500-807