青岛垚鑫智能科技有限公司
宣传

位置:中冶有色 >

有色技术频道 >

分类:
全部
矿山技术
冶金技术
材料制备及加工技术
环境保护技术
分析检测技术
 
全部
废水处理技术
大气治理技术
固/危废处置技术
土壤修复技术
地区:
全部
北京
天津
上海
重庆
河北
山西
辽宁
吉林
黑龙江
江苏
浙江
安徽
福建
江西
山东
河南
湖北
湖南
广东
海南
四川
贵州
云南
陕西
甘肃
青海
内蒙
广西
西藏
宁夏
新疆
其他
其他
展开
 
全部
南京
无锡
徐州
常州
苏州
南通
连云港
淮安
盐城
扬州
镇江
泰州
宿迁

江苏有色金属环境保护技术理论与应用

免费发布技术信息>>
废水池清渣设备
废水池清渣设备 743     
 0

本实用新型涉及一种废水池清渣设备,包括机架、储渣桶、支撑底座、集灰斗、输渣管和驱动气缸,所述机架底部设置有升降装置,所述升降装置顶端固连于支撑底座,所述支撑底座上方安装有储渣桶,所述机架一侧通过铰接装置与竖向设置的输渣管的中上部活动连接,所述输渣管底部连通设置集灰斗,所述输渣管顶部与驱动气缸的伸缩杆铰接。本实用新型的主要用途是提供一种结构简单可靠,操作方便,可以大大降低人工劳动强度,省时省力,提高清渣效率的废水池清渣设备。

标签:
废水处理
江苏 - 常州 来源:中冶有色网 2023-03-19
含镍废水在线回收水资源及提取金属镍资源新工艺

一种含镍废水在线回收水资源及提取金属镍资源新工艺,包括LPRO循环、HPRO浓缩、IE树脂提浓和电积阶段:LPRO循环:将废水通入RO膜组件进行半循环过滤处理得到净水和膜浓水;HPRO浓缩:将所述的LPRO循环得到的膜浓水通入浓缩装置进行浓缩处理;IE树脂提浓:经浓缩段处理后得到的膜浓水进入离子交换树脂,将镍离子吸附于树脂表面,然后用硫酸将镍离子循环解析出来形成硫酸镍溶液;电积:将所述硫酸镍溶液通入电积装置,使溶液中的镍离子在阴极上沉积出来,形成金属镍板。本发明的回收新工艺的综合水循环利用率高达95%以上,重金属危废污泥减量99%,并可以提取到纯度为99%的金属镍板。

标签:
废水处理
江苏 - 无锡 来源:中冶有色网 2023-03-19
快速评价污废水处理用有机填料生物亲和性的方法

本发明公开了一种快速评价污废水处理用有机填料生物亲和性的方法,属于水处理技术领域。本发明的步骤为:一、制备填料基质芯片;二、制备测试用水样;三、将填料基质芯片置于石英晶体微天平中,通入测试用水样,检测填料基质芯片在不同倍频条件下的频率数据;四、采用Sauerbrey模型拟合得到填料基质芯片表面吸附层质量随时间的变化规律,比较填料基质芯片表面最大吸附层质量拟合值,判定不同测试用水样条件下有机填料的生物亲和性高低。本发明采用对界面变化敏感的石英晶体微天平监测污水或废水中溶解性污染物在不同有机填料基质表面的微观沉积,快速判定填料的生物亲和性,样品用量少,稳定性好,易于量化。

标签:
废水处理
江苏 - 南京 来源:中冶有色网 2023-03-19
石油化工废水的深度处理工艺

本发明公开了石油化工废水的深度处理工艺,以改性淀粉、碳酸硅、氢氧化铝、聚合硫酸铁、聚硅硫酸铝、方解石粉、蛋白石粉、次氯酸钠、聚合氯化铝钙、氢氧化钠片碱、冰醋酸、3‑氧代‑1‑环戊烷羧酸、乙醇钾、毛果芸香碱、助凝剂配制成复合处理剂,配合相应的吸附、处理剂处理、厌氧处理、光催化氧化、次氯酸钠氧化、曝气、电絮凝和电气浮等水处理工艺,使得经处理后的废水COD、含油量、苯并芘含量、色度均显著降低,能够满足环保达标的要求,具有较好的应用前景。

标签:
废水处理
江苏 - 镇江 来源:中冶有色网 2023-03-19
不锈钢酸洗废水金属络合剂

本发明公开了一种不锈钢酸洗废水金属络合剂,包括如下质量份的组分:二乙醇胺1~2份、二烯丙基二甲基氯化铵2~5份、二乙烯三胺五羧酸盐0.5~1份、活性炭2~5份、聚丙烯酰胺1~3份、壳聚糖2~3份、二氧化硅1~2份。本发明的制备方法简单,操作方便,成本低廉,金属络合剂中含有硅藻土、高岭土来源广泛,具有很好的去除不锈钢酸洗废水中金属离子的效果。

标签:
废水处理
江苏 - 苏州 来源:中冶有色网 2023-03-19
用于机械零件表面处理的电镀废水高效处理剂

本发明公开了一种用于机械零件表面处理的电镀废水高效处理剂,其特征在于:包括以下质量份的各组分:消石灰10‑20份、黏土15‑30份、纳米四氧化三铁15‑18份、羧甲基淀粉钠15‑18份、聚合氯化铝5‑8份、竹炭粉10‑12份、聚丙烯酰胺3‑5份、反硝化细菌2‑6份、绿脓杆菌6‑15份。本发明的用于机械零件表面处理的电镀废水高效处理剂,包括消石灰、黏土、纳米四氧化三铁、羧甲基淀粉钠、聚合氯化铝、竹炭粉、聚丙烯酰胺、反硝化细菌、绿脓杆菌;所采用的原料易得,多采用天然原料,成本低廉,且不会对环境造成二次污染,同时,增加反硝化细菌和绿脓杆菌,减少处理后水中的细菌,达到排放要求。

标签:
废水处理
江苏 - 南通 来源:中冶有色网 2023-03-19
基于染料废水处理过程中的絮凝剂进料装置

本发明公开了一种基于染料废水处理过程中的絮凝剂进料装置,包括处理箱,处理箱下方设有向左倾斜的导流板,所述导流板板面上方设有进水管,导流板上方设有进料箱,进料箱下平面左侧设有出料口,导流板上端连接出料口的右侧,出料口右侧设有弹簧连接进料箱的上平面与下平面,弹簧右侧设有加药管,所述加药管左侧设有出药口,进料箱下平面上设有封板封住出药口,处理箱下方设有向右倾斜的挡流板,挡流板的最高点高于导流板的最低点,挡流板右侧设有2‑4道卡槽,卡槽上设有滤网,所述滤网上端伸出处理箱外,所述处理箱右侧下方设有出水口,本发明采用弹簧装置,根据水流大小决定药剂的多少,结构科学,安全简单,絮凝剂自动进料,废水处理速度快。

标签:
废水处理
江苏 - 南京 来源:中冶有色网 2023-03-19
切削液废水的零排放处理工艺

本发明涉及一种切削液废水的处理工艺,属于水处理技术领域。本工艺可以实现切削液废水的金属成分、切削液的再回收利用,并且有助于减轻陶瓷膜表面的有机‑无机复合污染层的形成、提高膜通量。

标签:
废水处理
江苏 - 南京 来源:中冶有色网 2023-03-19
对羟基苯甲腈生产废水固废制造定向缓释型驱虫基肥

对羟基苯甲腈生产废水固废制造定向缓释型驱虫基肥:选择符合要求远离居民点下风空地,建造200000m2的能控制0.00Pa负压紫外线处理排气的全封闭车间地面的环氧防腐地坪上,在地坪上铺垫80cm的无重金属污染的稻草和玉米与小麦秸秆的质量比为1∶1∶1,1‑2百吨,平铺污水处理厂污泥制低热值无烟煤合成(发明专利号ZL201410286804.2)的低热值无烟煤产品粉末烧结黑炭1‑3百吨荡平,放置平均厚度在20到30cm高度的各种动物畜禽粪便,在平铺1‑2百吨,加入含对羟基苯甲腈生产废水与对羟基苯甲腈生产产生的含氨硫磷的固废比例80‑50%,按1∶1质量混合物,在发酵固废肥料混合物上安装塑料大棚,当大棚发酵肥料里面的温度在1‑2个月内开始下降后移除大棚,按需要装袋运输到需要施用到田间测土配肥,作非食用驱虫类型的盆栽花卉公园道路林植物的杀虫缓释基肥底肥培肥追肥营养土,改良土壤使用作驱虫地埋基肥底肥。

标签:
废水处理
江苏 - 淮安 来源:中冶有色网 2023-03-19
IFBR-HAF-A/OBR处理化工废水组合工艺

本发明提供了IFBR‑HAF‑A/OBR处理化工废水组合工艺,包括调节池、改进型芬顿流化床、脱气中和池、混凝沉淀池、复合厌氧反应器和厌氧/好氧折流板反应器;各单元经水管依次连接,对化工废水进行处理。本发明工艺优化,路线清晰简洁;整体COD去除率≥95%,有机特征污染物的去除率≥95%,运行管理方便,工艺稳定,投资运行费用低。

标签:
废水处理
江苏 - 盐城 来源:中冶有色网 2023-03-19
高效去除废水中磷的复合材料、其制备方法及其用途

本发明涉及一种高效去除废水中磷的复合材料、其制备方法及其用途,该复合材料是以贝壳类废弃物和农作物秸秆的混合物为原料,在无氧条件下高温热裂解,得到炭质材料。将该炭质材料投加到含磷废水中,经过吸附磷酸盐、沉淀、分离,得到负载磷酸盐的炭质材料,再应用于污染土壤中重金属吸附和钝化。本发明充分利用贝壳类和秸秆废弃物资源,通过高温热裂解后获得比仅以各原料单独热裂解或简单复配更好磷吸附效果的混合物热裂解炭,回收得到的富磷炭材料可用作重金属污染土壤改良剂,制备过程绿色环保,无污染。

标签:
废水处理
江苏 - 南京 来源:中冶有色网 2023-03-19
用于焦化废水生化出水深度处理的混凝剂

本发明涉及一种净水剂,是一种用于焦化废水生化出水深度处理的混凝剂,由凝聚吸附剂和助凝剂两部分组成;凝聚吸附剂按重量百分比包括以下组分:聚合氯化铝5-20%,固体聚合硫酸铁30-60%,聚硅硫酸铁10-40%,改性硅藻土10-40%;助凝剂由1%双氰胺-甲醛聚合物溶液构成。本发明的混凝剂具有凝聚与吸附的双重效果,可有效去除生化出水中COD、色度等,使出水稳定达到国家一级排放标准,并且用量小,降低了焦化废水深度处理的成本。

标签:
废水处理
江苏 - 南京 来源:中冶有色网 2023-03-19
化学强化MBR深度处理印染废水的方法

本发明公开了一种化学强化MBR深度处理印染废水的方法,针对经过处理达到二级排放标准的印染废水尾水,包括以下步骤:原水由进水泵打入搅拌区,在搅拌机10的作用下与加药泵打入的混凝剂和缓污剂混合,然后溢流进入缓冲区强化絮体的形成,再从缓冲区的底部进入MBR区,去除尾水中的COD、SS、色度、氨氮等,膜出水达到或优于《城市污水再生利用城市杂用水水质》(GB/T?18920-2002)中的水质要求,达标排放或回用。本方法将混凝技术和MBR技术组成一体式的反应器,保证了出水稳定达到再生水回用要求,而且占地面积较小;投加的混凝剂和缓污剂大大改善了污泥性质,膜污染得到了有效控制;膜组件运行更加稳定,清洗周期延长;整个系统可以实现自动化控制。

标签:
废水处理
江苏 - 无锡 来源:中冶有色网 2023-03-19
新型化工废水处理工艺

本发明提供了一种新型化工废水处理工艺,该工艺包括调节池、改进型芬顿流化床、脱气中和池、混凝沉淀池、上流式厌氧污泥床和CASS反应器;各单元经水管依次连接,对化工废水进行处理。本发明工艺优化,路线清晰简洁;整体COD去除率≥95%,有机特征污染物的去除率≥95%,运行管理方便,工艺稳定,投资运行费用低。

标签:
废水处理
江苏 - 盐城 来源:中冶有色网 2023-03-19
人工湿地辅助曝气酶解处理含氟废水系统

本发明公开了一种人工湿地辅助曝气酶解处理含氟废水系统,其特征是,包括箱体、湿地植物、布水系统、集水装置、填充基质、承托层组成,所述承托层设置于填充基质底部,所述集水装置设置于承托层底部,所述布水系统设置于填充基质的上方,所述填充基质为砂砾和含铝污泥的混合物,所述填充基质中部设置曝气盘,所述曝气盘连接曝气泵,所述布水系统连接酶解装置;本发明所述一种人工湿地辅助曝气酶解处理含氟废水系统在含铝污泥吸附、基质表面微生物及植物吸收的协同作用下,污水中的污染物和氟离子得到有效去除,出水中各类污染物的含量均达到了在地表水环境质量标准中规定的Ⅱ类水质标准,而且人工湿地本身相对于其他工艺方法具有更多优势。

标签:
废水处理
江苏 - 南京 来源:中冶有色网 2023-03-19
三级沉降废水处理装置
三级沉降废水处理装置 1119     
 0

本发明公开了一种三级沉降废水处理装置,包括依次设置的预处理机构、第一辅助机构、三级沉降机构、试剂处理机构、砂滤器、碳滤器、第二辅助机构和反渗透器,三级沉降机构包括第一沉降器、第二沉降器和第三沉降器,第一沉降器包括第一沉降箱、第一沉降板和同素异形体管,第一沉降板沿竖直方向上下交错设置,同素异形体管竖直连接于第一沉降板上;第二沉降器包括第二沉降箱、第二污泥滞留网、第二塑料层板、第二沉降板和第二鼓风机;第三沉降器包括第三沉降箱、第三塑料层板、第三沉降板和第三鼓风机。本发明结构紧凑合理,废水经过预处理、三级沉降、砂滤、碳滤和反渗透过滤后将废料和有害物质去除,有效降低对环境的污染,更加环保。

标签:
废水处理
江苏 - 苏州 来源:中冶有色网 2023-03-19
去除废水中汞离子吸附材料的制备方法

本发明涉及一种去除废水中汞离子吸附材料的制备方法,属于吸附材料制备技术领域。本发明首先将柚子皮切块,再经延胡索酸浸泡后,使其腐烂发霉,并用生活污水对其进行淋洒,通过微生物作用,使柚子皮的吸附容量增大,再与N‑羟乙基乙二胺进行熬煮,使柚子皮内部附着有多羟基与氨基的极性物质,最后再与含有易与汞离子络合的基团的巯基丙酰甘氨酸反应,使柚子皮中的有机物形成三维网状结构,并且与汞离子易于形成稳定的螯合物,最后再经冷冻干燥即可得到去除废水中汞离子吸附材料,本发明制备的汞离子吸附材料具有高比表面积和吸附容量,对汞离子去除率高,汞的去除率高达99.9%以上,达到国家一级排放标准。

标签:
废水处理
江苏 - 常州 来源:中冶有色网 2023-03-19
马铃薯淀粉废水回收利用的方法

本发明涉及一种利用马铃薯淀粉加工分离汁水制备细菌纤维素的方法。本发明利用马铃薯淀粉加工分离汁水为培养基原料,根据废水中的化学组成类别及含量,复配一定比例的碳源、氮源和无机盐,经灭菌冷却后调整培养基pH值,然后接入一定比例的木葡糖酸醋杆菌,通过动态或者静态的方式发酵制备得到细菌纤维素。该方法创造性地以马铃薯淀粉加工分离汁水为培养基制备细菌纤维素,细菌纤维素是一种安全、健康的高纤维原料,具有较好的应用价值,而马铃薯淀粉加工分离汁水是马铃薯淀粉加工中处理难度和成本均较高的废水,本发明的实施为马铃薯淀粉加工企业提供一条切实可行的资源有效利用途径,同时能够促进企业可持续发展。

标签:
废水处理
江苏 - 镇江 来源:中冶有色网 2023-03-19
用于餐余废水的油脂回收装置

本发明涉及餐余污水处理技术领域,且公开了一种用于餐余废水的油脂回收装置,包括固液分离箱体、箱盖、搅拌分离组件和进水管,所述固液分离箱体与油水分离箱体相连接,所述油水分离箱体的外部设置有动力组件,所述动力组件用于驱动油水分离组件逆时针转动,所述油水分离组件没入到油水一端的深度由压头控制组件调节控制。该用于餐余废水的油脂回收装置通过设置油水分离齿形带、动力组件、压头控制组件、油脂刮离组件和压头定速启动开关,电动伸缩推杆定速下移,在油水分离齿形带没进油水临界区域时,油水分离齿形带仅与油脂层接触,从而极大的加快了油水分离组件将油脂层向外撇出的效率,耗时更短,撇出的油脂层油脂纯度更高。

标签:
废水处理
江苏 - 南通 来源:中冶有色网 2023-03-19
用于降解废水中生物毒性的系统和方法

本发明公开了一种用于降解废水中生物毒性的系统和方法,该系统包括储存系统、收集罐、电化学反应系统、缓冲罐和生化处理系统,其中,所述电化学反应系统包括电化学反应器和PLC控制设备;所述电化学反应器包括进水口、出水口、布水室、出水室、溢流口和若干反应室,所述反应室内设有电极,部分所述电极为Ti/Ru系电极,余下所述电极为Ti/Ir电极,所述Ti/Ru系电极和所述Ti/Ir电极分别与PLC控制设备连接,通过PLC控制设备控制两个电极在电化学反应时进行阴阳极的切换运行。本发明处理杀菌剂废水效果好,全程自动化操作,有效解决了现有技术处理效率低、运行成本高、产生固废及VOCs污染的不足。

标签:
废水处理
江苏 - 徐州 来源:中冶有色网 2023-03-19
含硫废水催化氧化处理方法

本发明公开一种含硫废水催化氧化处理方法,本发明的处理方法如下:首先,将含硫废水与双氧水经混合器混合;然后,进入催化反应器进行催化反应。本发明工艺简单,操作方便,催化效果好,无二次污染,催化剂可多次重复使用,处理后的水也可以回用于生产。

标签:
废水处理
江苏 - 苏州 来源:中冶有色网 2023-03-19
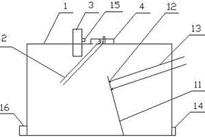
染料废水深度处理装置
染料废水深度处理装置 1086     
 0

本发明涉及一种染料废水深度处理装置,包括调节池、吸附池和沉淀池;吸附池包括混合区和分离区,混合区底部设有吸附池进水管,吸附池进水管连通调节池出水管,混合区中上部设有用于添加吸附剂的吸附剂添加计量器,在搅拌区中部设置有搅拌器;所述分离区内设有挡板,该挡板与吸附池的内壁形成作为废水进入分离区的水流通道,分离区的出口处设有吸附池三相分离器,分离区的出口上部设有吸附池溢水堰,吸附池溢水堰连通吸附池出水管;分离区底部设计成锥形结构,在锥形结构底部设置有吸附池沉淀物排放阀。

标签:
废水处理
江苏 - 常州 来源:中冶有色网 2023-03-19
利用含糖废水发酵制氢的污水生物反应装置及其工艺

本发明公开了一种利用含糖废水发酵制氢的污水生物反应装置,包括反应器,所述反应器内通过上下设置的第一隔板和第二隔板将反应器自上而下依次分为进水排气单元、反应单元和出水单元三部分,所述反应器上位于进水排气单元的顶部设置有排气口,所述反应器上位于进水排气单元的侧壁上设置有进水口,所述反应器上位于出水单元的侧壁上设置有出水口,所述反应器上位于出水单元的底部设置有排泥口,所述第一隔板和第二隔板之间填充有聚氯乙烯填料;本发明采用下流式反应装置处理高浓度有机废水,同时厌氧生物发酵产生氢气。

标签:
废水处理
江苏 - 南京 来源:中冶有色网 2023-03-19
纳米银水溶胶的制备方法及染料废水的处理方法

本发明公开了一种纳米银水溶胶的制备方法,包括如下步骤:在持续搅拌下,将浓度为1.7~5.1g/L硝酸银溶液加入浓度为5g/L的绿原酸溶液中进行反应,并用浓度为4.0g/L的氢氧化钠溶液调节pH值至6~9,制得所述纳米银水溶胶,所述纳米银水溶胶的制备方法生产工艺绿色环保,所得产物纳米银水溶胶的粒径集中、无团聚现象。本发明还提供了一种染料废水的处理方法,向染料废水中加入还原剂溶液进行反应,同时加入上述纳米银水溶胶,其中,加入的所述纳米银水溶胶和所述还原剂溶液的体积比为1:0.5~2,操作简单,反应条件温和,降低了生产成本。

标签:
废水处理
江苏 - 苏州 来源:中冶有色网 2023-03-19
银和石墨烯共修饰TiO2纳米线的制备方法与光催化降解废水中污染物的作用

本发明提供一种银和石墨烯共修饰TiO2纳米线的制备方法与光催化降解废水中污染物的作用,该制备方法包括如下步骤:TiO2纳米线的制备、石墨烯修饰TiO2纳米线的制备和银和石墨烯共修饰TiO2纳米线的制备。本发明提供的银和石墨烯共修饰TiO2纳米线有效地拓宽其在可见光的吸收范围,并且提高了其光电子转移的效率,降低光生电子和空穴的复合几率,具有光降解能力好、吸附容量大、物理化学性能稳定等优点,且制备条件温和,快速易得,可广泛用于废水污染物的降解。

标签:
废水处理
江苏 - 南京 来源:中冶有色网 2023-03-19
用于去除强酸性废水中重金属阳离子的吡啶胺类螯合树脂及其制备方法

本发明公开了一种用于去除强酸性废水中重金属阳离子的吡啶胺类螯合树脂及其制备方法,属于水处理领域;本发明的吡啶胺类螯合树脂,其结构单元如下:其中,x表示邻甲基吡啶胺结构的单元数,x≥1,n表示树脂大分子骨架的结构单元数,800≤n≤5000,R1表示H或烷基链CH3;本发明所适用的重金属阳离子,包括Cd(II)、Ni(II)、Cu(II)、Zn(II)、Co(II)等;本发明提供的吡啶胺类螯合树脂制备原料来源广泛、成本低廉,合成步骤简单,易于规模化生产。

标签:
废水处理
江苏 - 南京 来源:中冶有色网 2023-03-19
上流式厌氧污泥塔及废水脱氧预处理方法

本发明公开了一种上流式厌氧污泥塔及废水脱氧预处理方法,包括主体和设置在主体底部的进水口与出水口,所述主体的顶部设有排气口,所述主体内自下而上设有反应区、三相分离区和气室,所述三相分离区包括自下而上设置的回流缝、沉淀区和气封,所述主体通过进水口连通有脱氧室,所述进水口内设有水泵,所述脱氧室外周上设有保温层,所述脱氧室的一侧还设有废水口,所述脱氧室的上方通过第一引流管连通有燃烧室,所述排气口的一侧开设有第一开口,所述第一开口通过第二引流管与燃烧室连通,所述燃烧室的一侧开设有第二开口,所述第二开口通过第三引流管与保温层连通。本发明提供的上流式厌氧污泥塔的操作简单、成本低廉、使用寿命长。

标签:
废水处理
江苏 - 无锡 来源:中冶有色网 2023-03-19
磁性树脂废水处理反应器及其使用方法

本发明公开了一种磁性树脂高效分散与分离的废水处理反应器及其使用方法,属于基于磁性树脂吸附的废水处理设备领域。本发明包括均匀布水装置、稳流组件、磁滚筒分离装置和出水堰板,其中,所述均匀布水装置为“工”字型同程布水装置,位于反应器底部,所述稳流组件固定于反应器中部,所述出水堰板设于反应器顶部边缘上,所述磁滚筒分离装置紧贴于出水堰板设在反应器顶部。与常规的磁性树脂水处理系统一体化反应器相比,该反应器极大的降低了反应器高度,减轻水泵压力,节省能耗,节约占地面积,操作简便。本发明实现在磁性树脂一体水处理系统中磁性树脂的高效分散与分离,使磁性树脂水处理技术更加高效率,低成本,可规模化使用。

标签:
废水处理
江苏 - 南京 来源:中冶有色网 2023-03-19
含阴离子染料废水的处理装置

本发明公开一种含阴离子染料废水的处理装置,壳体顶部为敞口,敞口下面的壳体侧壁上设置一个阴离子染料废水的污水注入口;在壳体中且于污水注入口下部设有第一筛板,第一筛板上面铺设有石灰石颗粒,第一筛板下部均匀分布有从壳体外部伸入壳体内的曝气头,曝气头通入锅炉烟气;曝气头下部设有第二筛板,第二筛板上铺设有三水铝石颗粒,第二筛板下部是敞口的锥形筒,锥形筒上部的大端与壳体内壁相接,在相接处的壳体壁上均匀分布若干个排水管,锥形筒小端和壳体底部相接,有排泥口连通锥形筒小端和壳体外部;本发明采用廉价的石灰石和三水铝石作为原料,结构简单,能有效去除含阴离子型染料,同时净化锅炉烟气,减少环境污染。

标签:
废水处理
江苏 - 常州 来源:中冶有色网 2023-03-19
碱减量废水的膜法处理工艺

本发明涉及一种碱减量废水的膜法处理工艺,属于水处理技术领域。包括如下步骤:对碱减量废水进行微滤处理,对得到的微滤渗透液进行碱析后,送入超滤膜进行浓缩,将浓缩液进行酸析后,滤出对苯二甲酸,超滤膜的渗透液返回碱减量工艺回用。本工艺对于碱减量工艺产生的难以生化降解的对苯二甲酸钠等采用陶瓷膜浓缩分离,实现碱回收,并回收其中有再利用价值的对苯二甲酸。

标签:
废水处理
江苏 - 南京 来源:中冶有色网 2023-03-19
上一页 691 692 693 694 695 ... 971 下一页
共971页    到第

中冶有色为您提供最新的江苏有色金属环境保护技术理论与应用信息,涵盖发明专利、权利要求、说明书、技术领域、背景技术、实用新型内容及具体实施方式等有色技术内容。打造最具专业性的有色金属技术理论与应用平台!

全国热门有色金属设备推荐
展开更多 +
全国热门有色金属技术推荐
展开更多 +

 

江西省隆恩特环保设备有限公司
宣传

报名参会
更多+

2025年10月15日 ~ 17日
2025年10月17日 ~ 19日
2025年10月31日 ~ 11月02日
2025年11月07日 ~ 09日

报告下载

有色专家
更多+

郑州大学
校长/党委书记
北京科技大学
主任/教授
昆明理工大学
校长
石家庄铁道大学
团委书记/副教授
西安建筑科技大学
教授
赤泥综合利用研究报告2025
推广

热门技术
更多+

推荐企业
更多+

福建省金龙稀土股份有限公司
宣传

发布

在线客服

公众号

电话

顶部
咨询电话:
010-88793500-807