青岛垚鑫智能科技有限公司
宣传

位置:中冶有色 >

有色技术频道 >

分类:
全部
矿山技术
冶金技术
材料制备及加工技术
环境保护技术
分析检测技术
 
全部
废水处理技术
大气治理技术
固/危废处置技术
土壤修复技术
地区:
全部
北京
天津
上海
重庆
河北
山西
辽宁
吉林
黑龙江
江苏
浙江
安徽
福建
江西
山东
河南
湖北
湖南
广东
海南
四川
贵州
云南
陕西
甘肃
青海
内蒙
广西
西藏
宁夏
新疆
其他
其他
展开
 
全部
南京
无锡
徐州
常州
苏州
南通
连云港
淮安
盐城
扬州
镇江
泰州
宿迁

江苏有色金属环境保护技术理论与应用

免费发布技术信息>>
利用虫拟蜡菌菌体去除废水中蒽醌类化合物工艺技术

本发明公开了利用虫拟蜡菌菌体去除废水中蒽醌类化合物工艺技术,涉及生物工程领域。即利用虫拟蜡菌作为出发菌株,经过液体摇瓶培养、液体菌体扩大培养、获得虫拟蜡菌菌体,利用该菌体去除废水中蒽醌类化合物的工艺。采用此工艺技术蒽醌类化合物去除率可以达到70~100%。

标签:
废水处理
江苏 - 镇江 来源:中冶有色网 2023-03-19
废水高效净化杀菌装置

本发明公开了一种废水高效净化杀菌装置,其包括净化箱,净化箱的顶部中心设置有开口,开口顶部设置有支撑座,支撑座内垂直连接有旋转管,旋转管的侧面下段设置有若干喷水口,旋转管的底端设置有一弧形喷嘴;净化箱的顶部于支撑座的两侧均设置有进水口,两进水口内均对应设置有一弧形引水槽,两引水槽的底端相连通,两引水槽的底面均设置有若干出水孔;净化箱位于引水槽的下方由上至下依次水平设置有两个滤槽,两滤槽之间的空间形成磁性活化腔,磁性活化腔中水平设置有多组磁棒。本发明具有很好的初步净化杀菌效果,能够高效将废水中的细微杂质祛除干净,且该装置重在成本低廉,结构简单,且净化效果很好。

标签:
废水处理
江苏 - 苏州 来源:中冶有色网 2023-03-19
煤焦化高盐废水资源化处理工艺

本发明是一种煤焦化高盐废水资源化处理工艺,包括:(1)除氟;(2)除硅;(3)除硬;(4)多介质过滤器;(5)超滤;(6)树脂软化;(7)FDG;(8)纳滤分盐;(9)反渗透浓缩;(10)高级氧化;(11)树脂吸附;(12)蒸发结晶。本发明的优点:采用预处理+纳滤分盐+反渗透浓缩+高级氧化+蒸发结晶的工艺,实现了煤焦化高盐废水的零排放与分质资源化利用。

标签:
废水处理
江苏 - 无锡 来源:中冶有色网 2023-03-19
煤焦化废水除CODS专用树脂再生装置

本实用新型提供一种煤焦化废水除CODS专用树脂再生装置,包括:外釜体、内釜体、4个容量瓶、2个pH计、传感器和电辅助加热装置;其中外釜体竖直放置地面,下端设有一油相进料口;内釜体设置于外釜体内,并位于外釜体的中轴线上,与外釜体形成上下两个密闭的空腔,内釜体的上端和下端都设有液相出料口,而且内釜体的上端和下端还分别设有物料进料口和物料出料口;容量瓶,设置于内釜体的两侧,分别装有酸性、碱性、NaCl和纯水溶液,pH计,分别与内釜体上端、下端的液相出料口相连,用于实时测量釜内出水pH值的变化;电辅助加热装置设置于外釜体下方空腔中。本实用新型的焦化废水除CODS专用树脂再生装置具备操作简单、针对性强的优势。

标签:
废水处理
江苏 - 无锡 来源:中冶有色网 2023-03-19
用于处理土壤修复中化学淋洗废水的悬浮式光催化反应器

本实用新型涉及一种用于处理土壤修复中化学淋洗废水的悬浮式光催化反应器,包括悬浮基座、螺旋桨以及蓄电池和人工光源,所述的悬浮基座内安装电机、用于控制悬浮基座方向的方向控制器以及用于控制电机和人工光源工作的无线遥控收发器,悬浮基座的两侧分别安装有螺旋桨,螺旋桨的主轴与电机的输出轴连接,螺旋桨的主轴安装可拆卸有两个以上的叶片,且叶片上具有光催化剂涂层,悬浮基座上安装有带防水保护罩的人工光源,蓄电池接电机的电源端及人工光源。本实用新型体积小,使用灵活方便,适用性强,可用于土壤修复中化学淋洗法产生的大面积高浓度的有机污染淋洗废水的处理场所。

标签:
废水处理
江苏 - 常州 来源:中冶有色网 2023-03-19
用于铅蓄电池的重金属含盐废水处理装置

本实用新型涉及一种用于铅蓄电池的重金属含盐废水处理装置,具有依次管路连接的预热单元、一效蒸发单元、二效蒸发单元、强制循环蒸发单元以及气流烘干机,所述的预热单元前设有调碱罐和调酸罐,调碱罐与调酸罐之间设有压滤机和超滤膜,调酸罐与预热单元之间设有进料泵,离心机后方设有母液罐和母液泵,母液泵管路连接有高位冷冻罐。本实用新型采用了两效降膜蒸发加强制循环三级蒸发,蒸发采用先进的MVR两效降膜三级强制工艺,高浓缩倍数料液经冷冻析出结晶体,废水原液先经过调碱处理,再经过压滤机及超滤膜去除游离钙镁及重金属后进行调酸处理而获得较佳的pH值,整个处理过程比传统的蒸发工艺更稳定、更节能,同时产品硫酸钠能符合国家标准。

标签:
废水处理
江苏 - 常州 来源:中冶有色网 2023-03-19
废水回收网孔式散温装置

本实用新型公开了一种废水回收网孔式散温装置,包括收集水箱、散热板和过滤网板,所述收集水箱左侧上端固定有挡水板,侧板中部焊接有弧形的散热板,固定杆两侧固定在收集水箱侧壁上,散热板上端设置有散热板安装板,分散板上端固定在顶板上,过滤网板下端固定有倾斜的隔板,且隔板上端与分散板下端连接,隔板右侧的收集水箱的右侧板上固定有废料口,收集水箱下端左侧开设有排水口。该废水回收网孔式散温装置,在收集水箱内部设置用于散热的弧形散热板,有效的将水体进行散热,并且在散热板上开设凹槽,增加散热面积,提高散热效果,采用在散热板上方固定分散板,将水体分散开来,对水体的有效散热。

标签:
废水处理
江苏 - 常州 来源:中冶有色网 2023-03-19
电子产品加工用废水处理装置

本实用新型公开了一种电子产品加工用废水处理装置,包括支撑架,支撑架上安装有上滤筒,上滤筒顶部中心设置有进水口,上滤筒底部通过拆卸组件活动套接有下滤筒,下滤筒内部底面中心设置有过滤网,下滤筒底面中心开设有出水口,进水口中活动设置有刮料组件,刮料组件包括通过转动轴承设置在进水口中心的传动轴以及设置在传动轴底部的刮片,传动轴上位于进水口正下方位置处设置有叶轮,刮片底面与过滤网上表面相贴合,本实用新型通过刮料组件的设置,实现对过滤网表面进行清理,有效避免了沉淀物黏附在过滤网上导致过滤网堵塞,从而影响废水处理进程,同时本实用新型大大方便人们对过滤网进行维护更换。

标签:
废水处理
江苏 - 盐城 来源:中冶有色网 2023-03-19
用于处理废水的热泵式低温蒸发设备

本实用新型公开了一种用于处理废水的热泵式低温蒸发设备,包括蒸馏罐、热交换装置和抽吸装置,蒸馏罐具有罐体、将罐体内腔分隔成上腔及下腔的消泡装置和与下腔相连通的进废水管路;热交换装置具有热泵压缩机、装于下腔中的第一热交换器和装于上腔中的第二热交换器,热泵压缩机、第一和二热交换器依次连接共同构成供热媒或者冷媒介质流通的循环通路;抽吸装置具有储水容器、与上腔连通的出水管路及抽吸机构,抽吸机构能够驱动储水容器内的水循环流动,并借此将罐体内腔中的气体或者冷凝水抽吸出来;储水容器的排水口上还连接有排水管路。该热泵式低温蒸发设备集蒸发和冷凝处理于一体,简化了处理工艺,降低了生产成本,提高了工作效率和出水水质。

标签:
废水处理
江苏 - 苏州 来源:中冶有色网 2023-03-19
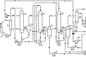
氢氟酸与硝酸混合废水脱氮除氟处理装置

一种氢氟酸与硝酸混合废水脱氮除氟处理装置,它包括中和反应箱(1)、预热器(7)、一效蒸发器(9)、一效分离器(10)、二效蒸发器(12)、二效分离器(15)、三效蒸发器(16)和三效分离器(19),其特征是所述的中和反应箱(1)的上部安装有中和药剂干粉计量箱(3)、搅拌机(4)和pH计(5)并管道与提升泵(6)相连,提升泵(6)出口通过管道与预热器(7)进口相连;所述的二效蒸发器(12)设有搅拌机(13)、分离器(15)、循环泵(14),晶浆出料泵(27),所述的蒸发器(16)设有搅拌机(17)、三效分离器(19)、循环泵(18)。本实用新型具有结构紧凑,运行维护简便,废水实现零排放的优点。

标签:
废水处理
江苏 - 南京 来源:中冶有色网 2023-03-19
涂料废水滤布滤池
涂料废水滤布滤池 720     
 0

本实用新型公开了一种涂料废水滤布滤池,涉及滤池技术领域。该涂料废水滤布滤池包括池体、设于池体内的滤盘和设于滤盘上的滤布,滤盘通过转轴连接在池体内,转轴两端均设有滑动块,池体上设有滑动槽,滑动块垂直方向滑移连接在池体上的滑动槽内,转轴一端设有用于驱动转轴旋转的驱动电机,池体上设有用于带动滑动块和转轴沿滑动槽方向升降的升降机构,本实用新型能够在更换滤布时将滤布整体抬升至水面以上,方便操作人员对滤布进行更换,不需要停机并将滤池中的水排出来完成滤布的更换和清洗,整体操作较为简单,操作效率更高。

标签:
废水处理
江苏 - 无锡 来源:中冶有色网 2023-03-19
自动监测废水收集装置

本实用新型公开了一种自动监测废水收集装置,包括收集罐、进水斗和排水管,所述收集罐顶部表面一侧安装有进水斗,所述收集罐底部表面安装有排水管,所述收集罐内腔底部两侧均安装有底座,所述底座顶部表面安装有压力传感器,所述收集罐外壁表面安装有控制机构,所述收集罐顶部表面另一侧安装有增压泵,所述收集罐内腔顶部表面安装有金属环管,且金属环管输入端通过导管与增压泵输出端相连,本实用新型通过压力传感器和触摸一体机相互配合,可便于工作人员读取收集罐内废液收集量,并且蜂鸣器又能能够起到警示作用,通过增压泵和金属环管相互配合,可对收集罐内壁表面进行清洗,降低了后续使用收集罐盛放废水时的实验准确性。

标签:
废水处理
江苏 - 镇江 来源:中冶有色网 2023-03-19
印染行业废水处理系统
印染行业废水处理系统 1015     
 0

本实用新型涉及一种印染行业废水处理系统,主要包括中和反应池、气浮装置、缺氧池、好氧池、二沉池及污泥池;所述中和反应池、气浮装置、缺氧池、好氧池、二沉池及污泥池依次设置,在中和反应池内设置有调节池,在缺氧池与好氧池之间设置有污泥回流管路;所述调节池内嵌在中和反应池内,在中和反应池内设置有一对中和反应池内的PH值进行检测的在线PH检测仪,所述中和反应池内的水通过潜水泵泵入缺氧池内;所述好氧池的底端布置有微孔曝气器,好氧池内的污泥通过污泥回流泵泵送至缺氧池内。本实用新型的优点在于:采用“厌氧+好氧”的复合污水处理工艺,有效增强前处理工艺的处理效率,保证前处理的处理效果和废水的达标排放。

标签:
废水处理
江苏 - 南通 来源:中冶有色网 2023-03-19
微电解与强氧化相结合的废水处理装置

本实用新型公开了一种微电解与强氧化相结合的废水处理装置,包括微电解主体罐,微电解主体罐下部设有进水口,微电解主体罐上部设有出水口,进水口通过进水管延伸至微电解主体罐内,进水管的下方布置有曝气管,曝气管的管路上设有若干个曝气头,进水管的上方设有多孔隙垫层,多孔隙垫层的上方填充有铁碳陶粒填料,铁碳陶粒填料的上方设有上层挡板,上层挡板均匀设有若干通孔,微电解主体罐设有加药管,加药管连接有加药控制系统,加药控制系统包括药剂储罐、加药泵和控制阀,药剂储罐设有液位计,加药泵和控制阀安装于药剂储罐与加药管之间的管路上。本实用新型将微电解与强氧化相结合,提高了废水处理的效率,能有效防止填料或悬浮物堵住出水口。

标签:
废水处理
江苏 - 无锡 来源:中冶有色网 2023-03-19
酸洗废水处理系统
酸洗废水处理系统 888     
 0

一种酸洗废水处理系统,包括调节混合反应槽、中和反应槽、氧化槽、絮凝反应槽、离子交换树脂塔、生物炭反应器、砂滤器;所述调节混合反应槽一端连接调节池,调节混合反应槽的另一端通过废水提升泵连接中和反应槽的一端,中和反应槽的另一类连接氧化槽的一端,氧化槽另一端连接絮凝反应槽的一端,絮凝反应槽的另一端连接离子交换树脂塔的一端,离子交换树脂塔的另一端通过增压泵连通生物炭反应器的一端,生物炭反应器的另一端连接砂滤器。本实用新型工艺流程简洁,故障率低,运行稳定可靠,处理能力强,设计负荷大,效率高,占地面积小。

标签:
废水处理
江苏 - 无锡 来源:中冶有色网 2023-03-19
废水处理过程中重金属除污泥装置

本发明公开了一种废水处理过程中重金属除污泥装置,具体涉及废水处理领域,包括壳体、底座和电机,所述电机的两侧位于壳体的顶部开设有第一进料口和第二进料口,所述第二进料口的底部固定安装有搅拌装置组件,所述搅拌装置组件的外部固定连接有清洁装置组件,所述清洁装置组件的顶端位于壳体内腔的左侧开设有进液口。本发明通过设有顶部搅拌叶和底部搅拌叶,通过底部搅拌叶可以将污泥进行初步搅拌,待壳体底部的污泥初步搅拌后,污泥水上浮,再通过顶部搅拌叶充分进行搅拌,从而解决了氨水浸渍速率较慢的问题,同时通过第一传动轴和第二刷板,可以将壳体内部的残留物进行去除,从而提高工作效率。

标签:
废水处理
江苏 - 无锡 来源:中冶有色网 2023-03-19
基于太阳能的废水利用和烟气的减排系统

一种基于太阳能的废水利用和烟气的减排系统,单效蒸发池通过水蒸气管路与高效缠绕式换热器的通道A‑A的入口连接;太阳能光伏发电板与蓄电池组和单效蒸发池内的加热管连接;液体团聚室的内部有双流体雾化喷嘴和湿度传感器,液体团聚室的室壁设有烟气入口,其底部路与湍流团聚器的入口连接;湍流团聚器的出口路与静电除尘回收装置的入口连接;高温干燥烟气管道的出气端通过膨胀阀与高效缠绕式换热器的通道B‑B的入口连接,高效缠绕式换热器的通道B‑B的出口与烟气入口连接;空压机与双流体雾化喷嘴的进气口连接,双流体雾化喷嘴的进液口通过节流阀与高效缠绕式换热器的通道A‑A的出口连接。该系统能提高烟气中细颗粒的脱除效果,能降低废水处理中的能耗。

标签:
废水处理
江苏 - 徐州 来源:中冶有色网 2023-03-19
大型全封闭式气浮设备及其在粘胶纤维废水处理中的应用

本发明公开了一种大型全封闭式气浮设备及其在粘胶纤维废水处理中的应用,主要包括压力溶气系统、空气释放系统和气浮分离设备;压力溶气系统主要包括气浮溶气泵、气浮溶气罐、气浮空压机;空气释放系统主要包括溶气释放器和溶气水管,气浮分离设备主要包括气浮池,气浮池从左到右依次为气浮接触室、气浮分离室和气浮清水区;气浮接触室前端依次连接有气浮絮凝池、气浮混合池,气浮分离室上方设有链板式刮渣机,气浮分离室内靠近气浮清水区的一侧上部设有气浮渣槽,气浮分离室内下底面设有多组污泥斗。本发明的设备主要应用于处理粘胶纤维废水,具有高处理量(320m3/h以上)、高效、耐腐蚀、安全环保等优点,具有潜在的应用前景。

标签:
废水处理
江苏 - 南京 来源:中冶有色网 2023-03-19
化工园区废水废气智能管控系统及控制方法

本发明涉及一种化工园区废水废气智能管控系统及控制方法,包括环境监控设备,所述环境监控设备用于对园区环境进行监控,并将监控数据上传至监控中心服务器;数据库,所述数据库用于存储所述上传的监控数据;监控中心服务器,所述监控中心服务器用于接收环境监控设备上传的监控数据,并将监控数据存储至数据库;通过对所述监控数据运算分析,对园区环境进行预警报警,实现对园区环境的智能化管控。本发明自动化程度高;集中管控、精确可控,显著提升了化工园区企业废水废气排放的规范性,同时又能够很好的掌握园区的环境质量。

标签:
废水处理
江苏 - 南京 来源:中冶有色网 2023-03-19
可移动式智能废水处理设备

本发明公开了一种可移动式智能废水处理设备,属于水处理技术领域,其中一种可移动式智能废水处理设备,通过在底座的上面安装了移动装置,并且在移动装置的上面安装了承托板将微电解反应柱、臭氧催化反应柱和活性炭吸附反应固定牢靠,在移动装置上面设置行走轮增加了设备的机动性能,占地面积小,在偏远的地区、企业、自然灾害场所、环境污染突发事件中具有很高的应该价值,对地下水有机污染方面都有很好的利用前景,本设备装置较小,可以实现在移动装置上的固定,可以灵活的移动,并且设置了发电装置,可以实现野外条件下的运行。

标签:
废水处理
江苏 - 南京 来源:中冶有色网 2023-03-19
含甲苯类废水的预处理工艺

本发明涉及一种含甲苯类废水的预处理工艺,所述工艺的具体步骤为:首先,将含甲苯类废水打至调节池,并向调节池中加入一定量固定配比的石墨粉废铁屑;接着,将静置后的调节池水送入催化氧化反应釜,并向反应釜中加入浓度30%的H2O2;再将催化氧化反应釜的水送入中和沉淀池,加碱液进行中和,沉淀,过滤,污泥输送至物化污泥浓缩池;最后,将沉淀后的水排入生化调节池,进行后续处理。本发明的优点在于:污水处理难度低且利于污水的后期处理。

标签:
废水处理
江苏 - 南通 来源:中冶有色网 2023-03-19
高效处理印染废水的技术

本发明在于提供一种印染废水处理新技术。本发明采用的是一种介于超滤和反渗透之间的纳滤技术,其所用的过滤膜孔隙处于纳米数量级范围,其滤膜材料包括:聚醚砜(PES)合金膜、聚醚砜(PES)中空纤维复合膜。通过纳滤处理过的印染废水,透过膜后的溶液几乎无色,染料截留率>95%,COD去除率>99%,而且可以脱盐,盐的回收率达90%以上。

标签:
废水处理
江苏 - 苏州 来源:中冶有色网 2023-03-19
化学实验室自动废水处理装置

本发明公开了一种化学实验室自动废水处理装置,其结构包括机体、进水口、出水口、底座和过滤层,本发明的一种化学实验室自动废水处理装置,当过滤工作结束后,可以通过控制面板开启电动推杆和电控阀,电动推杆带动刷板向前移动,刷毛将赃物前推通过电控阀推出,解决了不具备能够更好的将过滤后残留的赃物进行清除的功能,导致过滤后的残留赃物清除困难的问题,当机体内部发生堵塞时,压力传感器能够通过控制面板前端的显示屏展示压力信息,可以通过控制面板开启电动推杆将减压板向外推动,污水则可以从污水出口流出机体,解决了不具备能在处理装置发生堵塞时进行对机体内部减压的功能,导致机体内部容易因为水压较大而损坏的问题。

标签:
废水处理
江苏 - 泰州 来源:中冶有色网 2023-03-19
氧化镍-钴酸镍-黑二氧化钛复合物光催化还原处理含六价铬废水的方法

本发明涉及一种氧化镍‑钴酸镍‑黑二氧化钛复合物光催化还原处理含六价铬废水的方法,先制备黑色二氧化钛,取六水合硝酸钴、六水合硝酸镍、黑二氧化钛,将其溶解在适量去离子水,磁力搅拌形成均匀的溶液,向其中添加适量聚乙烯吡咯烷酮(PVP,K30),然后将悬浮液搅拌磁力搅拌器至少1小时。将尿素分散到悬浮液中,将粉末研碎于管式炉中500度空气中煅烧两小时得到氧化镍‑钴酸镍‑黑二氧化钛复合物。将氧化镍‑钴酸镍‑黑二氧化钛复合物加入含六价铬废水中。以一定的时间间隔取出混合物,并立即过滤,通过紫外可见分光光度计根据1,5‑二苯卡巴肼法在540nm处进行测定处理后的六价铬浓度并计算去除率。该发明具有去除率高、处理成本低且环境友好等优点。

标签:
废水处理
江苏 - 扬州 来源:中冶有色网 2023-03-19
纺织印染废水净化一体机

本发明属于污水处理技术领域,具体的说是一种纺织印染废水净化一体机,包括机箱和设置在机箱顶部的污水进口,还包括过滤单元、除臭单元、缓冲单元、驱动单元、生物过滤池和控制器,所述控制器用于控制废水净化一体机的工作;所述机箱的内部从上至下依次设置有过滤单元、除臭单元和缓冲单元;通过搅拌管、扇形气囊和挡板间的配合,实现了两个相邻的挡板可以不断合起和分开,可以增加污水的流动速度,同时可以将喷出的臭氧气泡进一步挤压破碎,进一步臭氧与污水充分的接触,大大提高除臭效果。

标签:
废水处理
江苏 - 无锡 来源:中冶有色网 2023-03-19
短波长无极紫外光净化废水/纯水装置和方法

本发明公开了一种短波长无极紫外光净化废水/纯水装置和方法,包括无极紫外灯、石英套管、内筒体、外筒体,石英套管、内筒体、外筒体从内向外依次套装在无极紫外灯上,在石英套管和内筒体之间形成降解水腔,在内筒体和外筒体之间形成冷却水腔,无极紫外灯包括内电极和外电极,在内电极和外电极之间形成密闭的气体填充区,在气体填充区内填充惰性气体与卤素气体的混合气体或者惰性气体与汞蒸汽的混合气体。本发明的装置操作简单、去除率高,循环净化、紫外灯寿命长、能量利用率高、不仅可以直接光解多种低浓度难降解废水,而且可以净化纯水,使之满足特种行业的超纯水要求、净化效果好、应用范围广,可以实现产业化的装置。

标签:
废水处理
江苏 - 常州 来源:中冶有色网 2023-03-19
用于电镀废水吸附处理的吸附剂的制备方法

本发明涉及一种用于电镀废水吸附处理的吸附剂的制备方法,该吸附剂的原料按重量份包括如下组分:FCC废催化剂60‑80份、麦饭石粉18‑24份、纳米四氧化三铁16‑20份、醋酸钾5‑7份、聚合氯化铝6‑10份、竹炭粉10‑12份和聚丙烯酰胺3‑5份;其中,FCC废催化剂是由催化裂化废催化剂和烟道气中的废催化剂细粉混合而成的,且催化裂化废催化剂和烟道气中的废催化剂细粉的质量比为2.3‑3.1:1。本发明的优点在于:本发明在混合制备吸附剂的过程中,各原料组分之间能够相互促进和相互配合,协同发挥吸附作用,最终使得制得的吸附剂能够同时吸附电镀废水中的重金属离子和有机化合物等有害物质,而且吸附效果好、吸附效率高、成本低且吸附稳定。

标签:
废水处理
江苏 - 南通 来源:中冶有色网 2023-03-19
IFBR-EGSB-SBR处理化工废水的组合工艺

本发明提供了IFBR‑EGSB‑SBR处理化工废水的组合工艺,该组合工艺包括调节池、改进型芬顿流化床、脱气中和池、混凝沉淀池、厌氧膨胀颗粒床和SBR反应器;各单元经水管依次连接,对化工废水进行处理。本发明工艺优化,路线清晰简洁;整体COD去除率≥95%,有机特征污染物的去除率≥95%,运行管理方便,工艺稳定,投资运行费用低。

标签:
废水处理
江苏 - 盐城 来源:中冶有色网 2023-03-19
用于重金属废水处理的吸附剂及其制备方法

本发明公开了一种用于重金属废水处理的吸附剂及其制备方法。先将硅藻土表面酸化处理去除杂质,再以聚多巴胺为氮源、ZnCl2为活化剂,对预处理硅藻土进行高温氮掺杂炭化扩孔,通过设计反应升温曲线控制多孔材料的孔道分布以及比表面积大小,经过酸洗、过滤、烘干、研磨过筛得到多级孔氮掺杂硅藻土,再将该材料与MOFs前驱体溶液混合,通过溶剂热法制备MOFs/多级孔氮掺杂硅藻土吸附剂。本发明制备的吸附剂通过硅藻土氮掺杂、高温活化炭化以及金属‑有机骨架材料接枝,使其具有较高的氨基、羟基和羧基基团和比表面积,这些活性官能团能对重金属离子有较强的吸附性能,可广泛用于重金属废水处理。

标签:
废水处理
江苏 - 无锡 来源:中冶有色网 2023-03-19
铜绿假单胞菌及其菌剂和在有机氮废水生物强化降解中的应用

本发明公开了一株铜绿假单胞菌及其菌剂和在有机氮废水生物强化降解中的应用,该菌株为铜绿假单胞菌(Pseudomonas aeruginosa),菌株名为PC‑2,于2022年7月18日保藏于中国微生物菌种保藏管理委员会普通微生物中心,菌种保藏号为:CGMCC NO.25343。本发明的菌株不仅可高效快速降解有机氮废水,也可用于修复有机氮生产污染的水体等自然环境,可高效快速去除水体中该类有机氮的残留量。

标签:
废水处理
江苏 - 南京 来源:中冶有色网 2023-03-19
上一页 692 693 694 695 696 ... 971 下一页
共971页    到第

中冶有色为您提供最新的江苏有色金属环境保护技术理论与应用信息,涵盖发明专利、权利要求、说明书、技术领域、背景技术、实用新型内容及具体实施方式等有色技术内容。打造最具专业性的有色金属技术理论与应用平台!

全国热门有色金属设备推荐
展开更多 +
全国热门有色金属技术推荐
展开更多 +

 

江西省隆恩特环保设备有限公司
宣传

报名参会
更多+

2025年10月15日 ~ 17日
2025年10月17日 ~ 19日
2025年10月31日 ~ 11月02日
2025年11月07日 ~ 09日

报告下载

有色专家
更多+

鞍钢集团有限公司
中国工程院院士
北京科技大学
主任/教授
江西理工大学
教授
中冶沈勘秦皇岛工程技术有限公司
原矿山院院长/教授级高工
江西省科学院应用化学研究所
副主任/副研究员
赤泥综合利用研究报告2025
推广

热门技术
更多+

推荐企业
更多+

福建省金龙稀土股份有限公司
宣传

发布

在线客服

公众号

电话

顶部
咨询电话:
010-88793500-807