青岛垚鑫智能科技有限公司
宣传

位置:中冶有色 >

有色技术频道 >

> 复合材料技术

分类:
全部
矿山技术
冶金技术
材料制备及加工技术
环境保护技术
分析检测技术
 
全部
功能材料技术
复合材料技术
新能源材料技术
合金材料技术
加工技术
地区:
全部
北京
天津
上海
重庆
河北
山西
辽宁
吉林
黑龙江
江苏
浙江
安徽
福建
江西
山东
河南
湖北
湖南
广东
海南
四川
贵州
云南
陕西
甘肃
青海
内蒙
广西
西藏
宁夏
新疆
其他
其他
展开
 
全部

有色金属复合材料技术理论与应用

免费发布技术信息>>
复合材料锚具及其生产工艺

本发明公开一种应用于建筑领域的锚具及其生产工艺,该锚具包括锚片、锚套,由纤维增强复合材料制成。纤维增强复合材料可以是玻璃纤维增强复合材料、或炭纤维增强复合材料、或芳纶纤维增强复合材料,其结构可以是单向连续纤维增强复合材料、含夹杂复合材料、层状复合材料、蜂窝夹心板壳、编织复合材料或功能梯度复合材料。锚片的数量根据需要可以选择三片或四片。其制作工艺为:将多根纤维浸胶后,在张力控制下以螺旋缠绕的线型缠绕到芯模上,缠绕速度在100~200M/MIN之间,缠绕角度为12°~70°,经固化、脱模后获得制品,锚片内表面通过绫卷加工出防滑螺纹。和金属材料相比这种复合材料锚具具有高强度、抗腐蚀、抗疲劳、密度小、不导电、不导热、不易损坏的优点,是建筑领域内取代金属锚具的替代品。

标签:
复合材料
广东 - 深圳 来源:中冶有色网 2023-03-18
复合材料货车车厢结构

本发明公开了一种复合材料货车车厢结构,主要包括侧立柱、前挡板、下层栏板、中层和上层仓栏、后门、顶部撑杆、地板、T字形接头、十字形接头、三向接头、直角接头、铰链、“加强筋+立柱”连接件、“加强筋+立柱+加强筋”连接件;其特征在于:侧立柱安装在货车底盘上;前挡板、下层栏板、中层和上层仓栏、后门、顶部撑杆等部件通过T字形接头、十字形接头、三向接头、直角接头、铰链、“加强筋+立柱”连接件、“加强筋+立柱+加强筋”连接件等金属接头与侧立柱连接起来;地板通过沉头螺栓与货车底盘连接。本发明的优点是:该复合材料货车车厢在满足强度的前提下,减轻车厢重量,对节能减排、提高运输效率有积极作用。

标签:
复合材料
江西 - 南昌 来源:中冶有色网 2023-03-18
纤维强化复合材料及其制造方法

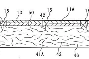
提供能够提高第1复合材料层与第2复合材料层的密合强度的纤维强化复合材料及其制造方法。所述纤维强化复合材料具备:具有纤维基材(14)和第1热塑性树脂的第1复合材料层(11A),纤维基材(14)被配置为第1强化纤维(12)并丝而成的强化纤维束(13)进行交叉,所述第1热塑性树脂至少浸渗于各强化纤维束(13)中;和第2复合材料层(41A),其在第2热塑性树脂(46)内不规则排列有第2强化纤维(42)。纤维强化复合材料(1)是第1复合材料层(11A)和第2复合材料层(41A)接合而成的。在第1复合材料层(11A)的表面之中至少与第2复合材料层(41A)接合的表面形成有多个孔(15)。第2强化纤维(42)和第2热塑性树脂(46)进入各孔(15)中。

标签:
复合材料
其他 - 其他 来源:中冶有色网 2023-03-18
模块化复合材料车厢
模块化复合材料车厢 802     
 0

本实用新型提供了一种模块化复合材料车厢,所述车厢由前板、顶板、底板、左侧板、右侧板和后门相互装配连接而成,所述前板、顶板、底板、左侧板和右侧板均采用聚氨酯蜂窝复合材料,所述聚氨酯蜂窝复合材料包括依次设置的聚氨酯薄膜层、第一连续玻璃纤维复合材料层、PC蜂窝纸层和第二连续玻璃纤维复合材料层,所述PC蜂窝纸层在所述第一连续玻璃纤维复合材料层和第二连续玻璃纤维复合材料层之间呈水平间隔设置,在所述第二连续玻璃纤维复合材料层表面形成波浪形凸起。该模块化复合材料车厢只有一层该蜂窝纸复合材料加强板组成,无内外板之分,无焊接等工艺,且具有结构简单、稳定牢固、保温性能好等优点。

标签:
复合材料
上海 - 上海 来源:中冶有色网 2023-03-18
维修保养便利的复合材料车门

本发明涉及一种维修保养便利的复合材料车门,其包括复合材料车门内板总成和复合材料车门外板总成,其中,该复合材料车门内板总成具有封闭的车门附件区域,该车门附件区域集成有车门附件安装点结构,车门附件通过车门附件安装点结构安装在该复合材料车门内板总成上,复合材料车门外板总成可拆卸地安装固定在复合材料车门内板总成上以使得车门附件介于复合材料车门内板总成和复合材料车门外板总成之间。根据本发明的维修保养便利的复合材料车门,通过将复合材料车门外板总成从复合材料车门内板总成上拆卸下来,即可方便便利地维修保养车门系统内侧的车门附件。同样,若复合材料车门外板总成损坏至不能使用时,直接更换复合材料车门外板总成即可。

标签:
复合材料
上海 - 上海 来源:中冶有色网 2023-03-18
硼酸镁晶须与碳化硅粒子增强铝基复合材料及制备方法

本发明涉及新材料技术领域,具体地说是涉及一种硼酸镁晶须与碳化硅粒子混杂双相增强铝基复合材料及制备方法。本发明硼酸镁晶须与碳化硅粒子增强铝基复合材料体积分数配比:硼酸镁晶须3%(体积分数);碳化硅粒子3%(体积分数);余量为铝合金。本发明的制备方法是:混合性增强体的制备;搅拌铸造法制备混杂型铝基复合材料铸锭;热挤压锭坯。本发明的有益效果:本发明通过合理的设计工艺制备了硼酸镁晶须和碳化硅粒子混杂双相增强的铝基复合材料,改善了碳化硅粒子在制备过程中沉降现象严重的问题,提高了晶须在复合材料中的分散性,晶须和粒子在复合材料中起到了协同增强效应,有效地提高了铝基复合材料的力学性能。

标签:
复合材料
青海 - 西宁 来源:中冶有色网 2023-03-18
耐汽油玻纤增强无卤阻燃sPS复合材料及其制备方法

本发明公开了一种耐汽油玻纤增强无卤阻燃sPS复合材料及其制备方法。所述sPS复合材料由以下配比的原料按重量百分比配制而成:20~40%sPS、20~40%PA66、10~30%玻纤、6~13%无卤阻燃剂、2~8%增韧剂、2~8%相容剂、0.2~0.8%偶联剂、0.2~0.6%抗氧剂和0.4~0.8%润滑剂。本发明复合材料具有以下优点:PA66具有优异的耐汽油性能和耐热性能,其加入可以大大改善sPS耐汽油性的同时,对sPS的耐热性影响不大,拓展其使用范围;通过POE-g-MAH改善sPS复合材料的微观均一性和POE本身具有的优异耐汽油性能,改善sPS复合材料耐汽油性能;采用sPS-g-MAH提高sPS树脂与PA66树脂以及sPS树脂与玻纤的界面结合,改善sPS复合材料界面均一性,提高复合材料的耐汽油性能。

标签:
复合材料
广东 - 广州 来源:中冶有色网 2023-03-18
C/C或C/SiC复合材料与金属的真空活性钎焊工艺

本发明公开了属于异质材料连接技术领域的一种C/SiC或C/C复合材料与金属的真空活性钎焊工艺。其工艺过程为:分别对复合材料、被焊金属、活性钎料进行预处理后将活性钎料置于被焊复合材料与金属之间,垂直施加封接压力,然后将待焊工件置于真空钎焊炉内进行真空焊接。当复合材料与金属热膨胀系数差较大时,采用在双层钎料中间夹放金属过渡层来缓解封接应力。本发明具有如下特点:(1)对复合材料进行高温、真空热处理,避免了真空焊接时复合材料挥发物影响焊料封接质量;(2)活性钎料与复合材料直接发生物理化学反应,气密性好;(3)通过过渡金属塑性变形释放封接应力,连接强度高。

标签:
复合材料
北京 - 北京 来源:中冶有色网 2023-03-18
丁基橡胶离聚物纳米复合材料

本发明涉及纳米复合材料,包括:A.丁基橡胶离聚物,包括从至少一种异烯烃单体衍生的多个重复单元、由至少一种多烯烃单体衍生的至少3.5MOL%的多个重复单元以及至少一种基于氮或磷的亲核体;B.对丁基橡胶离聚物插层的高长径比填充剂。本发明还涉及制备该纳米复合材料的方法,包括:A.提供溴化的丁基橡胶聚合物;B.加入改性剂;C.加入高长径比填充剂;D.将上述物质混合以形成未固化的纳米复合材料,其包括由该填充剂插层的丁基橡胶离聚物;E.将纳米复合材料固化。本发明的纳米复合材料与使用常规溴化丁基橡胶以先有技术生产的纳米复合材料相比,展现了改进的不渗透性和拉伸特性。本发明的纳米复合材料用于例如轮胎内衬。

标签:
复合材料
其他 - 其他 来源:中冶有色网 2023-03-18
复合材料梁腹板
复合材料梁腹板 820     
 0

本发明涉及飞机连接结构件设计,特别涉及一种复合材料梁腹板。一种复合材料梁腹板,包括:呈板状的复合材料腹板本体,且所述复合材料腹板本体上开设有第一安装孔;呈板状的复合材料补片本体,固定贴合在所述复合材料腹板本体上,且所述复合材料补片本体上与所述第一安装孔对应位置处开设有与所述第一安装孔大小相同的第二安装孔;至少两条复合材料立筋,固定设置在所述复合材料补片本体的背向所述复合材料腹板本体的一侧面,且均匀分布在所述第二安装孔两侧。本发明的复合材料梁腹板,通过复合材料补片本体和复合材料腹板本体的连接,克服了补强范围小的问题,且便于梁的组合装配。

标签:
复合材料
陕西 - 西安 来源:中冶有色网 2023-03-18
复合材料板与金属连接件的连接结构及连接方法

本发明提供一种复合材料板与金属连接件的连接结构及连接方法,连接结构包括复合材料板与金属连接件,复合材料板与金属连接件连接;金属连接件的连接面上沿复合材料板的边长设有第一燕尾槽和第二燕尾槽;复合材料板包括芯材、第一复合材料蒙皮、第二复合材料蒙皮、第一复合材料嵌件、第二复合材料嵌件;复合材料蒙皮的边缘沿燕尾槽内侧壁面伸入并铺至燕尾槽内底面,燕尾槽与复合材料蒙皮之间的区域填充复合材料嵌件;芯材的边缘嵌入燕尾槽之间的区域。本发明复合材料板与金属连接件通过嵌入式连接结构辅以真空辅助成型形成整体,克服了复合材料与金属材料螺栓连接或二次粘接所造成的局部应力集中、连接强度低等问题,且可保证连接结构密封效果。

标签:
复合材料
北京 - 北京 来源:中冶有色网 2023-03-18
高阻尼5083Al/Ti复合材料及其制备方法

本发明公开了一种高阻尼5083Al/Ti复合材料。该钛基复合材料增强相为5083铝合金,基体为多孔纯钛块(由纯钛粉烧结获得),造孔剂为NH4HCO3颗粒,增强相在基体中的含量为16%‑48%;该复合材料通过造孔烧结后熔渗获得,多孔纯钛烧结温度为1050℃,保温1‑2小时后取出多孔纯钛空冷,然后将5083铝合金放置于熔炼炉内,加热至800℃,使铝合金全部熔化,再将多孔纯钛放入熔炼炉内,在800℃下保温2小时,随后将试样取出空冷,获得5083Al/Ti复合材料;本发明制备的5083Al/Ti复合材料具有优异的阻尼性能,在30℃‑200℃温度范围内,该复合材料阻尼性能均比其基体材料有大幅提高;30℃时5083Al/Ti复合材料的内耗值比其基体内耗值提高了220%‑750%,200℃时内耗值比其基体内耗值提高了190%‑380%。

标签:
复合材料
广西 - 桂林 来源:中冶有色网 2023-03-18
WP/Al复合材料与Al2O3陶瓷的焊接方法

本发明提供一种Wp/Al复合材料与Al2O3陶瓷的焊接方法,包括以下步骤:(1)将Wp/Al复合材料表面打磨、除油、见光,用去离子水洗涤;(2)将处理后的Wp/Al复合材料放入浸锌液中进行浸锌预处理;(3)采用磁控溅射法在Wp/Al复合材料表面溅射厚度为0.5~2μm的金属沉积层;(4)将表面镀有Au层的Al2O3陶瓷、Au-Sn焊料和步骤(2)中得到的具有金属沉积层的Wp/Al复合材料依次叠放,一并放入真空烧结炉中进行真空焊接,焊接温度为310~350℃,保温时间为3~10min,然后降温至50℃以下出炉。本发明有效解决了高体积分数的Wp/Al复合材料与钎焊料润湿性不好的问题,焊接后复合材料与Al2O3陶瓷形成了有效焊接。

标签:
复合材料
北京 - 北京 来源:中冶有色网 2023-03-18
尼龙复合材料涂装前的表面处理方法

一种尼龙复合材料涂装前的表面处理方法包括如下步骤:提供一尼龙复合材料;将一含氧化剂的处理液应用于该尼龙复合材料表面;清洗该尼龙复合材料。其中,所述的氧化剂包括高锰酸盐、铬酸盐、氯酸盐或过氧化氢。本发明还提供一种采用上述表面处理方法处理所得之尼龙复合材料。本发明采用化学方法对尼龙复合材料表面进行处理,使其表面被轻微刻蚀,从而解决现有技术中尼龙复合材料表面涂层附着力低、处理工艺复杂的问题。

标签:
复合材料
广东 - 深圳 来源:中冶有色网 2023-03-18
弹性复合材料结构
弹性复合材料结构 1153     
 0

本发明涉及一种弹性复合材料结构,该弹性复合材料结构准备在二维或三维产品的制造中用作一个柔性的、易弯的薄膜结构,具体是用于针对切割、穿刺和/或类似情形而提供机械保护。所述复合材料结构首先包括一个弹性体系统(1),该弹性体系统至少由一种PUR(聚氨酯类树脂)、PUD(聚氨酯类分散体)、SI(硅酮)为基础的弹性体材料和/或类似物构成,其次所述复合材料结构还包括一种机械上耐用的加固件系统(2),比如由一种或多种柔性混合纱线制成的一个织物、机织或针织结构(2a)、由层压薄片(y)和/或类似物制成的一个定向排列的薄片加固结构(2c)。本发明也涉及一种弹性复合材料结构,其准备用于上述的应用并包括一个加固系统(2)用于对所述复合材料同样地加固来机械地对抗切割、穿刺和/或类似情况。在这方面,所述复合材料结构的加固系统(2)被制成薄片加固组合物,包括硬的有机和/或无机的组件(y)并包括至少一个共同层压的硬聚合物层和一个整体应用并与之接触的弹性体基质(2;2b)。

标签:
复合材料
其他 - 其他 来源:中冶有色网 2023-03-18
高分子复合材料腔体滤波器的制备方法

本发明公开一种高分子复合材料腔体滤波器的制备方法,采用含有增强材料的高分子基复合材料制备成高分子滤波器腔体;采用含有增强材料的高分子基复合材料制作高分子复合材料盖板;采用含有增强材料的高分子基复合材料为原料经过注塑成型为高分子复合材料谐振柱;将高分子复合材料腔体、高分子复合材料盖板和高分子复合材料谐振柱通过化学镀或电镀工艺进行表面金属化,使其具有表面导电层;将高分子复合材料谐振柱紧固于高分子复合材料腔体上,在高分子复合材料盖板上安装调谐螺杆,得到高分子复合材料腔体滤波器。本发明所述的轻量化高分子复合材料腔体滤波器具有重量轻,生产工艺简单,降低了生产制造成本,并且极大地提高了产品的性能。

标签:
复合材料
江苏 - 苏州 来源:中冶有色网 2023-03-18
环氧树脂/碳纤维复合材料及其制备方法

本发明公开了一种环氧树脂/碳纤维复合材料及其制备方法,属于碳纤维增强材料领域。该环氧树脂/碳纤维复合材料中包括硅橡胶,该硅橡胶同时与环氧树脂和碳纤维交联在一起。本发明通过向复合材料中加入硅橡胶,使硅橡胶同时与环氧树脂和碳纤维交联在一起,制备得到环氧树脂、碳纤维和硅橡胶相容性较好的复合材料。通过在该复合材料中加入硅橡胶,能够有效降低该复合材料的界面应力,并同时提高其强度,其冲击强度相比常规的不含有硅橡胶的环氧树脂/碳纤维复合材料提高了30-45%。

标签:
复合材料
安徽 - 芜湖 来源:中冶有色网 2023-03-18
低熔点金属基芳纶纤维复合材料及其制备方法

本发明涉及一种低熔点金属基芳纶纤维复合材料及其制备方法,属于低熔点软金属基纤维增强复合材料的领域。复合材料的结构为低熔点金属基体中嵌入芳纶纤维,其中低熔点金属与芳纶纤维的体积比为95~97:5~3。采用强度高的芳纶纤维作为铅及铅合金的增强物质,将熔融的铅及铅合金渗透到表面金属化后的芳纶纤维中,制备出铅及铅合金基芳纶纤维复合材料。对于低熔点软金属作为基体的复合材料,使用与基体金属材料强度相差很大的纤维来增强,采用液体渗透方法,只用了较少的纤维体积百分比就能有效制备出有明显的增强效果的复合材料;本发明制得的低熔点金属基复合材料的抗拉强度可达150MPa。伸长率可达20%。

标签:
复合材料
云南 - 昆明 来源:中冶有色网 2023-03-18
聚乳酸-改性硅灰石复合材料及其制备方法

本发明涉及聚乳酸与改性硅灰石复合的复合材料技术领域,是一种聚乳酸改性硅灰石复合材料及其制备方法和制品。该复合材料按原料含有聚乳酸树脂、改性硅灰石、增塑剂、润滑剂、相容剂;该制备方法首先将所需要量的聚乳酸树脂、改性硅灰石、增塑剂、相容剂、润滑剂经高速加热搅拌混合机进行充分混合,其次进入低速冷却混合搅拌机混合均匀,最后进入双螺杆挤出机直接挤出得到聚乳酸改性硅灰石复合材料;该制品是以聚乳酸改性硅灰石复合材料为原料制成的制品。该复合材料及其制品比聚乳酸基材在抗冲击强度和拉伸强度等力学性能和耐热性能都有明显提高,使聚乳酸改性硅灰石复合材料及其制品具有广泛应用领域,从而拓展了聚乳酸应用领域。

标签:
复合材料
- 新疆 来源:中冶有色网 2023-03-18
用于果蔬保鲜的复合材料及其制备方法

本发明提供一种用于果蔬保鲜的复合材料及其制备方法。该复合材料由焦磷酸和多孔材料组成;所述焦磷酸占所述复合材料的质量百分数为1%-30%。该复合材料的制备方法是将所述纳米多孔材料浸渍在磷酸溶液中,然后抽滤得滤饼;将所述滤饼干燥后进行焙烧即得所述复合材料。本发明提供的复合材料对乙烯气体具有很高的吸附容量,从而具有很好的果蔬保鲜效果,且安全无毒,对环境友好,是一类非常有潜力的果蔬保鲜剂。本发明提供的复合材料的制备方法简单、原料廉价易得、适合大规模生产。

标签:
复合材料
北京 - 北京 来源:中冶有色网 2023-03-18
酶解木质素-木质纤维-聚烯烃混杂复合材料及其制备方法

酶解木质素-木质纤维-聚烯烃混杂复合材料及其制备方法,它涉及一种复合材料及其制备方法。本发明解决了现有木塑复合材料韧性差、酶解木质素未得到高效利用的问题。本发明复合材料由热塑性塑料、酶解木质素、木质纤维材料、填料和加工助剂制成,制备方法如下:将热塑性塑料、酶解木质素、木质纤维材料、填料和加工助剂混合后挤出成型,即得酶解木质素-木质纤维-聚烯烃混杂复合材料。本发明的复合材料在加工过程中能够将废弃资源转化为生物质原料,在大大降低生产成本的同时解决了以往木塑复合材料技术的产品脆性大的问题。

标签:
复合材料
黑龙江 - 哈尔滨 来源:中冶有色网 2023-03-18
田间灌排水系统及复合材料墙

本发明的田间灌排水系统,包括复合材料墙、主动传输单元以及过渡流通单元,复合材料墙为中空的透水性墙体,墙体内腔的底部排布有透水导管,复合材料墙两两并列排布,过渡流通单元包含由管路连通的储水井,储水井与透水导管连通;主动传输单元设置于两复合材料墙间,将潜水泵抽取的水直接灌溉至田间;若干过渡流通单元沿复合材料墙排布方向相联通;复合材料墙、过渡流通单元在垂直于复合材料墙的方向上相互间隔分布形成整个田间排水布局。有益效果:采用复合材料墙进行田间的进排水,复合材料墙的深度和宽度可根据实际应用场景进行合理调整。进排水采用管道设计,从根本上解决渗漏问题,大大提升了泵站利用率,降低了使用成本。

标签:
复合材料
江苏 - 盐城 来源:中冶有色网 2023-03-18
钨银合金金属基复合材料的制备工艺

本发明公开一种钨银合金金属基复合材料的制备工艺,所述的钨银合金金属基复合材料的制备工艺包括镀层的钨银合金、基层的金属基复合材料和复层的膨胀合金组合而成,所述钨银合金包括钨、银、钼和铌,所述金属基复合材料为高温合金基,所述膨胀合金包括铁镍合金、铁铝合金和铝镍钴合金,所述的钨银合金占钨银合金金属基复合材料的制备工艺总体分量的24%‑29%,所述的金属基复合材料占钨银合金金属基复合材料的制备工艺总体分量的5%‑7%,所述的膨胀合金占钨银合金金属基复合材料的制备工艺总体分量的67%‑70%。本发明提供一种钨银合金金属基复合材料的制备工艺,具有高强度、耐高温,不吸潮、屈服强度高、抗辐射的优点。

标签:
复合材料
陕西 - 西安 来源:中冶有色网 2023-03-18
真空辅助成型中空微球复合材料孔隙率检测标块及其制备方法

本发明涉及一种真空辅助成型中空微球复合材料孔隙率检测标块的制备方法,所述的孔隙率检测标块是将不同内外径、不同壁厚、不同材料的中空微球预埋进复合材料中,以中空微球的中空作为复合材料的孔隙,模拟复合材料孔隙缺陷,这样就达到已知复合材料孔隙的目的,按照不同的基体,不同的增强材料,选择不同的铺层方式,通过真空辅助成型制备复合材料孔隙率标块,以满足实际检测中多样化的需求;用超声技术对复合材料标块进行扫描,验证试块孔隙率分布的均匀性、孔隙率的相对大小,再与真实孔隙缺陷的超声衰减信号进行对比分析,结合已知复合材料的孔隙,为复合材料孔隙率超声检测提供一种真实有效的比对与评价基准。

标签:
复合材料
上海 - 上海 来源:中冶有色网 2023-03-18
直升机复合材料尾段缺陷容限试验验证方法

本发明提供了一种直升机复合材料尾段缺陷容限试验验证方法,包括:模拟复合材料尾段在制造过程产生的不可检测制造缺陷;模拟复合材料尾段在使用过程中产生的低能量冲击损伤;在复合材料尾段贴应变片;将复合材料尾段安装在过渡段假件上;在复合材料尾段的尾梁上选择应力小的位置施加侧向和垂向载荷;在复合材料尾段的平尾气动中心位置施加平尾气动载荷;在复合材料尾段的尾桨毂中心施加侧向和垂向载荷;开展第一阶段疲劳试验和极限载荷验证试验;基于第二冲击能量对复合材料尾段各框连接区的蒙皮进行冲击损伤;开展第二阶段疲劳试验和剩余强度验证试验。

标签:
复合材料
江西 - 景德镇 来源:中冶有色网 2023-03-18
轻质低介电复合材料以及采用该材料的5G毫米波天线罩和天线罩的制备方法

轻质低介电复合材料以及采用该材料的5G毫米波天线罩和天线罩的制备方法涉及天线罩。轻质低介电复合材料,由芳纶蜂窝和微发泡塑料构成。采用轻质低介电复合材料的5G毫米波天线罩,包括天线罩罩体,天线罩罩体的中部镂空,还包括复合材料面板,复合材料面板固定在天线罩罩体的镂空处;复合材料面板为蒙皮夹芯结构,包括位于上方的上蒙皮、位于下方的下蒙皮,还包括夹在上蒙皮和下蒙皮之间的芯层和封边,封边围绕所述芯层设置,芯层采用轻质低介电复合材料制成。采用轻质低介电复合材料的5G毫米波天线罩。本发明的复合材料面板的拉伸效果、抗冲击效果好、介电性能均比同等尺寸的PC/ABS塑料件有明显提高。

标签:
复合材料
上海 - 上海 来源:中冶有色网 2023-03-18
高强度树脂基复合材料及其制备方法

本发明公开了一种高强度树脂基复合材料的制备方法,包括以下步骤:将树脂基复合材料的原料高温充分熔化,将熔融状态的树脂基复合材料放入到成型模具中进行密封,使用抽空装置进行抽空压实操作,然后进行控温使其固化成型;对固化成型的树脂基复合材料进行控温,将数量合适的纤维丝通过钢针引导下,在缝纫机器的辅助下对树脂基复合材料进行上下缝纫式穿引;接着在该材料上下表面贴合复合阵列式纤维丝,并进行涂胶形成胶面层,随后将表皮层粘贴于胶面上,再将其固化,得到高强度树脂基复合材料。加强纤维丝和辅助纤维丝植入树脂基复合材料中,使得横向和纵向的拉力都得到非常大的加强,有效提升了树脂基复合材料的强度,得到高强度树脂基复合材料。

标签:
复合材料
江苏 - 南京 来源:中冶有色网 2023-03-18
锌离子电池正极复合材料及其制备方法和应用

本发明提供了一种锌离子电池正极复合材料及其制备方法和应用。该锌离子电池正极复合材料包括α‑MnO2/rGO复合材料,以及α‑MnO2/rGO复合材料表面包裹的凝胶层;凝胶层为导电聚吡咯凝胶层;导电聚吡咯与α‑MnO2/rGO复合材料的质量比为0.1‑1:1。本发明还提供了上述锌离子电池正极复合材料的制备方法。本发明的锌离子电池正极复合材料作为离子电池的正极,可以有效抑制Mn的溶解,提高水系锌离子电池的倍率性能和循环性能。

标签:
复合材料
江苏 - 常州 来源:中冶有色网 2023-03-18
层状氮氧化铝陶瓷复合材料及其制备方法

本发明公开了一种层状氮氧化铝陶瓷复合材料及其制备方法,其中,该层状氮氧化铝陶瓷复合材料由高温热压得到,包括一层氮氧化铝(AlON)陶瓷层和两层AlON复合陶瓷层,AlON陶瓷层位于两层AlON复合陶瓷层之间;AlON陶瓷层由AlON陶瓷粉体制成,AlON复合陶瓷层由AlON陶瓷粉体、复合材料粉体、MgO粉体和ZrO2粉体混合制成,复合材料粉体为钼粉、钨粉、Mo2C粉和WC粉中的一种或几种。该层状氮氧化铝陶瓷复合材料具备韧‑硬‑韧的结构特点,吸收冲击能力强,保证强度的同时,增大其缓冲能力。该层状氮氧化铝陶瓷复合材料的制备方法,方法简便,利于烧结形成具备韧‑硬‑韧特殊结构特点的层状氮氧化铝陶瓷复合材料。

标签:
复合材料
北京 - 北京 来源:中冶有色网 2023-03-18
晶须增强聚醚醚酮复合材料及其制备方法

本发明公开了一种晶须增强聚醚醚酮复合材料及其制备方法。该复合材料包括质量分数为50%~80%的聚醚醚酮,4%~20%的聚四氟乙烯,5%~20%的改性六钛酸钾晶须,5%~10%的改性氧化锌晶须和1%~4%的加工助剂。制备方法包括将各原料干燥后混合搅拌,对所得混合料进行混炼挤出,切粒后得到复合材料粒料,将复合材料粒料干燥后注塑成型,所得复合材料成型料经退火处理后,得到晶须增强聚醚醚酮复合材料。本发明的复合材料具有高强度、高耐磨的优点,应用范围广,制备方法简单,效果好。

标签:
复合材料
湖南 - 株洲 来源:中冶有色网 2023-03-18
上一页 5004 5005 5006 5007 5008 ... 5135 下一页
共5135页    到第

中冶有色为您提供最新的有色金属复合材料技术理论与应用信息,涵盖发明专利、权利要求、说明书、技术领域、背景技术、实用新型内容及具体实施方式等有色技术内容。打造最具专业性的有色金属技术理论与应用平台!

全国热门有色金属设备推荐
展开更多 +
全国热门有色金属技术推荐
展开更多 +

 

江西省隆恩特环保设备有限公司
宣传

报名参会
更多+

报告下载

有色专家
更多+

广东省科学院资源利用与稀土开发研究所
教授
长沙矿冶研究院有限责任公司
中国工程院院士
昆明理工大学
教授
中国瑞林工程技术有限公司
中国工程院院士
任灵宝金源矿业股份有限公司
技术发展部经理
赤泥综合利用研究报告2025
推广

热门技术
更多+

推荐企业
更多+

福建省金龙稀土股份有限公司
宣传

发布

在线客服

公众号

电话

顶部
咨询电话:
010-88793500-807