青岛垚鑫智能科技有限公司
宣传

位置:中冶有色 >

有色技术频道 >

> 加工技术

分类:
全部
矿山技术
冶金技术
材料制备及加工技术
环境保护技术
分析检测技术
 
全部
功能材料技术
复合材料技术
新能源材料技术
合金材料技术
加工技术
地区:
全部
北京
天津
上海
重庆
河北
山西
辽宁
吉林
黑龙江
江苏
浙江
安徽
福建
江西
山东
河南
湖北
湖南
广东
海南
四川
贵州
云南
陕西
甘肃
青海
内蒙
广西
西藏
宁夏
新疆
其他
其他
展开
 
全部
南京
无锡
徐州
常州
苏州
南通
连云港
淮安
盐城
扬州
镇江
泰州
宿迁

江苏有色金属加工技术理论与应用

免费发布技术信息>>
锂电池模组成型制作方法

本发明涉及新能源技术领域,特别涉及一种锂电池模组成型制作方法,其使用了一种锂电池固定架,该锂电池固定架包括,主体和连接块,主体上对称开设有若干插槽,插槽内均对称插设有一号转轴,连接块为多组设置,连接块均分别插设在插槽内并固定安装在一号转轴之间,连接块的一端均开设有固定槽,连接块的一端均铰接有固定板,固定板内均插设有弹簧杆,固定槽的内壁上均开设有凹槽,弹簧杆的一端均贯穿固定板并与凹槽对应设置,连接块的两侧均对称开设有散热槽,散热槽均与固定槽相连通,散热槽内均固定安装有铝板。本发明可以对锂电池使用时产生的热量进行快速高效的散热,适合推广。

标签:
加工技术
江苏 - 徐州 来源:中冶有色网 2023-03-18
废旧锂电池破碎分选装置

本发明公开了一种废旧锂电池破碎分选装置,包括破碎箱,破碎箱内设置有破碎机构,排料管另一端连接有筛分结构,实现了破碎以及分选的一体化;进料防护结构的设置有效的防止了工人在送料的过程中被破碎机构破碎废旧锂电池时产生的废屑或废块溅伤的情况发生,既保证了工人的安全,同时也防止了生产事故的发生;通过筛分结构内的电机带动转杆以及偏心轮转动可以使得筛网进行上下的运动从而对落入筛网上破碎后的废旧锂电池进行筛分,稀有金属粉末会通过筛网进入至收集箱内进行收集,其余的废旧锂电池会通过筛网进入至废料箱内,实现了筛分的全自动化,节约了人工成本。

标签:
加工技术
江苏 - 无锡 来源:中冶有色网 2023-03-18
准固态电解质以及准固态锂离子电池

本发明涉及一种准固态电解质以及准固态锂离子电池。按照质量百分比计,制备准固态电解质的原料包括如下组分:5%~8%的聚合物电解质;10%~25%的第一锂盐;以及70%~85%的线性碳酸酯类溶剂。本发明精选特定的上述原材料以特定配比进行合理组合,制备得到的准固态电解质能够起到缓冲作用,有利于提高界面之间的亲和力,降低界面阻抗,消除困扰固态电池的空间电荷效应。将上述准固态电解质用于准固态锂离子电池时,能够抑制锂枝晶的形成,提高电池循环和安全性能,有利于应用。

标签:
加工技术
江苏 - 苏州 来源:中冶有色网 2023-03-18
锂离子电池多孔硅碳复合材料及其制备方法和应用

本发明涉及一种锂离子电池多孔硅碳复合材料及其制备方法和应用。将适量的烷基糖苷类型活化剂完全溶解在水中,得到第一溶液;在水浴条件下,向第一溶液中加入适量氨水并搅拌,得到pH值为7‑9的第二溶液;向第二溶液中加入正硅酸乙酯类物质,经搅拌、水洗至中性后抽滤,将抽滤得到的固体物质在惰性气氛下烘干;将固体物质放入反应炉中,在700℃‑1300℃条件下,通入0.5L/min‑3L/min的氢气,烧结1‑8小时,制备得到硅/二氧化硅/多孔碳复合材料;将硅/二氧化硅/多孔碳复合材料加入HF酸溶液中并持续搅拌以去除部分SiO2,之后在惰性气氛下干燥,将得到待处理多孔硅碳复合材料破碎处理,再经过碳包覆处理得到锂离子电池多孔硅碳复合材料。

标签:
加工技术
江苏 - 常州 来源:中冶有色网 2023-03-18
锂离子电池电极粘结剂及其应用

本发明公开了一种锂离子电池电极粘结剂及其应用,所述锂离子电池电极粘结剂通过对含不饱和键的粘接剂进行氢化处理得到,所述氢化处理用于将所述含不饱和键的粘接剂中的不饱和键,部分或全部变成饱和键,以形成所述锂离子电池电极粘结剂;其中,所述含不饱和键的粘接剂包括丁苯橡胶、羟甲基纤维素钠、聚丙烯酸锂、聚丙烯腈、海藻酸钠中一种或者几种的结合。

标签:
加工技术
江苏 - 常州 来源:中冶有色网 2023-03-18
具有互穿网络结构的多孔性锂离子电池隔膜及其应用

本发明公开了一种具有互穿网络结构的多孔性锂离子电池隔膜及其应用。具体制备方法是:聚偏氟乙烯‑六氟丙烯、(甲基)丙烯酸酯类单体及八乙烯基八硅倍半氧烷交联剂及致孔助剂在合适溶剂中混合均匀,经自由基聚合形成具有互穿网络结构的无孔凝胶聚合物膜,25℃时其离子电导率达到1.0×10‑3 S/cm,拉伸强度达到7 MPa,且具有优异的尺寸稳定性。在此基础上,凝胶聚合物膜经后处理形成多孔膜。本发表所得到的锂离子电池隔膜能够使离子电导率得到较大的提高,高倍率充放电性能也得到明显的提升,具有良好的应用潜力。

标签:
加工技术
江苏 - 苏州 来源:中冶有色网 2023-03-18
免焊式锂能储控源集成盒体

本发明公开了免焊式锂能储控源集成盒体,包括上盒体和下盒体,所述上盒体和下盒体的内壁均设有若干螺丝槽,且所述上盒体和下盒体上下贴合,若干所述螺丝槽一一对应,通过螺丝固定连接,所述上盒体和下盒体的内部均设有电池槽,所述电池槽的两侧均设有第一隔板,所述电池槽的一端设有两组第二隔板,设有接头槽,太阳能充电导线及LED光源的输出导线通过防水接头穿过外壳并通过插拔式端子与控制板连接,插拔端子与接头槽契合,安装拆卸方便,用户仅使用一把螺丝刀,按序放入锂电芯,拧紧螺丝即组装成具有太阳能充电锂能放电功能的锂能储控源,简化工序,无需设备投入,高效可靠。

标签:
加工技术
江苏 - 扬州 来源:中冶有色网 2023-03-18
锂硫电池电极材料及其制备方法

本发明属于锂硫电池的电极材料领域,特别涉及一种锂硫电池电极材料及其制备方法:将具有电化学活性的焦磷酸钛与硫电极材料复合,改善了锂硫电池的电化学性能,提高了首次放电比容量以及循环稳定性,解决了单质硫不导电及流失等问题,还有效地调控了锂硫电池的电压。

标签:
加工技术
江苏 - 常州 来源:中冶有色网 2023-03-18
镍掺杂改性的LiFePO<sub>4</sub>/C复合材料及其作为锂电池正极材料的应用

本发明涉及镍掺杂改性的LiFePO4/C复合材料及其作为锂电池正极材料的应用,具体涉及一种镍掺杂改性的LiFePO4/C复合材料,其特征在于所述LiFePO4/C复合材料的制备方法,包括如下步骤:(1)将磷源、铁源、锂源、镍源置于球磨罐中,加入碳源前驱体和分散剂后,进行球磨,得浆料;(2)将步骤(1)球磨得到的浆料干燥、研磨成粉末后,于700‑800oC下煅烧,冷却后即得LiFePO4/C复合材料。 1

标签:
加工技术
江苏 - 扬州 来源:中冶有色网 2023-03-18
锂电池组装车间安全监测统一管理系统

本发明涉及锂电池生产领域,具体公开了一种锂电池组装车间安全监测统一管理系统,包括无线设备、无线路由器、电脑主机、网络数据库和远程控制电器,电脑主机通过无线路由器分别与无线设备、网络数据库以及远程控制电器连接。本发明通过无线设备对锂电池组装车间进行参数检测和视频监控得到传感器数据和视频数据并传输至电脑主机进行处理并储存至网络数据库,通过参数检测与视频监控并采用平面化厂区参数显示,可以使得工作人员更好的对厂区进行监控,解决了现有的锂电池车间和厂区因无法将视频监控、环境质量监控和电力综合控制统一集成在一间控制室内而导致应对突发安全问题的速度较慢的问题。

标签:
加工技术
江苏 - 徐州 来源:中冶有色网 2023-03-18
用于全固态锂电池的聚氧化乙烯溶液注装工艺

本发明公开了一种用于全固态锂电池的聚氧化乙烯溶液注装工艺,该工艺包括混配工序和真空注装工序。首先将量取的原料一并加热。在保温条件下持续搅拌制成聚氧化乙烯溶液,另一方面将半成品全固态锂电池加热,然后在真空条件下注装聚氧化乙烯溶液。本发明解决了电极活性物质之间、电极与固态电解质膜之间结合界面充分接触的难题,为锂离子无障碍传输创造条件,有助于提升全固态锂电池循环寿命。

标签:
加工技术
江苏 - 泰州 来源:中冶有色网 2023-03-18
高强度高延伸的锂电池隔膜及其制备方法

本发明属于锂电池隔膜技术领域,具体涉及一种高强度高延伸的锂电池隔膜及其制备方法。本高强度高延伸的锂电池隔膜包括以下原料:聚乙烯、含有柔性链高分子的乙烯醋酸乙烯酯、助剂、抗氧化剂和增塑剂;其中所述柔性链高分子包括:通过在原料中加入含有柔性链高分子的乙烯醋酸乙烯酯,与聚乙烯、助剂、抗氧化剂、增塑剂等组分混合使用,在一定程度上提高了聚乙烯的熔融加工性,改善了锂电池隔膜类似脆性断裂的情况。

标签:
加工技术
江苏 - 常州 来源:中冶有色网 2023-03-18
锂电池真空封口装置
锂电池真空封口装置 1181     
 0

本发明涉及一种锂电池真空封口装置,属于锂电池设备领域。锂电池真空封口装置,包括封口腔体,封压针,顶针,抽真空管,送料管;所述的封口腔体设有L形内腔,L形内腔内设有封压针与顶针,封压针与顶针中心线一致;L形内腔的底端入口端;L形内腔的底端入口端上端连通抽真空管;送料管布置在封压针与顶针一侧,封压针向下运动、顶针向上运动;送料管的出料端布置在封压针与顶针之间;封口珠从送料管送入到封压针与顶针之间。本发明提供的锂电池真空封口装置,提高了真空封口的成品率。

标签:
加工技术
江苏 - 无锡 来源:中冶有色网 2023-03-18
新型锂电池生产工艺
新型锂电池生产工艺 828     
 0

本发明公开了一种新型锂电池生产工艺,包括正极极片和负极极片,正极极片由正极浆料制得,负极极片由负极浆料制得,正极浆料包括镍钴铝酸锂、导电炭黑、碳纳米管、聚偏氟乙烯和N‑甲基吡咯烷酮,负极浆料包括硅碳、导电炭黑、羧甲基纤维素钠、丁苯橡胶乳液和水。该发明提供的新型锂电池的制备工艺流程简单,原料相对容易获得,制作成本低廉,制备得到的新型锂电池可达3.0 AH,放电温升低,可以2C快速充电,20A循环寿命可达600次,电池安全性能优异,是目前国内非常先进的工具电池。

标签:
加工技术
江苏 - 苏州 来源:中冶有色网 2023-03-18
添加高浓度锂盐的固态聚合物电解质及其制备方法

本发明公开了一种添加高浓度锂盐的固态聚合物电解质。该固态聚合物电解质的组分包括锂盐和固态聚碳酸酯,其中,所述锂盐分散在所述固态聚碳酸酯的基体内,所述固态聚合物电解质中锂盐的含量为40~90wt%。本发明的固态聚合物电解质制备简单,室温电导率高,电化学和界面稳定性好。

标签:
加工技术
江苏 - 无锡 来源:中冶有色网 2023-03-18
磷酸钒锂的高能球磨制备方法

本发明提供了一种高倍率电化学性能锂离子动力电池正极材料磷酸钒锂的高能球磨制备方法,将锂源、钒源、磷源和碳源按照摩尔比为2.7:2.1:3:2分别配成水溶液。加热搅拌混合均匀,待水分蒸干形成蓝色凝胶后,真空干燥;产物与锆球在高能球磨机混合,然后置于充满惰性气体的管式炉中低温煅烧;产物二次高能球磨后,置于充满惰性气体的管式炉中高温煅烧,即得高能球磨的非化学计量比磷酸盐正极材料。该方法通过调节正极材料中的锂、钒的量,控制不同的球磨时间实现优化电极材料电化学性能的目的,方法简单、工艺可控、不需引入杂质离子,获得的正极材料具有良好的高倍率电化学性能、安全可靠,能有效满足动力型电池的需要。

标签:
加工技术
江苏 - 南京 来源:中冶有色网 2023-03-18
带散热风扇的锂离子电池组件

本发明公开了一种带散热风扇的锂离子电池组件,包括绝缘导热电池盒体,电池盒体内设有若干锂离子电池单体,锂离子电池单体通过绝缘导热胶与电池盒体固定;电池盒体外壁上还设有散热风扇和若干散热翅片;散热风扇通过绝缘导热胶与电池盒体外壁固定;散热翅片通过绝缘导热胶与电池盒体外壁固定。本发明锂离子电池组件,其能通过散热风扇和散热翅片进行散热。

标签:
加工技术
江苏 - 苏州 来源:中冶有色网 2023-03-18
高电压锂离子电池
高电压锂离子电池 1133     
 0

本发明公开了一种高电压锂离子电池,其包括正极极片、负极极片、隔膜、电解液;正极极片包括正极集流体和涂覆在正极集流体表面的正极浆料,正极浆料包括正极活性物质、导电剂A和粘结剂A;负极极片包括负极集流体和涂覆在负极集流体表面的负极浆料,所述负极浆料包括负极活性物质、导电剂B、分散剂和粘结剂B;电解液包括锂盐、非水有机溶剂和添加剂二氟磷酸锂。本发明采用LiDFP作为电解液添加剂,其HOMO能级比电解液溶剂分子高,可优先在正极表面发生氧化反应,形成稳定SEI膜,抑制电解液的分解反应,减少不可逆容量的损失,可显著改善高电压锂离子电池的常温循环性能。

标签:
加工技术
江苏 - 徐州 来源:中冶有色网 2023-03-18
利用废旧动力电池制备锂电池负极材料的方法

本发明提供了一种利用废旧动力电池制备锂电池负极材料的方法,包括如下步骤:步骤S1、回收废旧动力锂电池镍钴锰正极材料;步骤S2、多孔中间产物的制备;步骤S3、回收废旧动力锂电池负极材料;步骤S4、锂电池负极材料的改性。本发明还公开了一种采用上述利用废旧动力电池制备锂电池负极材料的方法得到的锂电池负极材料。本发明公开的利用废旧动力电池制备锂电池负极材料的方法工艺简单,能够安全、高效地对废旧动力电池进行回收;得到的锂电池负极材料比容量和容量保持率高,导电性足,循环性能好。

标签:
加工技术
江苏 - 扬州 来源:中冶有色网 2023-03-18
补锂负极极片和二次电池

本发明属于二次电池技术领域,尤其涉及一种补锂负极极片和二次电池,包括负极集流体、设置于负极集流体至少一表面的负极活性涂层,所述负极活性涂层包括负极活性材料和补锂材料,所述补锂负极极片满足以下关系式:0.13≤[[(1000*C/5)0.5]*[(D50)0.5]*(2+0.25B)]/(2.4‑P)≤5.45。本发明通过合理搭配负极活性材料的粒径、比表面积、负极膜片的孔隙率,及补充的锂元素的面密度,使四者满足特定的关系,构建畅通的锂离子扩散通道和锂离子反应界面,保证负极极片在电解液浸润后,有合适的锂可以迅速渗透到活性材料的表面,在其表面发生反应,形成SEI膜,剩余的锂保证电池的循环性能。

标签:
加工技术
江苏 - 苏州 来源:中冶有色网 2023-03-18
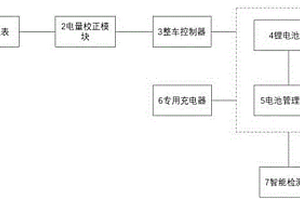
替换铅酸电池的锂电池集成系统及其控制方法

本发明公开了一种替换铅酸电池的锂电池集成系统,其包括:锂电池模块,锂电池模块包括锂电池组和电池管理系统;电池管理系统连接锂电池组;专用充电器;整车控制器;电量矫正模块,电量矫正模块连接整车控制器和车辆仪表;以及连接锂电池模块的智能检测仪;其中电池管理系统具有充电器识别模块,充电器识别模块在充电时可识别出专用充电器和非匹配充电器。本发明通过充放电回路通讯方法实现了锂电池组与专用充电器的匹配,保证了电池组充电过程的安全使用,同时为电动车匹配增加了电量修正模块,可以在不破坏车辆仪表及电路的前提下实现原仪表的精准电量显示,消除了不安全的线束改动,提升了铅酸电池替换为锂电池后的运行安全。

标签:
加工技术
江苏 - 镇江 来源:中冶有色网 2023-03-18
锂离子电池的加热方法及振荡电源、电池管理系统

本发明公开了一种锂离子电池的加热方法及振荡电源、电池管理系统。该发明包括:采集锂离子电池的温度,依据锂离子电池的温度确定锂离子电池是否进入加热阶段;在确定锂离子电池进入加热阶段的情况下,依据锂离子电池的温度确定振荡电流的目标性能参数,目标性能参数至少包括:振荡电流的正向幅值以及负向幅值、振荡电流的频率、振荡电流的占空比;向锂离子电池施加具备目标性能参数的振荡电流。通过本发明,解决了相关技术中在低温环境下为锂离子电池进行加热导致加热不均匀、损伤电芯的问题。

标签:
加工技术
江苏 - 常州 来源:中冶有色网 2023-03-18
锂离子电池负极材料高熵氧化物的制备方法

本发明公开了一种锂离子电池负极材料高熵氧化物的制备方法,包括以下步骤:S1:将高熵合金Cr0.2Fe0.2Mn0.2Ni0.2Co0.2固体进行除油,抛光除锈,蒸馏水洗涤、酒精溶液二次洗涤,真空干燥;S2:进行熔融,气雾化制粒,冷却后进行过筛;S3:取高熵合金粉末在流动的氧气下进行氧化处理,得到所需的(Cr0.2Fe0.2Mn0.2Ni0.2Co0.2)3O4高熵氧化物锂离子电极材料。本发明方法所得锂电负极材料(Cr0.2Fe0.2Mn0.2Ni0.2Co0.2)3O4高熵氧化物为纯相,颗粒形貌较为均匀,粒径0.1~2μm,即材料性能更加稳定,锂电负极材料高熵氧化物组装的电池具有很高的比容量以及很好的循环稳定性,具有显著的经济价值,本发明方法流程短,操作简单,成本低,可控性强、重复性好,适用性广,适宜于工业化生产。

标签:
加工技术
江苏 - 徐州 来源:中冶有色网 2023-03-18
废旧锂离子电池粉料的火法回收工艺

本发明涉及废旧锂离子电池粉料的火法回收工艺,属于资源回收利用技术领域。废旧锂离子电池粉料的火法回收工艺,包括以下步骤:将废旧锂离子电池破碎、筛分,得正极材料和负极材料混合的回收粉料;将粉料、含碳材料与氢离子盐混匀、焙烧,焙烧分两段进行;焙烧后的产物溶于pH为10~11的碱溶液中,通入CO2,至pH在8~9,过滤洗涤,得滤液和滤渣;滤液加热蒸发后,得碳酸锂;滤渣加入硫酸溶液,控制反应温度、硫酸浓度进行反应,反应后,过滤,得含有价金属的溶液。本发明的方法提高了有价金属的回收率和氟的脱除率,且滤渣直接酸浸就可得到镍、钴、锰的溶液,不需要加入氧化剂。

标签:
加工技术
江苏 - 苏州 来源:中冶有色网 2023-03-18
户外LED灯具用锂电池储存装置

本发明公开了锂电池技术领域的一种户外LED灯具用锂电池储存装置,包括壳体,壳体上铰接有柜门,壳体内腔底部设有防潮垫,壳体左右两侧内壁均设有压紧调节机构,压紧调节机构远离壳体的一端均设有压紧块,防潮垫顶部设有锂电池,压紧块均与锂电池相连,锂电池左侧外壁设有温度传感器,壳体左右两侧内壁中部分别设有通风口和散热风扇,壳体顶部设有蓄水池,蓄水池左侧设有进水口,蓄水池左侧内壁设有液位传感器,蓄水池内腔底部设有排水口,能较好的对锂电池工作时产生的热量进行散热,极大提高了锂电池的使用寿命,通过温度传感器能及时的对锂电池的温度进行有效监控。

标签:
加工技术
江苏 - 扬州 来源:中冶有色网 2023-03-18
高能量密度锂离子电池

本发明涉及一种锂离子电池,所述锂离子电池包含:(1)正极;(2)负极,(3)隔膜,(4)电解液,(5)封装材料,正极中活性材料是将富锂钴氧化物材料与其它含锂金属氧化物正极材料进行简单的物理混合后制成电极,进而制成电池,利用富锂钴氧化物的高容量特性,可以得到一种能量密度高、循环性能好的锂离子电池。本发明的锂离子电池制备方法简单、高效、重复性好,能够真正实现更高能量密度锂离子电池的规模化生产。

标签:
加工技术
江苏 - 南京 来源:中冶有色网 2023-03-18
锂电池浆料搅拌过滤装置

本发明公开了一种锂电池浆料搅拌过滤装置,包括主壳体、通孔、支撑腿、放置槽、排料管、排料阀、滑动杆、振动马达、弹性弹簧、圆弧形夹板、密封块、过滤板、过滤孔、过滤网、电动机、转轴、放料管、固定架、搅拌棒和搅拌片。该种锂电池浆料搅拌过滤装置结构合理、设计新颖,便于放料,提高了锂电池浆料分散的均匀性,在排料时,实现对锂电池浆料的进行过滤,以去除浆料中的颗粒和杂质,保障锂电池浆料的分散均匀,保障后续涂布的稳定,提高产品的质量,实现对锂电池浆料的自动搅拌,保障锂电池浆料更好的分散,同时保障主壳体底部的密封性,便于控制主壳体内的锂电池浆料排出,实用性价值较高,适合推广使用。 1

标签:
加工技术
江苏 - 南京 来源:中冶有色网 2023-03-18
锗掺杂的镍钴铝酸锂正极材料及其制备方法

本发明适用于锂电池技术领域,提供一种锗掺杂的镍钴铝酸锂正极材料及其制备方法,所述方法包括:准备锗源化合物;将镍钴化合物、锂源化合物、铝源化合物以及所述锗源化合物充分混合,得到配混料;将所述配混料直接进行烧结,得到锗掺杂的镍钴铝酸锂正极材料。本发明将铝、锗元素在干法混料的过程中一步引入并均匀的掺杂在镍钴化合物中间体上,并且加入锂化合物,通过一次烧结得到镍钴铝酸锂,规避了镍钴铝元素难以在前驱体制备过程中均匀沉淀的工艺难题。另外通过锗酸锂掺杂,能够更好的实现Li+的嵌入与脱出,提高材料的循环性能和倍率性能,同时锗酸锂掺杂,可以降低NCA材料对湿度的敏感性,进一步改善NCA的结构稳定性,提高材料的安全性能。

标签:
加工技术
江苏 - 无锡 来源:中冶有色网 2023-03-18
电动汽车锂电包用多式相变热衡系统

本发明涉及一种电动汽车锂电包用多式相变热衡系统,包括:含有气液相变材料的气液相变导热通道,气液相变导热通道包括至少一个延伸通道及用于容纳锂电芯的柱筒,所有柱筒的中空壁体与延伸通道相连通,锂电芯的外侧壁适于和柱筒的内壁紧密配合或其间填充导热胶,以进行热传递。各柱筒的周向外侧分别填充有固液相变储能体,该固液相变储能体至少包含三组,各组固液相变储能体内含有不同工作温度区间的固液相变材料,当锂电芯升温时可以吸收储存能量来延缓锂电芯的升温速度,当锂电芯降温时可以释放之前储存的热量来延缓锂电芯的降温速度,从而使锂电芯在更长的时间内保持在设定的工作温度范围内。

标签:
加工技术
江苏 - 常州 来源:中冶有色网 2023-03-18
补锂添加剂及其制备方法

本发明公开了一种补锂添加剂及其制备方法,为中值粒径D50大于等于0.1μm且小于等于30μm的粉末颗粒,化学式为xLi2O·yM·zNmXn,其中y> 0,z> 0,2x‑y‑z*m> 0.1;M为Mn、Fe、Co、Ni、Cu、Cr元素中一种或多种,且M价态为0价;N为Mn、Fe、Co、Ni、Cu、Al、Ti、Zn、Cr、Sn、Si、Mg的一种或多种;X为O、OH、F、PaOb、BaOb、SO4、CO3中的一种或多种。该补锂添加剂更为稳定、安全,在首次充电时可提供锂源,补偿正极和负极形成SEI膜时锂的消耗,提升首次充放电效率和循环性能、放电容量和能量密度,尤其适用于首次充放电效率较低的负极体系。

标签:
加工技术
江苏 - 无锡 来源:中冶有色网 2023-03-18
上一页 758 759 760 761 762 ... 924 下一页
共924页    到第

中冶有色为您提供最新的江苏有色金属加工技术理论与应用信息,涵盖发明专利、权利要求、说明书、技术领域、背景技术、实用新型内容及具体实施方式等有色技术内容。打造最具专业性的有色金属技术理论与应用平台!

全国热门有色金属设备推荐
展开更多 +
全国热门有色金属技术推荐
展开更多 +

 

江西省隆恩特环保设备有限公司
宣传

报名参会
更多+

2025年10月15日 ~ 17日
2025年10月17日 ~ 19日
2025年10月31日 ~ 11月02日
2025年11月07日 ~ 09日

报告下载

有色专家
更多+

江西理工大学
副校长
蒙纳士苏州校区
中国工程院外籍院士/校长
郑州大学
校长/党委书记
北京科技大学
主任/教授
矿冶科技集团有限公司工程公司
副总经理
赤泥综合利用研究报告2025
推广

热门技术
更多+

推荐企业
更多+

福建省金龙稀土股份有限公司
宣传

发布

在线客服

公众号

电话

顶部
咨询电话:
010-88793500-807