青岛垚鑫智能科技有限公司
宣传

位置:中冶有色 >

有色技术频道 >

> 复合材料技术

分类:
全部
矿山技术
冶金技术
材料制备及加工技术
环境保护技术
分析检测技术
 
全部
功能材料技术
复合材料技术
新能源材料技术
合金材料技术
加工技术
地区:
全部
北京
天津
上海
重庆
河北
山西
辽宁
吉林
黑龙江
江苏
浙江
安徽
福建
江西
山东
河南
湖北
湖南
广东
海南
四川
贵州
云南
陕西
甘肃
青海
内蒙
广西
西藏
宁夏
新疆
其他
其他
展开
 
全部

有色金属复合材料技术理论与应用

免费发布技术信息>>
具有甲醛提示功能的变色刺绣墙纸及其制备工艺

本发明公开了一种具有甲醛提示功能的变色刺绣墙纸及其制备工艺,该变色刺绣墙纸包括基纸,以及依次涂覆在其表面的抑菌层、浆料层和甲醛提示层,其中,浆料层包含纳米TiO₂/硅藻土复合材料和亚麻长纤维,甲醛提示层包括质量比为1:2~3的牵牛花红色素与硫酸羟胺;基纸依次涂覆抑菌层、浆料层后作为墙纸原纸层,在墙纸原纸层上由热敏变色纤维刺绣或编织得到变色图案层,所述的甲醛提示层涂覆在该变色图案层之上。本发明的变色刺绣墙纸含有硫酸羟胺和颜色指示剂牵牛花红色素,提示客户甲醛含量,也可以满足不同人的不同需求。本发明具有很好的甲醛吸附作用,可以有效降低空气中的甲醛浓度。本发明在基纸与浆料层之间设有抑菌层,有效防霉。

标签:
复合材料
浙江 - 嘉兴 来源:中冶有色网 2023-03-18
三嵌段热塑性弹性体的改性方法

本发明属于热塑性弹性体技术领域,具体为一种三嵌段热塑性弹性体的改性方法。本发明对于三嵌段热塑性弹性体作为聚合物基体,添加多嵌段结晶聚合物,进行共混,即获得性能多样的热塑性弹性体材料;共混时还可加入加工助剂、分散剂、抗氧剂、着色剂、填料等;对于苯乙烯类三嵌段聚合物基体,多嵌段结晶聚合物选用多嵌段结晶烯烃共聚物。本发明方法使改性后的复合材料弹性得以保持,通过改变添加多嵌段结晶聚合物的种类和比例,对材料的刚性韧性等其他性质实现有效调控,同时加工性能也有所提高。

标签:
复合材料
上海 - 上海 来源:中冶有色网 2023-03-18
物理法制备石墨烯硫酸铜悬浮液的方法

本发明涉及一种物理法制备石墨烯硫酸铜悬浮液的方法。利用真空蒸镀(蒸发)、磁控溅射、离子溅射等物理方法,对石墨烯进行改性处理,将铜纳米颗粒均匀沉积在石墨烯表面,避免和阻止石墨烯的团聚,增强其亲水性,实现其在硫酸铜溶液中均匀分散和混合,即获得石墨烯硫酸铜悬浮液。由于铜纳米颗粒的存在,使石墨烯在硫酸铜溶液中的团聚作用和上浮(疏水性)消失,分散性和亲水性显著提高。该方法具有工艺简单、纯度高无杂质、分散性好、稳定性高、适用性广、效率高、容易控制、适合大规模制备等优点,可制备高导电性、高导热性和高强度的铜基金属复合材料的前驱体,具有应用前景。

标签:
复合材料
广东 - 清远 来源:中冶有色网 2023-03-18
端基官能化橡胶及其制备方法和应用

本发明公开了一种端基官能化橡胶及其制备方法和应用,该方法在烃类溶剂中,极性有机化合物作调节剂、有机锂作引发剂,引发共轭二烯烃或和单乙烯基芳烃进行负离子聚合反应生成活性聚合物,产物与二苯基乙烯类盖帽剂反应得到盖帽活性聚合物,产物与新型含硅氧烷基的芳香亚胺封端剂进行封端反应,制备硅烷氧基‑胺基为端基的官能化橡胶,最后,采用所合成的端基官能化橡胶与增强剂、硫化剂、促进剂等配合剂混炼制备橡胶复合材料,并经硫化,得到具有低滚动阻力、高抗湿滑等性能的橡胶材料,由上述方法合成的端基官能化橡胶以及采用所述的端基官能化橡胶制备具有与碳黑/白碳黑良好相互作用,可应用于轮胎行业。

标签:
复合材料
辽宁 - 大连 来源:中冶有色网 2023-03-18
钛酸铅/二氧化钛二维单晶异质结可见光催化剂的制备方法

本发明涉及一种钛酸铅/二氧化钛二维单晶异质结可见光催化剂的制备方法,以钛酸四正丁酯的乙醇溶液和钙钛矿相钛酸铅单晶纳米片作为水热反应的物料,通过钛酸四正丁酯的水解获得锐钛矿相二氧化钛,以氢氧化钾作为矿化剂调整溶液pH值,并加入去离子水促进钛酸四正丁酯的水解,然后转移至反应釜中进行水热处理,得到钛酸铅/二氧化钛二维单晶异质结可见光催化剂。本发明制备工艺过程简单,易于控制,无污染,成本低,易于大规模生产;制得的复合材料中二氧化钛能够在钙钛矿相钛酸铅单晶纳米片上均匀生长、分布;且可见光催化效率高。

标签:
复合材料
浙江 - 杭州 来源:中冶有色网 2023-03-18
制备复合型汽车内饰板部件的方法

本发明公开了一种制备复合型汽车内饰板部件的方法,是由以聚合物基麻纤维复合材料作为基板、在基板外侧面上的面饰层和在基板内侧面上的塑料嵌件构成,其制备方法包括以聚合物基麻纤维复合毡材为原材料,在200℃温度下加热150秒至塑化状态,通过模压成型制得所述的基板;将上述基板的外表面喷涂双组份聚胺酯胶;将上述制得的基板加热至表面胶体活化状态,将所述的面饰层模压复合在基板上;将所述的塑料嵌件通过热熔胶粘合在基板的内侧面上,即获得复合型汽车内饰板部件产品。

标签:
复合材料
吉林 - 长春 来源:中冶有色网 2023-03-18
厚度均匀可控的铜包覆钼复合粉体、制备方法及其用途

本发明提供了一种厚度均匀可控的铜包覆钼复合粉体、制备方法及其用途,该铜包覆钼复合粉体外观为铜红色,其颗粒呈不规则形状或完整球形。该复合粉体为核壳结构,内核为粒度分布均匀的钼,外壳为厚度均匀的铜,钼铜质量比是10~90:90~10。该铜包覆钼复合粉体的制备方法为:将处理后的钼粉加入到镀液中,采用间歇式电镀铜工艺使铜均匀沉积在钼粉表面,将镀后的复合粉体清洗、干燥、还原。本发明通过间歇式电镀的方法制备了铜包覆钼复合粉体,方法简单可靠、易于操作,可以实现电镀速度、镀层厚度、铜含量范围的有效调节,有效地提高了钼铜复合材料综合性能,具有广泛的应用前景,并可用于工业化的大量生产。

标签:
复合材料
北京 - 北京 来源:中冶有色网 2023-03-18
高表面能长碳链聚酰胺透明薄膜及制备方法与用途

本发明属于包装材料技术领域,具体地说,涉及一种高表面能长碳链聚酰胺透明薄膜及制备方法与用途。所述高表面能长碳链聚酰胺透明薄膜,采用包括长碳链聚酰胺材料的原料制备而成,所述长碳链聚酰胺为主链上相邻酰胺基团之间的亚甲基数目大于等于10的聚酰胺,高表面能长碳链聚酰胺透明薄膜的表面张力为32mN/m~45mN/m。所述长碳链聚酰胺材料为长碳链聚酰胺、含添加剂的长碳链聚酰胺、长碳链聚酰胺合金或长碳链聚酰胺纳米复合材料中的一种或几种。本发明的高表面能长碳链聚酰胺透明薄膜具有优异的力学性能、尺寸稳定性好、耐油性好、气体阻隔性好,并且在不进行电晕等表面处理手段的情况下表现出很好的印刷性能,而且同时具有良好的透明性,在包装、印刷技术领域具有广阔的市场前景。

标签:
复合材料
北京 - 北京 来源:中冶有色网 2023-03-18
多层包覆的量子点珠
多层包覆的量子点珠 1085     
 0

本文公开了包覆珠,所述包覆珠由初级基质材料制成并且含有大量量子点纳米粒子。每个珠具有多层表面包覆层。所述层可以为两种以上不同的表面包覆层材料。所述表面包覆层材料可以为无机材料和/或聚合物材料。还描述了一种制备这样的粒子的方法。所述包覆珠对于用于诸如发光装置的应用的复合材料是有用的。

标签:
复合材料
其他 - 其他 来源:中冶有色网 2023-03-18
三维多孔结构的锂离子电池负极材料的制备方法

本发明公开了一种三维多孔结构的锂离子电池负极材料的制备方法。首先,采用水热法制备二氧化锡/聚糖复合物团簇,然后将这些团簇溶于水和乙醇的混合溶液中,并向其中依次加入羧甲基纤维素钠和聚乙烯醇,混合均匀后再向其中加入低浓度的氧化石墨烯水溶液,并于50~70℃下连续搅拌12小时。最后,将搅拌均匀的溶液滴入硅胶模具中,用液氮自上而下将其冻住,将样品脱模后置于冷冻干燥箱中彻底冻干,所得产物在350~550℃下煅烧2~4小时。本发明的产物无定形碳/二氧化锡/石墨烯纳米复合材料表现为三维多孔结构,当用作锂离子电池负极材料时,由于其优异的结构特性,展现出超高的克容量,卓越的倍率性能和循环稳定性。

标签:
复合材料
江苏 - 南京 来源:中冶有色网 2023-03-18
气凝胶隔热油管
气凝胶隔热油管 1142     
 0

本发明公开了一种气凝胶隔热油管,包括内管和外管,所述外管套在内管外部并且内管和外管之间形成密闭的隔热环空腔,该隔热环空腔内填充隔热材料。所述隔热材料采用气凝胶。所述隔热环空腔内设置至少一个扶正环。所述内管两端呈喇叭状。所述内管左端焊接在外管的左端内壁,然后内管右端按设计膨胀率加热伸长后焊接在外管的右端。所述隔热环空腔内部抽真空或回充惰性气体。本发明利用气凝胶复合材料作为隔热环空腔,并将隔热环空腔进行真空处理或回充惰性气体,提高其隔热性能。该隔热油管具有隔热等级高、使用寿命长的特点。

标签:
复合材料
山东 - 东营 来源:中冶有色网 2023-03-18
高亲组织耐腐蚀种植牙及其制造方法

本发明公开了一种高亲组织耐腐蚀的种植牙及其制造方法,包括牙种植体本体与膨胀芯,所述牙种植体本体材料以钛合金为基材,外层镀有钽金属层及氧化钽镀层,所述钽金属层及氧化钽镀层是由多弧离子镀或磁控溅射镀的物理气相沉积技术制造而成;所述膨胀芯材料以钛合金为基材,外层镀钛钽合金镀层及钽银合金镀层。本发明的种植牙具有良好的高亲组织性、耐腐蚀以及良好的生物相容性,且本发明的复合材料的制备方法简单,镀层与基材达到良好的结合。

标签:
复合材料
北京 - 北京 来源:中冶有色网 2023-03-18
可核磁共振显像体内植入材料及其制备方法和应用

本发明公开一种可核磁共振显像体内植入材料,所述植入材料由高分子材料与具有核磁共振特异性响应材料复合而成。所述高分子材料与具有核磁共振特异性响应材料的质量比为1:(10?5~1.5)。通过调整核磁共振特异性响应材料的浓度与组合,实现在不同核磁共振扫描序列下具有特异性信号,在核磁共振下产生图像,纺丝后造形使材料根据实际需求形成多种外形,使该复合材料有效解决了现有高分子植入材料在人体内由于与周围组织无信号差别而不能获取植入材料信息的问题,手术植入后可通过无损伤检测获得植入物位置和外观变化等信息。应用范围包括颅神经减压垫片、盆底复合补片、下睑替代材料、疝气修补材料、人工胸壁、心脏补片、术后防粘连膜等。

标签:
复合材料
西藏 - 拉萨 来源:中冶有色网 2023-03-18
以水溶性苯撑乙烯/甲基丙烯酸共聚物为导电相的导电混凝土及其制备方法

本发明属于复合材料领域,具体涉及一种以水溶性苯撑乙烯/甲基丙烯酸共聚物为导电相的导电混凝土及其制备方法。该导电混凝土包括如下重量份数的原料:水泥 100‑200份,砂 100‑200份,水溶性苯撑乙烯/甲基丙烯酸共聚物 20‑200份,水 70‑230份。制备方法为,首先按照上述重量份数将水溶性苯撑乙烯/甲基丙烯酸共聚物和水混合,然后再将所有分散液和上述重量份数的水泥和砂充分搅拌混合,然后再倒入模具中,经过拆模、养护及干燥等过程最终得到以水溶性苯撑乙烯/甲基丙烯酸共聚物为导电相的导电混凝土。按照本发明提供的原料配比及方法制备导电混凝土的电阻率可低至12S/cm,耐压强度可达到50MPa,且其适用于强酸、强碱及高温等恶劣环境;完全适用于工业生产。

标签:
复合材料
湖北 - 宜昌 来源:中冶有色网 2023-03-18
改性碱式氯化镁的制备方法及其应用

本发明涉及一种改性碱式氯化镁的制备方法及其应用,包括BMC的制备,BMC表面烷基化及BMC表面接枝甲基丙烯酸甲酯。硅烷偶联剂作为“架桥剂”,一端的Si‑OH基团与BMC表面羟基反应,另一端丙烯基与MMA具有相似结构,使MMA在BMC表面聚合成PMMA,这样有利于ABS复合材料的性能的提高。

标签:
复合材料
安徽 - 合肥 来源:中冶有色网 2023-03-18
土工复合排水材滤膜垂直渗透淤堵折减测试装置及其检测方法

本发明属于土工合成材料测试技术领域,涉及一种土工复合排水材滤膜垂直渗透淤堵折减测试方法。该方法过程中,滤膜试样制作是指将使用后产生淤堵的土工复合排水材从土层中取出后,按照既定的制样方法制成包含滤膜表层淤积粘土的试样。并通过研制的垂直渗透系数测试装置(该装置可测试不同水力梯度及不同侧压力系数条件下的滤膜垂直渗透系数)将上述试样与未使用过的滤膜试样进行对比试验,可得出滤膜淤堵折减指标。本发明首次提出了土工复合排水材滤膜淤堵折减定量测试的方法及相应装置,具有装置简单、操作简单易行、测量精度高的优点,可用于土工复合材料垂直渗透系数的测试。

标签:
复合材料
广西 - 南宁 来源:中冶有色网 2023-03-18
纳米磁性吸附剂及其制备方法

一种纳米磁性吸附剂及其制备方法,涉及有机无机复合材料。所述纳米磁性吸附剂由空心聚合物微球和磁性Fe304纳米颗粒杂化组成;所述空心聚合物微球含有可配位的吡啶氮原子,空心聚合物微球与Fe304纳米颗粒之间存在配位键,Fe304纳米颗粒稳定生长在空心聚合物微球表面;所述空心聚合物微球由苯乙烯和乙烯基吡啶类单体通过种子乳液聚合方法共聚而成,所述苯乙烯和乙烯基吡啶类单体的质量比为(2~5)∶1。先通过种子乳液聚合方法制得苯乙烯和乙烯基吡啶类单体共聚的空心聚合物微球,然后采用原位沉积法在空心聚合物微球上生成磁性Fe304纳米颗粒,制备出高效纳米磁性吸附剂。负载率高,比表面积大,吸附速率快,吸附性能好。

标签:
复合材料
福建 - 厦门 来源:中冶有色网 2023-03-18
聚乳酸改性二硫化钼纳米片层的制备方法

本发明公开了一种聚乳酸改性二硫化钼纳米片层的制备方法,首先通过锂插入剥离法制备单片层状二硫化钼,然后对单片层二硫化钼进行官能团修饰,最后将丙交酯与修饰了官能团的单片层二硫化钼进行原位聚合反应得到聚乳酸接枝二硫化钼复合材料。本发明方法制得的聚乳酸接枝二硫化钼纳米片层改善了二硫化钼在聚合物中的分散情况,提高了二硫化钼的生物相容性以及其与聚合物的相容性。

标签:
复合材料
安徽 - 合肥 来源:中冶有色网 2023-03-18
金属增强有机硅导热材料及其制备方法

本发明公开了一种金属增强有机硅导热材料及其制备方法,该导热材料是由有机硅树脂5~20份、金属15~45份、导热剂?20~80份、催化剂?0.1~2份、固化剂?0.1~2份、偶联剂2~10份、阻燃剂0.1~5份,经过表面处理、真空密炼、压延等工艺制成,本发明通过在配方中添加金属、导热剂粉体,可在提高有机硅材料的导热系数的同时增加其力学性能,获得力学性能优异、导热效果优良的导热复合材料,可广泛应用于电子、汽车、LED灯具等电子传热领域。

标签:
复合材料
广东 - 惠州 来源:中冶有色网 2023-03-18
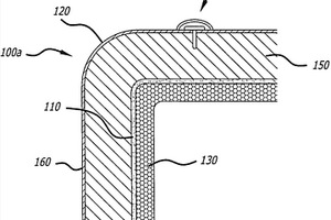
具有改善的绝热和吸音的飞机立体空间

一种用于飞机厨房壁(200)的保护壳(100),飞机厨房壁(200)具有上方工作平台区域(210)和下方工作平台区域(220),保护壳(100)具有带微穿孔的外蒙皮(120)、包括真空绝缘面板的中间层(110),和包括碳纤维复合材料的内层(130),内层(130)具有的厚度大于中间层(110)的厚度。在优选的实施例中,保护壳(100)还包括隔音层(150),其由吸收厨房噪音的开孔声学泡沫制成。

标签:
复合材料
其他 - 其他 来源:中冶有色网 2023-03-18
新型仓储笼
新型仓储笼 720     
 0

本发明公开了一种新型仓储笼,包括:金属底板,位于金属底板下方的滚轮,以及固定于金属底板边沿的金属围栏;所述滚轮采用复合材料制成;所述金属围栏采用合金材料制成,所述合金材料涂覆有保护层。本发明新型仓储笼,其金属围栏韧性好,强度高,且涂覆有保护层,耐酸碱性、耐水性及耐有机溶剂性较好。

标签:
复合材料
江苏 - 苏州 来源:中冶有色网 2023-03-18
航空器用喷气式发动机的风扇动叶

风扇动叶(1)具备叶片体(10),叶片体(10)由树脂与增强纤维的复合材料构成,并且具有面对旋转方向的一方侧的压力面(10a)及面对旋转方向的另一方侧的负压面(10b)。在该叶片体(10)的基端,设有能够与风扇盘的嵌合槽嵌合的楔形榫(11a)。并且,在叶片体上具备护套(20),护套(20)的刚性高于该叶片体,并且护套(20)在覆盖位于外部空气的引入方向上游侧的叶片体的前缘部附近的状态下固定在该叶片体上。护套从叶片体的叶片根部侧朝向前端侧沿着该叶片体的长度方向延伸,并且位于叶片体的叶片根部侧的该护套的基端部(21c)延伸到楔形榫(11a)。

标签:
复合材料
其他 - 其他 来源:中冶有色网 2023-03-18
低含水的软质填料的PCB板的芯板

一种低含水的软质填料的PCB板的芯板,它由下列重量份比的材料制成;400M80:40,SEB350:60,TBBA:50,ATH-2(填料):30,MEK(溶剂):30。采用低含水的填料对覆铜板的吸水率、耐热性,Z轴CTE、分散性及可靠性进行改善,采用低含水性软质填料如耐热性氢氧化铝AI(OH)3、融溶无定型二氧化硅、融溶无定型二氧化硅、超细粒径高岭土、铝粉、硅微粉等低含水性软质填料,其莫氏硬度小于6,以30%的比例填充至玻璃布基覆铜板复合材料中,高速搅拌至四小时,使其高度分散均匀,然后进行上胶、层压等制板工序,经检测合格后出货。较普通的调料而言,其吸水率<1.0%,尺寸稳定性好、耐热性佳、Z轴CTE<2.3%,在钻孔工艺上优良,对钻刀的磨损小,加工工艺容易,板的可靠性及CET小,较普通填料填充的覆铜板材料的可靠性相比,有了很大程度的提高。

标签:
复合材料
广东 - 江门 来源:中冶有色网 2023-03-18
锂离子电池用聚烯烃微孔膜及其制备方法

本发明提供了一种提高聚烯烃锂电池隔膜亲水性和热稳定性的方法。所使用的方法是:使用二烯丙基二甲基氯化铵(DMDAAC)与γ-(甲基丙烯酰氧)丙基三甲氧基硅烷(KH-570)反应得到两者的共聚物,再将合成的共聚物与带有羟基的纳米级二氧化硅颗粒进行水解缩合,制备出表面改性的纳米二氧化硅颗粒。最后将制备的改性二氧化硅颗粒涂覆到进行过预处理的聚烯烃微孔膜表面,得到含有有机/无机复合材料涂层的聚烯烃微孔膜。使用该方法可以有效提高隔膜的亲水性和热稳定性,对隔膜的孔隙率和透气性的影响较小,并且操作简便易于实现工业化生产。

标签:
复合材料
江苏 - 常州 来源:中冶有色网 2023-03-18
机动敞开式旋转桨叶小船

一种机动敞开式旋转桨叶小船,属船舶技术领域。它由船身、操控系统、动力系统组成。船身采用木材、玻璃钢或碳纤维复合材料制成。操控系统包括操控盘、操控信号传输机构、方向舵、座椅及支架。动力系统包括驱动装置和推进装置。驱动装置由发动机和减速传递装置组成,发动机采用内燃机或电动机。推进装置置于船身的尾部,推进装置中的桨叶作旋转运动产生推力。该小船工作时没有明显的尾迹,也没有严重的拍水现象,效率高。用作水上交通工具及用于体育游乐活动。

标签:
复合材料
广东 - 佛山 来源:中冶有色网 2023-03-18
泡沫填充蜂窝铝芯三明治结构及其制备方法

本发明涉及复合材料技术领域,特别是一种具有曲面特征的泡沫填充蜂窝铝芯三明治结构;包括上面板、上胶层、蜂窝铝-泡沫一体芯、下胶层和下面板;发泡材料在蜂窝铝中发泡后得到泡沫和蜂窝铝的复合物,所述复合物根据产品外形和结构的需要经三维加工后得到所述蜂窝铝-泡沫一体芯,所述蜂窝铝-泡沫一体芯与所述上面板和所述下面板之间分别通过所述上胶层和所述下胶层进行粘接;通过在蜂窝铝中填充泡沫有效提高了蜂窝铝芯三明治结构的综合抗冲击等力学性能,改善了三维可加工性能,同时具有良好的隔音、保温等性能;本发明同时也提供了泡沫填充蜂窝铝芯三明治结构的制备方法。

标签:
复合材料
广东 - 广州 来源:中冶有色网 2023-03-18
高速列车用隔音吸声材料及制造方法

本发明涉及一种高速列车用隔音吸声材料及制造方法,由耐磨层、纤维层、阻尼层及发泡层复合而成,所述纤维层作为所述耐磨层基布层,所述纤维层和阻尼层粘结在所述耐磨层及发泡层的中间,所述纤维层粘结在所述耐磨层及阻尼层的中间。本发明兼具隔声性能、吸声性能、保温性能等性能,隔音吸声复合材料在性能上互相取长补短,产生协同效应,可应用于高速列车的车体内表面,起隔声,吸声和保温作用,如侧墙、地板隔音、隔热用等。该材料还具有易加工成形,耐踩踏,对环境污染小的特点,而且几种材料复合在一起,提高了材料的装配效率。

标签:
复合材料
山东 - 青岛 来源:中冶有色网 2023-03-18
阻隔TPU/功能氧化石墨烯复合薄膜及其制备方法

本发明公开了一种阻隔TPU/功能氧化石墨烯复合薄膜及其制备方法,首先采用改进的hummers法制备氧化石墨烯,然后用异氟尔酮二异氰酸酯对氧化石墨烯进行有机改性得到功能氧化石墨烯,最后将功能氧化石墨烯与TPU在涂膜机上复合成膜。经本发明方法制备的复合材料薄膜,功能氧化石墨烯作为一种良好的不渗透材料可以均匀的分散在TPU基体中,使复合薄膜具有非常好的阻隔水蒸气以及氧气等小分子物质的能力,阻隔性能大大增强,并且机械性能也得到一定的提升,而且薄膜透明性较好;可以广泛的应用在食品包装、药品包装封装材料等领域,并且本发明制备方法科学合理、工艺简单、可操作性强,可以大规模进行工业化生产。

标签:
复合材料
福建 - 福州 来源:中冶有色网 2023-03-18
Si/C/Zr陶瓷前驱体及其制备方法

本发明涉及一种Si/C/Zr陶瓷前驱体及其制备方法,属于陶瓷材料技术领域。本发明制备的Si/C/Zr陶瓷前驱体采用格式偶联反应方法制备,可将Si与Zr元素以原子水平同时引入到聚合物主链中,得到硅锆一体化聚合物,合成工艺简单易行,合成产率及产物纯度较高;本发明反应原料聚碳硅烷中含Si-H键及C≡C键,热固性好,在一定的温度下可自身交联固化,且固化放热量小,固化失重低,工艺性好,且陶瓷产率高,可达60-70%;本发明Si/C/Zr陶瓷前驱体可用于超高温陶瓷基复合材料浸渍基体,亦可用于Si/C/Zr陶瓷涂层、纤维等高性能材料的制备,具有广泛的用途。

标签:
复合材料
北京 - 北京 来源:中冶有色网 2023-03-18
在铝箔伸缩软管管壁上制作模压成型规则波状褶纹的工艺及设备

本发明的名称是:一种在铝箔伸缩软管管壁上制作模压成型规则波状褶纹的工艺及设备。本发明属于铝塑复合材料制品技术领域,特别适用于铝箔伸缩软管。为解决传统铝箔伸缩软管管壁因存在的无序褶皱所导致的诸多质量问题,本发明所述设备在其缠绕装置基础上设置褶纹模压装置,采用连续旋转模压工艺,在绕制管壁的同时,借助具有特殊结构设计的环状V形型腔凹凸模,在管壁上压制出成型规则波状褶纹。本发明所述系统中的设备结构简单,成本低廉,操作维护简便。应用本发明后将有利于进一步提升铝箔伸缩软管制品的技术、经济、美学等性能,进一步扩大铝箔伸缩软管应用范围。

标签:
复合材料
河南 - 焦作 来源:中冶有色网 2023-03-18
上一页 491 492 493 494 495 ... 500 ... 2000 ... 5000 ... 5135 下一页
共5135页    到第

中冶有色为您提供最新的有色金属复合材料技术理论与应用信息,涵盖发明专利、权利要求、说明书、技术领域、背景技术、实用新型内容及具体实施方式等有色技术内容。打造最具专业性的有色金属技术理论与应用平台!

全国热门有色金属设备推荐
展开更多 +
全国热门有色金属技术推荐
展开更多 +

 

江西省隆恩特环保设备有限公司
宣传

报名参会
更多+

报告下载

有色专家
更多+

矿冶科技集团江苏北矿金属循环利用科技有限公司
书记 / 总经理
南方科技大学
外籍院士
广东省科学院资源利用与稀土开发研究所
教授
武汉工程大学
教授
北京科技大学
副院长/教授
赤泥综合利用研究报告2025
推广

热门技术
更多+

推荐企业
更多+

福建省金龙稀土股份有限公司
宣传

发布

在线客服

公众号

电话

顶部
咨询电话:
010-88793500-807