青岛垚鑫智能科技有限公司
宣传

位置:中冶有色 >

有色技术频道 >

> 复合材料技术

分类:
全部
矿山技术
冶金技术
材料制备及加工技术
环境保护技术
分析检测技术
 
全部
功能材料技术
复合材料技术
新能源材料技术
合金材料技术
加工技术
地区:
全部
北京
天津
上海
重庆
河北
山西
辽宁
吉林
黑龙江
江苏
浙江
安徽
福建
江西
山东
河南
湖北
湖南
广东
海南
四川
贵州
云南
陕西
甘肃
青海
内蒙
广西
西藏
宁夏
新疆
其他
其他
展开
 
全部

有色金属复合材料技术理论与应用

免费发布技术信息>>
抗菌型遮阳材料
抗菌型遮阳材料 952     
 0

本发明公开了一种抗菌型遮阳材料,包括三层复合材料结构:外抗菌材料层,内遮阳基层,中间透气层;所述外抗菌材料层的纺丝材料以质量计包括:添加了20%‑30%的微藻提取物的聚丙烯纤维40%‑60%、银离子纤维10%‑20%、余量的抗菌植物纤维;所述内遮阳基层的纺丝材料以质量计包括:聚乙烯纤维50%‑60%、涤纶纤维10%‑20%、余量的大豆纤维;所述中间透气层的纺丝材料以质量计包括:氨纶纤维30%‑50%、余量的醋酸纤维。与现有技术相比,具有以下优点:遮阳性能强;又具有强抗菌防霉性能,耐腐蚀耐化学性能强,避免其他易挥发迁移小分子外添加剂的添加,成品化学性能稳定,不易发生迁移挥发,具有持久的抗菌防霉性能,使用寿命长。

标签:
复合材料
江苏 - 苏州 来源:中冶有色网 2023-03-18
新型高效散热转弯滚筒输送机

本发明公开了一种新型高效散热转弯滚筒输送机,其特征在于,包括本体(1),在本体(1)内设置传送滚筒(2),在传送滚筒(2)外设置护栏(3),在本体(1)内圈设置分线箱(4)和电机(5),在本体下设置支撑架(6),在传送滚筒(2)上设置调速机(7),在调速机(7)上设置排风扇(8),本发明的有益效果是:本发明设计合理,结构简单。该新型高效散热转弯滚筒输送机在工作时,将达到预期效果,大多转弯滚筒输送机都需要有高强度要求配置,而此发明从材料上达到了要求,传送滚筒采用加强复合材料,使其加固提高使用安全性。

标签:
复合材料
江苏 - 无锡 来源:中冶有色网 2023-03-18
钠离子电池负极材料少层二硫化铼纳米片/空心碳球及其制备方法

本发明公开了一种钠离子电池负极材料少层二硫化铼纳米片/空心碳球及其制备方法。所述负极材料是通过将二硫化铼纳米片附着在多孔的空心碳球内外碳壳形成,以高铼酸铵为前驱体、硫代乙酰胺为硫源、水合肼为还原剂和多孔空心碳球为二硫化铼生长骨架,制得所述的负极材料。本发明制备的负极材料,以粒径均一的空心多孔碳纳米球为骨架,将二硫化铼片层结构均匀的分散于碳壳上,多孔空心碳球的使用,限制了二硫化铼纳米片的生长层数在2~7之间,这种少层二硫化铼纳米片/空心碳球纳米复合材料,不仅具有多的嵌钠活性位点,高的导电性,内部的空腔还可以缓冲体积效应,防止片层脱落维持结构的稳定,且二硫化铼纳米片无明显团聚现象。

标签:
复合材料
江苏 - 扬州 来源:中冶有色网 2023-03-18
多孔石墨烯/钌硒复合催化剂及其制备方法和应用

本发明属于纳米复合材料和电化学技术领域,公开了一种多孔石墨烯/钌硒复合催化剂及其制备方法和应用。本发明通过表面化学沉积的方法将多孔石墨烯与钌硒催化剂进行复合。其中,钌硒颗粒在多孔石墨烯表面进行负载沉积,同时进入多孔石墨烯的孔隙结构中。所获得的复合催化剂结合了两者的优点,既有钌硒催化剂的良好电化学活性,又有多孔石墨烯赋予的优异电学性能与化学稳定性等性能。基于协同增强机理,复合催化剂具有比单独催化剂更优越的性能,当复合催化剂用于质子交换膜燃料电池阴极催化剂时,新型燃料电池表现出高功率密度和良好耐久性的特点,使用安全性能良好且生产成本低,在实际应用中具有广阔的前景。

标签:
复合材料
广东 - 佛山 来源:中冶有色网 2023-03-18
碳纤维增强热塑性超混杂复合层板的损伤修复工艺及其装置

本发明涉及一种碳纤维增强热塑性超混杂复合层板的损伤修复装置,包括电极、给压组件、供电组件;电极包括立式点压上、下电极和卧式滚压上、下电极;立式点压上、下电极与构件接触部套设陶瓷压环;下电极固定,给压组件驱动上电极向下移动并给予构件恒定压力;卧式滚压上、下电极保持角速度相同方向相反的自转运动,构件在卧式滚压上、下电极沿构件上下表面滚动时,与构件产生滚动摩擦,并与构件发生相对移动;供电组件在内置电源及变压器的协同作用下能够调节电流大小,并针对不同尺寸、材料的超混杂复合层板构件变化电流参数。本发明具有能耗低、方法简单易实施、修复周期短等优势,大大节约了复合材料的修复成本。

标签:
复合材料
江苏 - 南京 来源:中冶有色网 2023-03-18
太阳能热水器聚氨酯保温材料及其制备方法

本发明公开了一种太阳能热水器聚氨酯保温材料及其制备方法,涉及聚氨酯复合材料技术领域。太阳能热水器聚氨酯保温材料及其制备方法,包括磷环阻燃多元醇、山梨醇聚醚、蔗糖聚醚、聚合二苯基甲烷二异氰酸酯、匀泡剂、催化剂、发泡剂、改性石棉纤维;采用磷环阻燃多元醇作为阻燃剂,在提高聚氨酯保温材料的阻燃效果的同时保证了其保温效果;本发明的保温材料所使用的原料成本低,储存安全,避免原料搬运及挥发和消散;本发明的制备方法简单,技术成熟可靠。

标签:
复合材料
广西 - 南宁 来源:中冶有色网 2023-03-18
四层芯体及其制备工艺

本发明公开了一种四层芯体,包括四层,第一层为复合材料层,第二层和第四层为SAP层,第三层为蓬松无纺布层,四层芯体外围包覆有包覆层;其制备工艺,包括以下步骤:①将第三层正面朝上铺在膨化复合机的输送带上,然后正面撒播SAP粉;②在第一层的背面喷涂结构胶,将洒有SAP的第三层和第一层利用结构胶粘合后送入压辊压合翻转;③翻转后,第三层背面朝上,然后在背面利用模具撒播SAP粉,形成第四层;④包覆层的包覆布放卷并进行分切后在背面喷涂结构胶,与四层芯体利用结构胶粘合形成包覆芯体,将包覆芯体收卷或送入收集桶再进行箱式折叠。发明的四层芯体的产品更薄、更柔软,与现有技术相比,节省了一层材料,有效降低了制备成本。

标签:
复合材料
福建 - 泉州 来源:中冶有色网 2023-03-18
制取硫酸钙晶须的工艺方法

本发明公开了一种制取硫酸钙晶须的工艺方法。本发明主要包括原料预处理、过筛、调配物料、汽相转化、动态陈化,将上述步骤中调配物料、汽相转化及动态陈化的过程重复实施1~4次,直至目标相态产物转化完全,即得到直径0.2~10μm、长径比5~300的石膏晶体产物。本发明方法制备的硫酸钙晶须产物可根据需要控制为含两个结晶水、半个结晶水或没有结晶水的二水相、半水相或者无水相产品,适合用作各种复合材料填充料、增强剂、改性剂等,且工艺方法原料取材广泛,整个流程很紧凑,无需固液分离和干燥设备及相应操作,能够大幅节省能源和一次性投资,且无废水产生,硫酸钙晶须生产成本较常规工艺方法降低30%以上。

标签:
复合材料
湖南 - 湘潭 来源:中冶有色网 2023-03-18
基于疏松碳结构与亲水聚合物材料复合的电阻式湿度传感装置的制备方法

一种基于疏松碳结构与亲水聚合物材料复合的电阻式湿度传感装置的制备方法,其属于湿度传感装置技术领域。该装置是一种基于疏松碳纳米薄膜结构表面覆盖亲水性聚合物材料的新型湿度传感器。通过在不同湿度变化下,复合材料吸附水分子的能力会发生变化,进而引起电阻变化来进行湿度传感。该装置通过在柔性衬底上制作一对有一定间隔的平行电极,并在平行电极之间的缝隙中沉积一层疏松碳纳米结构薄膜,最终将亲水性聚合物覆盖在疏松碳纳米结构薄膜表面而制成。该传感器通过将两种对环境湿度变化响应较小的物质结合,形成了一种具有较高湿度变化响应幅度的电阻式传感器。本发明具有制作简单,成本低廉,环境友好,可多次重复使用、实用性强等优点。

标签:
复合材料
辽宁 - 大连 来源:中冶有色网 2023-03-18
基于离散型接触结构的柔性压力传感器及其制备方法

本发明公开了一种基于离散型接触结构的柔性压力传感器及其制备方法,包括:柔性基底;下层电极,所述下层电极设置在所述柔性基底之上;触点阵列,所述触点阵列形成在下层电极之上并与所述下层电极电接触;支撑侧壁及延伸电极层,所述支撑侧壁设置在所述下电极的周围,并且与下电极电隔离;以及悬空网状电极,所述悬空网状电极形成在支撑侧壁上,并通过延伸电极引出,其中在未受外部作用力的情况下,所述悬空网状电极与所述触点阵列间隔开特定距离。本发明导电填料纳米石墨颗粒能均匀分散在PI中,且形成的复合材料具有良好的导电性能和机械性能。本发明具有制备工艺简单、反应灵敏,量程大和成本低的特点。

标签:
复合材料
上海 - 上海 来源:中冶有色网 2023-03-18
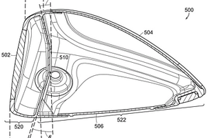
高尔夫球杆头
高尔夫球杆头 716     
 0

本文公开了一种高尔夫球杆头,其能够在使用轻量复合材料的同时,保留全金属高尔夫球杆头的金属声学特征。更具体地,根据本发明的高尔夫球杆头产生了经由面板构件屏障与后减重室协同作用的前声室。

标签:
复合材料
其他 - 其他 来源:中冶有色网 2023-03-18
碳纤维用水性聚醚砜上浆剂及其制备方法

本发明提供一种碳纤维用水性聚醚砜上浆剂及其制备方法,属于上浆剂技术领域。该上浆剂,按照重量份数计,包括:聚醚砜树脂0.5‑3份,改性纳米碳材料0.1‑1份,表面活性剂0.2‑2份,流平剂0.1‑0.5份,润滑剂0.1‑0.7份,粘合剂0.1‑1份,抗静电剂0.2‑0.8份,去离子水91‑98.7份;所述的改性纳米碳材料为改性氧化石墨烯或改性碳纳米管。本发明还提供一种碳纤维用水性聚醚砜上浆剂的制备方法。本发明改性纳米碳与树脂结构相似,氨基官能团还能与聚醚砜树脂中的醚键和砜键形成氢键作用,进而保证上浆剂与树脂间具有良好的相容性以及优异的界面结合强度,显著提高了碳纤维增强聚醚砜复合材料的界面性能。

标签:
复合材料
吉林 - 长春 来源:中冶有色网 2023-03-18
水上公园和泳池专用液体陶瓷防水防腐新材料及制备方法

本发明公开了水上公园和泳池专用液体陶瓷防水防腐新材料极其制备方法,由以下重量份的原料组成:环氧树脂、双马来酰亚胺树脂、烯丙基化合物、纳米陶瓷粉、触变剂、环保型颜料、无机填料、固化剂、白刚玉微粉、糯米粉、液体硅橡胶、纤维素醚、防爆纤维、石粉、聚丙烯酸酯、水性聚氨酯、有机硅、分散剂、减水剂、流平剂、防腐剂、稳定剂。本发明生态环保、无VOC排放、无毒阻燃,通过纳米陶瓷改性技术得到的纳米陶瓷改性环氧树脂复合材料具有很好的力学性能、耐磨性及硬度,在高速气流和水流的冲刷、机械力的作用下,使水上乐园和游泳池在使用过程中不会出现断裂或者脱落现象,可在干燥或潮湿的混凝土表面直接涂装,施工操作方便,提高工作效率,保证工程质量。

标签:
复合材料
北京 - 北京 来源:中冶有色网 2023-03-18
高比能多孔硅炭复合负极材料的制备方法

本发明公开了一种高比能多孔硅炭复合负极材料的制备方法,所述制备方法包括以下步骤:S1.制备得到沉积银的多晶硅粉;S2.制备得到多孔硅材料;S3.将步骤S2中制备的多孔硅材料与聚苯乙烯‑二乙烯基苯、聚苯胺溶液一起置于球磨机中进行球磨,制备得到混合浆料;S4.将步骤S3中制备的混合浆料装到铜箔电极集流体上,制备得到聚苯胺/聚苯乙烯‑二乙烯基苯包覆的多孔硅材料电极;S5.将步骤S4中制备的聚苯胺/聚苯乙烯‑二乙烯基苯包覆的多孔硅材料电极置于真空炉中烧结,制备出高比能多孔硅炭复合负极材料。本发明解决了现有技术中的制备方法制备出的硅炭复合材料,在应用于锂离子电池负极材料时,存在的缓冲能力不足与硅炭结合力不理想的问题。

标签:
复合材料
广东 - 珠海 来源:中冶有色网 2023-03-18
具有Al基护套的基于MgB<Sub>2</Sub>芯的超导体线材和它的生产方法

护套(3)是一种材料,其由铝(Al)基质组成,其中纳米氧化铝粒子(Al2O3)均匀分散,其中Al2O3的含量是0.25体积%至5体积%并且余量是Al。优选的是,Al2O3源自于用作用于固结的原料的铝粉上存在的表面层。基于二硼化镁(MgB2)芯(1)的超导体是通过粉末套管或中心镁扩散至硼的技术来制造的,而所述管是所述Al+Al2O3复合材料,其是粉末冶金的产品。通过冷等静压对松散铝粉进行压制,然后将粉坯在高温和真空下脱气,然后热挤出成管。在惰性气体或真空下将填满镁粉和硼粉的混合物或由硼粉包围的镁线的薄扩散阻挡层(2)管放入所述Al+Al2O3复合管中。将此种复合单元冷加工成细线材,然后在625℃‑655℃下退火8分钟‑90分钟,从而引起线材芯(1)中超导MgB2的形成。

标签:
复合材料
其他 - 其他 来源:中冶有色网 2023-03-18
基于WO<Sub>3</Sub>的无线无源H<Sub>2</Sub>气体传感器及其制备方法

本发明公开了一种基于WO3的无线无源H2气体传感器及其制备方法,该气体传感器包括:陶瓷基底以及印刷于陶瓷基底上的电感线圈与复合气敏电阻,电感线圈的外端经陶瓷基底通孔内填充的银浆与复合气敏电阻一端的连接,内端与复合气敏电阻的另一端相连,构成LR敏感回路;陶瓷基底以氧化铝生瓷带为材料,采用HTCC工艺制备,电感线圈以Ag为浆料,采用丝网印刷工艺制备,复合气敏电阻采用Pt‑WO3复合材料,由磁控溅射工艺制备。本发明的气体传感器利用无线非接触的测量方法,通过分析随电阻变化的Q值,即可准确实现低温条件下待测气体H2的检测,采用成熟的丝网印刷和磁控溅射制备工艺,具有加工简便,成本低廉等优点。

标签:
复合材料
山西 - 太原 来源:中冶有色网 2023-03-18
正极材料及其制备方法及包含该正极材料的锂离子电池

本发明涉及一种正极材料及其制备方法及包含该正极材料的锂离子电池,属于锂电池材料技术领域。本发明的正极材料,包括锰酸锂体相材料以及包覆在锰酸锂表面的镍钴锰酸锂表层材料,所述表层材料占正极材料的质量百分比为0.01~40%。本发明在锰酸锂的表面包覆镍钴锰酸锂形成的正极材料,由于包覆层优良的锂离子传导性能,有效解决了现有技术中界面电阻高的问题,同时大大提高了正极材料的高温循环性能;此外,该包覆层是电化学活性材料,还能发挥有效的克容量,从而能显著改善复合材料放电容量。

标签:
复合材料
江苏 - 常州 来源:中冶有色网 2023-03-18
定形相变材料的制备方法

本发明提供了一种定形相变材料的制备方法,包括:将多巴胺放入溶有硝酸铜的磷酸缓冲溶液中搅拌,制得聚多巴胺/铜离子杂化微球;将聚多巴胺/铜离子杂化微球置于管式炉中热解,制得介孔碳微球/铜微球(MC‑Cu);以MC‑Cu为载体,以聚乙二醇(PEG)为芯材,通过聚乙二醇与多巴胺之间的氢键作用,将聚乙二醇固载于MC‑Cu的孔隙内,制得相变复合材料PEG/MC‑Cu。本发明的制备方法具有操作简单、条件温和、无毒害等优点。

标签:
复合材料
浙江 - 舟山 来源:中冶有色网 2023-03-18
耐磨刷丝及其生产方法
耐磨刷丝及其生产方法 1076     
 0

本发明公开了一种耐磨刷丝及其生产方法,由下列重量份的原料制成:包括塑料层和钢丝两个组成部分,其中,所述塑料层具有基础材料、塑料助剂和研磨材料,所述基础材料、塑料助剂和研磨材料的组成比例为:10:0.5:2;所述基础材料为尼龙610或尼龙1010或者PP、PVC、PBT、PET或其中任意组合的复合材料;所述塑料助剂包括偶联剂、阻燃剂、抗磨剂、增韧剂、塑料抗老化剂、耐温剂、增塑剂、扩链剂、相溶剂和润滑剂;所述研磨材料为碳化硅Sic或氧化铝Al2O3;本发明按照上述材料和特定的配方制成,大大提高了刷丝在恶劣环境条件下的工作寿命,通过用该刷丝扫地具有质量高、效率高、耐磨损性强的优点。

标签:
复合材料
安徽 - 安庆 来源:中冶有色网 2023-03-18
检测邻苯二酚的电化学发光方法

本发明提供了一种检测邻苯二酚的电化学发光方法,具体属于电化学发光检测领域。该操作流程包括:(1)UiO‑66与g‑C3N4复合材料的制备;(2)UiO‑66‑g‑C3N4修饰在玻碳(GC)电极表面制得电化学发光传感器,即UiO‑66‑g‑C3N4/GC化学修饰电极;(3)利用电化学发光法检测邻苯二酚。其中以UiO‑66‑g‑C3N4/GC化学修饰电极作为工作电极,Ag/AgCl电极作为参比电极,铂电极作为辅助电极,组成传统的三电极体系。该方法的检测范围为1.0x10‑11~5.0x10‑6mol/L,最低检测限为9.0x10‑12mol/L。本发明检测邻苯二酚的方法灵敏度高且简单快速。

标签:
复合材料
江苏 - 常州 来源:中冶有色网 2023-03-18
纳米二氧化硅的单分子层表面改性方法

本发明公开了一种纳米二氧化硅的单分子层表面改性方法,其包括:提供纳米二氧化硅材料并对所述纳米二氧化硅材料进行高温烘干处理;将高温烘干处理后的纳米二氧化硅材料加入到硅烷偶联剂溶剂中,搅拌分散后形成混合溶液;对所述混合溶液进行高温回流反应工艺,冷却后依次经过离心洗涤工艺和干燥工艺处理,制备获得单分子层表面改性的纳米二氧化硅。本发明提供的改性方法能够获得单分子层改性表面改性的纳米二氧化硅,其不仅能够降低改性时偶联剂的用量,而且更好地改善改性的纳米二氧化硅作为填料在树脂中的分散性从而使得复合材料具有更优良的综合性能。

标签:
复合材料
广东 - 深圳 来源:中冶有色网 2023-03-18
分离式锁式线迹缝制装置及缝制方法

本发明公开了一种分离式锁式线迹缝制装置及缝制方法,属于缝合技术领域。本发明通过将机头组件及梭箱组件分体设置,在缝合时,通过第一滑轨将机头组件悬于待缝合材料上方,通过第二滑轨将梭子单元设置在待缝合材料下方,并控制针刺单元和梭子单元同步沿待缝合部位移动,依次对各缝合点进行锁式线迹缝合,该方法实现了对母线方向长度大(1.5m以上)、小端尺寸小(60mm以下)的锥形结构的机械缝制,保证锥形多层柔性薄膜复合材料制品各层薄膜材料之间不会发生错位、滑移及起褶现象,提高了缝合效率,并且,该方法缝纫孔间距可控、缝纫线张力可控、缝合质量稳定,适合于批量化生产。

标签:
复合材料
北京 - 北京 来源:中冶有色网 2023-03-18
碳化锆/碳化铝复合陶瓷及其制备方法与应用

本发明公开了一种碳化锆/碳化铝复合陶瓷及其制备方法与应用。该方法主要通过氧化锆增韧氧化铝复合陶瓷与碳源高温烧结实现,其主要原理是碳对金属氧化物中氧的置换反应;具体为:将ZTA与碳源混合均匀,900~2054℃烧结,冷却,冲洗,干燥,得到碳化锆/碳化铝复合陶瓷。该工艺操作简单、成本低、绿色环保、且易于大面积制备;所制备的ZTAC组织均匀,其机械强度和金属润湿性均优于ZTA,可实现对ZTA的替代,用于制备陶瓷增强金属基耐磨复合材料,在矿业、电力、冶金、建筑、机械等领域具有广阔的应用前景。

标签:
复合材料
广东 - 广州 来源:中冶有色网 2023-03-18
空心氮掺杂碳纳米管的制备方法

本发明属于无机非金属材料领域,具体涉及一种空心氮掺杂碳纳米管的制备方法。以正硅酸乙酯(TEOS)为二氧化硅前驱体制备二氧化硅模板,以3‑氨基甲醛树脂(APF)为碳源、氮源,通过调节氯化镍溶液的浓度、3‑氨基酚和甲醛加入量,以及碳化温度,实现对Ni@N doped C复合材料的长径比、含氮量和结构参数的控制。经过刻蚀除硅后,最终可以制备出具有高N含量,高比表面积,大孔体积,可调长径比和中孔尺寸的空心氮掺杂的碳纳米管。

标签:
复合材料
江苏 - 常州 来源:中冶有色网 2023-03-18
氧化石墨烯量子点溶液及其制备方法

本发明提供了一种氧化石墨烯量子点溶液的制备方法,包括如下步骤:1)将膨胀石墨在高温下进行膨胀,获得石墨蠕虫;2)将步骤1)中所述石墨蠕虫进行剪切处理,然后均匀分散到含有高分子分散剂的溶剂中,获得石墨蠕虫分散液;3)使用激光束照射步骤2)所述石墨蠕虫分散液,获得石墨蠕虫悬浮液;4)将步骤3所述中所述石墨蠕虫悬浮液离心并过滤,得到氧化石墨烯量子点溶液。使用本发明制备的氧化石墨烯量子点溶液拥有卓越的物理性能、纳米级尺寸和化学普遍性,运用该种方法分散得到的氧化石墨烯量子点溶液可作为复合材料的添加剂,显著改善材料的性能。

标签:
复合材料
湖北 - 孝感 来源:中冶有色网 2023-03-18
带有三维骨架硬质合金基体的聚晶金刚石复合片制备方法

本发明提供一种专带有三维骨架硬质合金基体的聚晶金刚石复合片制备方法,所述基体材料为WC‑Co硬质合金与金属合金的复合材料,所述三维骨架结构硬质合金基体由圆柱状硬质合金及其在该圆柱一个底面上通过3D打印方法制备一种三维骨架结构,所述三维骨架结构的材料包括硬质合金及其他合金;所述3D打印方法包括SLM及3DP方法;所述金刚石聚晶合成方法采用六面顶压机高温高压法。与传统硬质合金基体相比,本发明采用三维骨架结构硬质合金基体可以增加基体与金刚石聚晶的结合强度,显著提升金刚石复合片的断裂韧性及抗冲击能力,从而显著提升聚晶金刚石复合片的使用寿命。

标签:
复合材料
广东 - 广州 来源:中冶有色网 2023-03-18
高导热绝缘型聚四氟乙烯摩擦材料及其制备方法和应用

本发明涉及复合材料技术领域,具体涉及一种高导热绝缘型聚四氟乙烯摩擦材料及其制备方法和应用。本发明提供的高导热绝缘型聚四氟乙烯摩擦材料,按质量份数计,包括以下制备原料:聚四氟乙烯50~80份;聚酰亚胺5~20份;云母5~20份;纳米氧化铝5~15份;纳米氮化铝1~10份。本发明采用上述配比的原料制备得到的聚四氟乙烯摩擦材料在具有高导热和高绝缘性能基础上,还具有耐磨、摩擦系数稳定等特点,能够满足超声电机中对于摩擦材料的要求。

标签:
复合材料
甘肃 - 兰州 来源:中冶有色网 2023-03-18
超强超薄混凝土仿老土墙25mm表皮肌理的呈现方法

本发明涉及仿老土墙表皮肌理的呈现方法领域,具体涉及一种超强超薄混凝土仿老土墙25mm表皮肌理的呈现方法,通过在墙体植入膨胀螺丝及基面处理,将硅胶肌理模具和铝合金模板组合一体的复合型新模板,包括但不限于上述模具和模板,其他如塑胶模具、钢木模板或其他材质模板,支设牢固,即可将经过科学配比的搅拌均匀的新型混凝土复合材料浇筑入模,养护到期,拆模即为超强超薄的细腻逼真的老土墙肌理。

标签:
复合材料
河南 - 郑州 来源:中冶有色网 2023-03-18
石墨烯碳纳米管复合气凝胶电极材料的制备方法

石墨烯碳纳米管复合气凝胶电极材料的制备方法,它属于新能源材料制备领域,涉及一种碳纳米管复合材料的制备。本发明是为了解决现有方法制备的石墨烯碳纳米管气凝胶热稳定性差、电导率低的技术问题。本方法如下:一、制备离子液体;二、制备氧化石墨烯;三、制备氧化单壁碳纳米管;四、将氧化石墨烯和氧化单壁碳纳米管,分别置于咪唑基离子液体中进行超声破碎分散,将等体积的氧化石墨烯分散液和氧化单壁碳纳米管的分散液加入PTFE内胆中,用浓度为氨水将混合液pH值调至8~13,干燥,进行离子交换提纯、抽滤,冷冻,即得。本发明制备的复合电极材料具有很好的可塑性、热稳定性、电导率,具有很高的比表面积和比较出色的电化学性质。

标签:
复合材料
江西 - 景德镇 来源:中冶有色网 2023-03-18
基于MOFs衍生金属氧化物碳纳米纤维电极材料的制备方法

一种基于MOFs衍生金属氧化物碳纳米纤维电极材料的制备方法,所属锂离子电池负极材料技术领域。其制备方法:将MOFs粒子和聚丙烯腈纤维混合的N‑N二甲基甲酰胺(DMF)溶液作为纺丝前驱体,通过静电纺丝将MOFs串接在聚丙烯腈纤维上得到前驱体薄膜,经后续的预氧化和碳化处理,制备出MOFs衍生的金属氧化物@碳纳米纤维复合材料。MOFs衍生的金属氧化物可以保持前驱体MOF材料独特的框架结构用来作为锂离子存储器,碳纳米纤维可以促进电子快速转移以提高电极材料的电导率,将具有独特结构的金属有机框架(MOFs)衍生材料(金属氧化物)镶嵌在碳纳米纤维上形成一种三维导电网络结构,作为锂离子电池负极材料展示出较高的可逆比容量和优异的循环性能。

标签:
复合材料
辽宁 - 沈阳 来源:中冶有色网 2023-03-18
上一页 507 508 509 510 511 ... 2000 ... 5000 ... 5135 下一页
共5135页    到第

中冶有色为您提供最新的有色金属复合材料技术理论与应用信息,涵盖发明专利、权利要求、说明书、技术领域、背景技术、实用新型内容及具体实施方式等有色技术内容。打造最具专业性的有色金属技术理论与应用平台!

全国热门有色金属设备推荐
展开更多 +
全国热门有色金属技术推荐
展开更多 +

 

江西省隆恩特环保设备有限公司
宣传

报名参会
更多+

报告下载

有色专家
更多+

中国科学院赣江创新研究院
院长
有研科技集团有限公司
中国工程院 院士
昆明理工大学
教授
武汉理工大学
外籍院士/教授
任灵宝金源矿业股份有限公司
技术发展部经理
赤泥综合利用研究报告2025
推广

热门技术
更多+

推荐企业
更多+

福建省金龙稀土股份有限公司
宣传

发布

在线客服

公众号

电话

顶部
咨询电话:
010-88793500-807