青岛垚鑫智能科技有限公司
宣传

位置:中冶有色 >

有色技术频道 >

> 复合材料技术

分类:
全部
矿山技术
冶金技术
材料制备及加工技术
环境保护技术
分析检测技术
 
全部
功能材料技术
复合材料技术
新能源材料技术
合金材料技术
加工技术
地区:
全部
北京
天津
上海
重庆
河北
山西
辽宁
吉林
黑龙江
江苏
浙江
安徽
福建
江西
山东
河南
湖北
湖南
广东
海南
四川
贵州
云南
陕西
甘肃
青海
内蒙
广西
西藏
宁夏
新疆
其他
其他
展开
 
全部

有色金属复合材料技术理论与应用

免费发布技术信息>>
超轻高精度快速成型天线反射面及其制备方法

本发明提供了一种超轻高精度快速成型天线反射面及其制备方法,所述天线反射面包括表面金属层、胶层、PMI泡沫,所述胶层与PMI泡沫反射面的工作面连接。本发明将快速便捷的金属转移法和轻质高刚度的PMI泡沫应用于天线反射器的制备,有效解决了传统的铝蜂窝夹层复合材料反射面需要使用成本高、流程长的热压罐成型工艺的问题,相较于传统的蜂窝夹层结构天线反射器,不仅明显的缩短了制备的工艺流程,更将其重量减轻了3倍,并且能够保证型面精度相当。

标签:
复合材料
上海 - 上海 来源:中冶有色网 2023-03-18
基于人工智能的户外生活垃圾自动分拣的装置

目前市场上出现的各类用于垃圾分类的前端设备,都是基于人工分类模式。一种基于人工智能的户外生活垃圾自动分拣的装置,使用了基于深度学习的图像分类技术来对垃圾进行分类判定,判别属于可回收物还是不可回收物,采用云端分类模型与本地分类模型相结合的方式,提升分类的正确性和连接可靠性,外壳采用玄武岩纤维复合材料,使得外壳具备高强度、轻量化、隔热、无信号屏蔽等特点,使用氟碳漆涂装翻转板,使得维护人员非常容易清洗留存的垃圾脏污,使用基于颜色特征分布的机器视觉分析方法,用于判断投料板上是否存在投入的垃圾,节约上传数据流量,使用基于颜色特征分布的机器视觉分析方法,用于判断投料板上是否脏污情况,使用多种传感器探测设备状态用于判断设备内垃圾的容量,使用红外漫反射传感器感应人手部是否靠近投料口,自动打开投料门。

标签:
复合材料
江苏 - 南京 来源:中冶有色网 2023-03-18
复合纳米材料及其制备方法

本发明公开了一种Cu@Cu0.451Mn0.84902纳米复合结构材料及其制备方法。所述Cu@Cu0.451Mn0.84902纳米复合结构材料是在合成Cu纳米线的基础上包覆Cu0.451Mn0.84902纳米片而得到的纳米复合结构材料。该制备方法首先采用水性还原法合成Cu纳米线,然后采用水热合成的方法对得到的Cu纳米线包覆Cu0.451Mn0.84902纳米片,从而得到的纳米复合结构。其中Cu纳米线为支撑作为电子和电荷的传输路径;Cu0.451Mn0.84902纳米片增加复合材料比表面积,进一步改善纳米材料Cu与Cu0.451Mn0.84902之间的协同效应,从而提高了材料的各种性能。

标签:
复合材料
山东 - 济南 来源:中冶有色网 2023-03-18
用于对映异构体拆分的MOF@SiO<sub>2</sub>核壳微球HPLC手性柱

本发明公开了一种用于对映异构体拆分的MOF@SiO2核壳微球HPLC手性柱。采用原位生长的方法,以氨丙基硅胶为核,在其表面可控的生长手性MOFs作为壳合成一种核壳复合材料,并将这种MOF@SiO2核壳微球作为高效液相色谱固定相用于手性分离。相比纯MOF手性柱,本发明的MOF@SiO2核壳微球HPLC手性柱能拆分多种对映异构体,并且这种色谱柱具有更高的分辨率、更高的柱效、更快的分离速度等多种优点,对于改善纯晶体柱因晶体颗粒不均匀导致背景压力较高、柱效较低等问题有着重要的意义。

标签:
复合材料
云南 - 昆明 来源:中冶有色网 2023-03-18
V<sub>3</sub>S<sub>4</sub>@CNTS的制备及其电催化性能的应用

本发明公开了一种V3S4@CNTS电催化剂的合成及其在作为电催化裂解水产氢催化剂方面的应用。二硫化钒作为一种层状材料,近年来受到人们越来越多的关注。然而关于V3S4的报道却极少。本发明通过水热—煅烧两步法得到,将钒源与碳纳米管混合溶液进行水热反应,得到钒氧化物和碳纳米管的复合材料,然后将钒氧化物与硫混合在管式炉中煅烧,洗涤、干燥后收集得到最终产品,材料化学组成均一和在全PH电解液中电催化活性、稳定性高的V3S4@CNTS产氢电催化剂。

标签:
复合材料
陕西 - 西安 来源:中冶有色网 2023-03-18
汽车油门踏板和汽车油门自动控制系统

本发明公开了一种汽车油门踏板和汽车油门自动控制系统。所述汽车油门踏板包括:感知模块、铝合金外壳和油门踏板基体;所述感知模块置于所述铝合金外壳与所述汽车油门踏板基体中间。所述汽车油门自动控制系统,包括:内置碳纤维增强复合材料感知模块的汽车油门踏板、控制模块、加速度传感模块和车载电脑;感知模块上的电路接头与控制模块连接,所述加速度传感模块、控制模块和车载电脑依次连接。本发明提供的汽车油门踏板和采用这种汽车油门踏板的汽车油门自动控制系统具有油门响应灵敏的特点,能够解决汽车加速效果无法满足驾驶员要求的问题。

标签:
复合材料
湖北 - 武汉 来源:中冶有色网 2023-03-18
真空叠轧金属复合板板坯真空制备自动检测控制装置及方法

本发明公开了一种真空叠轧金属复合板板坯真空制备自动检测控制装置,属于金属复合材料制造技术领域,用于嵌入式真空叠轧类金属复合板坯的真空制备,包括真空泵、真空电磁阀、真空计、三通接头、多个通气管道和多个内螺纹六角套管,真空电磁阀位于靠近真空泵一侧的真空计前端,真空电磁阀和真空计的连接方式均为内六角螺纹连接,真空计的上方设有真空计通讯接头,并连接电控柜,用于将模拟量信号转化为数字信号传输给电控柜。本发明实现了真空值自动采集,检测精度更高,产品真空度值从模拟量到数字量的转化,实现数值可视化,真空制备过程中自动抽真空工作同时对保压过程进行数据监控,实现真空度自动读取和实时监控。

标签:
复合材料
江苏 - 南京 来源:中冶有色网 2023-03-18
利用铁尾矿制备椭球状硅酸锌复合吸附剂的方法

本发明为一种利用铁尾矿制备椭球状硅酸锌复合吸附剂的方法。该方法包括以下步骤:将铁尾矿球磨至过300目网筛后得到矿粉,然后将矿粉加入到碱溶液中,搅拌得悬浮液A;将锌盐溶解在去离子水中得溶液B;将溶液B加入到悬浮液A中,继续搅拌和超声得悬浮液C;将悬浮液C转至水热反应釜中,120~220℃条件下反应4~36h,得到灰白色的椭球状硅酸锌复合材料。本发明既可解决我国储量丰富、亟待利用的铁尾矿堆积造成的环境问题,实现资源化、高附加值功能化利用,又可为硅酸锌的制备提供新途径。

标签:
复合材料
天津 - 天津 来源:中冶有色网 2023-03-18
钾离子电池负极材料及其制备方法

本发明属于钾离子电池的技术领域,具体的涉及一种钾离子电池负极材料及其制备方法。该负极材料为无定型碳材料掺杂硫原子形成的复合材料,由于可控合成出来的掺杂硫原子的多孔结构有效地改善了钾离子电池的比容量和循环性能,克服了现有技术制备的钾离子电池负极材料在充放电过程中体积膨胀和低比容量问题,有效地提高了钾离子电池的比容量和循环性能。

标签:
复合材料
广东 - 肇庆 来源:中冶有色网 2023-03-18
低压高介电铝电解电容器用化成箔的制造方法

本发明涉及电子元器件技术领域,特指一种低压高介电铝电解电容器用化成箔的制造方法,通过在四级化成的低压腐蚀箔的再化成处理中使用硅烷偶联剂,可在无机物质和有机物质的界面之间架起“分子桥”,把两种性质悬殊的材料连接在一起,提高复合材料的性能和增加粘结强度的作用,通过对化成中的低压腐蚀箔加入了硅烷偶联剂,使复合膜的铝和钛两种金属能够很好的结合,最终达到提高箔的电性能的目的。

标签:
复合材料
四川 - 雅安 来源:中冶有色网 2023-03-18
高低温退火韧性的铁基非晶合金及其制备方法和用途

本发明公开了一种高低温退火韧性的铁基非晶合金及其制备方法和用途,所述铁基非晶合金的化学表达式为FeaCobNicBdCeCufMg,其中,a、b、c、d、e、f和g为对应各元素的原子摩尔百分含量,且:65≤a≤76,5≤b≤13,3≤c≤8,8≤d≤16,0.1≤e≤0.7,0.1≤f≤0.4,1≤g≤5,a+b+c+d+e+f+g=100;所述组分M为Zr、Nb、Cr中的至少一种元素。本发明的铁基非晶合金在低温退火后仍能保持良好的韧性,对折180°不断,同时还具有良好的软磁性能与电性能,以及高的非晶形成能力,制备工艺简单,可广泛应用于传感器、变压器、电加热材料、非晶增强复合材料等方面。

标签:
复合材料
江苏 - 南京 来源:中冶有色网 2023-03-18
g-C<sub>3</sub>N<sub>4</sub>/CsPbI<sub>3</sub>/TiO<sub>2</sub>纳米管阵列的制备方法

本发明提供了一种g‑C3N4/CsPbI3/TiO2纳米管阵列的制备方法,属于纳米复合材料技术领域。具体制备方法的步骤为:通过金属钛或钛合金的电化学阳极氧化法首先制备纳米管阵列结构;然后在马弗炉中进行晶化处理,得到TiO2纳米管阵列;再将CsPbI3纳米粒子加入g‑C3N4悬浮液中,得到含CsPbI3和g‑C3N4的混合溶液;最后将TiO2纳米管阵列与混合溶液反应,制备得到g‑C3N4/CsPbI3/TiO2纳米管阵列。该改性处理方法在充分发挥纳米管有序阵列的优势的同时,实现了两种半导体材料的多元复合改性。制备得到的g‑C3N4/CsPbI3/TiO2纳米管阵列,比表面积大,对太阳光的响应吸收范围宽,可作为高性能的复合电极,为高性能光催化剂的设计提供支撑。

标签:
复合材料
河南 - 郑州 来源:中冶有色网 2023-03-18
复合降低冲击声传输材料及其制备工艺

本发明公开了一种复合降低冲击声传输材料及其制备工艺,涉及复合材料技术领域,解决了因减震材料仅依靠自身的发泡原理并不能有效降低冲击声的问题。包括如下重量份数的组分:多元醇聚酯树脂70~80份;有机硅树脂20~35份;膨胀珍珠岩粉末30~35份;海泡石粉末25~30份;玻璃陶瓷粉末15~20份;磷钼酸铵10~12份;环炳烷油1~3份;二烷基二硫代磷酸锌0.5~1.5份;季铵盐0.5~1.5份;色粉0.3~0.7份;增塑剂15~23份;稳定剂2~6份。本发明中的复合降低冲击声传输材料在受到较大的冲击时,能够有效降低冲击声,具有良好的使用效果。

标签:
复合材料
上海 - 上海 来源:中冶有色网 2023-03-18
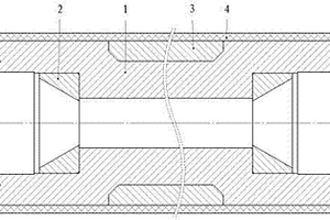
液体姿轨控动力系统的主承力结构

本发明提供了一种液体姿轨控动力系统的主承力结构,包括:倒锥壳体、球窝、轨控发动机的安装支撑结构;所述球窝设置于倒锥壳体的锥壳本体(2)上;所述轨控发动机的安装支撑结构与倒锥壳体相连。本发明主承力结构布局紧凑、功能多、重量轻,可以实现高振动量级下薄壁复合材料压力容器的可靠安装,本发明对大推力、大总冲、高可靠、轻小型化液体姿轨控动力系统具有良好的适应性。

标签:
复合材料
上海 - 上海 来源:中冶有色网 2023-03-18
漂浮型底泥‑氮化硼复合光催化材料及其制备方法

本发明公开了一种漂浮型底泥‑氮化硼复合光催化材料及其制备方法,包括以下步骤:(1)底泥干燥脱水得到底泥粉体材料;(2)将尿素和三氧化二硼按1:2质量配比混匀后在1100℃通过高温缩聚反应制备氮化硼粉体材料;(3)将底泥和氮化硼按1:0.3~1质量比研磨混匀后,加水搅拌均匀并团成块状,在1000~1500℃煅烧制备漂浮型底泥‑氮化硼复合材料。本发明首次以底泥和氮化硼为原料制备了可漂浮在水面上的复合光催化材料,可充分利用太阳光,无需搅拌,特别适用于污水处理领域。

标签:
复合材料
江苏 - 南京 来源:中冶有色网 2023-03-18
耐低温环氧树脂及其制备方法

本发明涉及一种耐低温环氧树脂及其制备方法,所述耐低温环氧树脂由环氧树脂和改性胺类固化剂混合后固化得到;所述改性胺类固化剂由脂环型胺类固化剂和丙烯腈聚合得到。其制备方法为:1)制备改性胺类固化剂;2)制备耐低温环氧树脂:将环氧树脂与改性胺类固化剂按质量比100:40‑130混合均匀,然后固化得到耐低温环氧树脂。本发明提供的环氧树脂韧性好,且在超低温条件下模量的变化率非常低,在低温环境下依然具有良好的性能,能够作为碳纤维增强复合材料低温贮箱材料使用。

标签:
复合材料
湖北 - 武汉 来源:中冶有色网 2023-03-18
锂离子电池柔性负极材料及其制备方法

本发明公开了一种锂离子电池柔性负极材料及其制备方法,其特征在于:将硅纳米颗粒均匀分布在氧化石墨烯溶液中,所得Si@GO悬浮液作为中间层溶液,并以氧化石墨烯溶液作为第一层溶液和第三层溶液;通过真空抽滤方法,依次抽滤三层溶液构成GO/Si@GO/GO三明治结构薄膜;最后将GO/Si@GO/GO三明治结构薄膜浸泡在氢碘酸中进行还原,得rGO/Si@rGO/rGO三明治结构复合材料,作为锂离子电池柔性负极材料。本发明可充放电的锂离子电池柔性负极材料,有效解决了纳米硅材料在电池充放电过程中的体积膨胀问题、导电性问题以及SEI膜稳定性问题,改善了电池的倍率性能和循环性能,可应用于柔性锂离子电池,且制备方法简单、可实现大规模生产。

标签:
复合材料
安徽 - 合肥 来源:中冶有色网 2023-03-18
具有微发泡分散功能的石墨烯母料及制备方法

本发明涉及石墨烯复合材料应用领域,具体涉及一种石墨烯母料,特别涉及一种具有微发泡分散功能的石墨烯母料及制备方法。通过将石墨烯依附于发泡剂,通过对石墨烯‑发泡剂分散体喷雾,利用具有高温熔融、低温冷凝属性的材料对石墨烯‑发泡剂体系进行冷凝造粒,使得到的石墨烯母料中石墨烯‑发泡剂体系分散均匀,较佳的保留了石墨烯与发泡剂稳定的依附链接。该石墨烯母料用于聚合物时,在高温混炼时发泡剂微发泡快速汽化膨胀,在膨胀过程中对与其相依附的石墨烯产生推动及拉伸,从而将石墨烯均匀分散于聚合物体中。克服了石墨烯采用原位聚合法、溶液混合法分散于聚合物中工艺复杂的缺陷,以及利用直接共混法将石墨烯分散于聚合物易团聚的问题。

标签:
复合材料
四川 - 成都 来源:中冶有色网 2023-03-18
磷酸锌包裹耐热型氧化铁黄颜料的合成方法

本发明涉及氧化铁黄颜料,尤其涉及一种磷酸锌包裹耐热型氧化铁黄颜料及其制备方法。一种磷酸锌包裹耐热型氧化铁黄颜料,氧化铁黄原料外层包裹致密的磷酸锌。本发明通过磷酸锌包覆氧化铁黄形成的复合材料提高了氧化铁黄的耐热性,能在塑料加工和粉末涂料应用时作为着色剂和防腐剂使用。本发明合成的包覆型氧化铁黄具有耐热性能好,合成方法简单、成本低、安全环保等优点,具有较高的工业应用价值。

标签:
复合材料
浙江 - 湖州 来源:中冶有色网 2023-03-18
多线切割机导轮
多线切割机导轮 909     
 0

本发明公开了一种多线切割机导轮,包括导轮轮芯,定位盘,碳纤维层和包胶层,所述定位盘设在所述导轮轮芯的内部,所述导轮轮芯的上下两边设有所述包胶层,所述包胶层的中间位置连接有所述碳纤维层。本发明采用了复合材料的方法,结构合理,获得了较高的强度和刚度,转动惯量减少了60%,减小了导轮因受重载而发生的形变,从而保证了加工精度和质量。

标签:
复合材料
江苏 - 苏州 来源:中冶有色网 2023-03-18
以还原氧化石墨烯为载体的Ni@Pd核壳结构的电催化剂及其制备方法

本发明涉及一种以还原氧化石墨烯为载体的Ni@Pd核壳结构的电催化剂及其制备方法,属于复合材料领域。本发明采用Hummers法制备氧化石墨烯。将NiCl2与GO制成混合溶液,使用NaBH4还原Ni2+,得到Ni单质和还原氧化石墨烯rGO。再加入H2PdCl4溶液,利用Ni与Pd2+的置换反应得到Pd。Pd包覆于Ni表面,形成Ni@Pd核壳结构并负载于还原氧化石墨烯上。该制备方法步骤简单,充分利用原料。该产物具有鲜明且独特的核壳结构形貌特征,且对乙醇氧化和氧还原反应有较好的催化性能。作为电催化剂应用于直接乙醇燃料电池阳极催化及其阴极氧还原反应具有广阔的应用前景。

标签:
复合材料
北京 - 北京 来源:中冶有色网 2023-03-18
新型装饰板材
新型装饰板材 1158     
 0

本发明公开了一种新型装饰板材,该装饰板材从下到上依次为嵌入层、防水层、第二发泡层、轻质木板、第一发泡层、防水层、表面硬质层;嵌入层设置在墙体的内部;防水层设于嵌入层和表面硬质层的内侧,发泡层设于防水层的内侧,两层发泡层中间设有轻质木板,用于减轻装饰墙板的重量;表面硬质层与嵌入层上设有凹槽,芯骨位于表面硬质层与嵌入层之间,贯穿防水层、发泡层、轻质木板。本发明提供的一种新型装饰板材,通过设置防水层、发泡层、轻质木板使装饰墙体具有很好的耐热、防水以及隔音效果,在表面硬质层与嵌入层上设有凹槽,粘合剂接触面大,牢固性好;设置碳纤复合材料的芯骨,增加了装饰板材的连接强度。

标签:
复合材料
黑龙江 - 哈尔滨 来源:中冶有色网 2023-03-18
导电聚合物复合石墨烯材料及其制备方法

本发明公开了一种导电聚合物复合石墨烯材料,它是由下述重量份的原料组成的:单体37‑40、乙二酸8‑10、炭黑10‑12、三乙胺2‑3、硫硬脂酸0.9‑1、氧化石墨烯110‑130、过硫酸铵1.4‑2,本发明的复合材料增强了氧化石墨烯的导电性能,增强了其在电化学器件、抗静电涂料、电磁干扰屏蔽材料、静电耗散材料等领域的应用范围。

标签:
复合材料
江苏 - 苏州 来源:中冶有色网 2023-03-18
低温固化结构胶膜的制备方法

本发明提供一种低温固化结构胶膜的制备方法,该种低温固化结构胶膜,以重量份数计,包括25~50重量份的A组分、25~50重量份的B组分、10~25重量份的C组分、5~40重量份的D组分、10~25重量份的E组分以及1~25重量份的F组分;其中,A组分选自多官能团环氧树脂中至少一种;B组分选自双酚型环氧树脂中的一种或多种;将以上A~F各组分混合均匀后得到树脂组合物,得到的树脂组合物经热熔法制备成100~400g/m2的低温固化结构胶膜。本发明能够有效降低加温固化过程中容易产生内应力,制得的低温固化结构胶膜具有优异的粘接性能,可广泛的应用于金属或复合材料中板‑板、板‑芯胶接,具有良好的胶接效果。

标签:
复合材料
江苏 - 镇江 来源:中冶有色网 2023-03-18
高温部件复合散热粉末涂料的制备方法

本发明涉及一种高温部件复合散热粉末涂料的制备方法,属于散热涂料技术领域。本发明以高导热苯基乙烯基硅树脂为基体,通过将红外发射率高、绝缘性好,可实现导热绝缘与高辐射兼容的氢氧化镁与片状氮化硼的有效搭接,构建接触点,并利用胶黏剂法将导热填料均匀、牢固地吸附在聚苯乙烯颗粒表面,通过聚苯乙烯颗粒在树脂中均匀分散有效填充粒子联结网络,制成具有相隔离结构的绝缘导热复合材料,可以在低含量导热填料的情况下形成连续的导热通道,并且容易形成对导热填料的取向控制,使得导热性能具有显著提升,同时利用填料改善树脂,使其具有良好的机械性能、高粘接强度以及优异的高温热稳定性和电气绝缘性。

标签:
复合材料
江苏 - 常州 来源:中冶有色网 2023-03-18
柔性微槽群散热装置
柔性微槽群散热装置 1179     
 0

本发明公开了一种柔性微槽群散热装置,包括:腔体,肋块支撑结构,毛细芯,整个装置包括蒸发段,绝热段和冷凝段。腔体材料由柔性导热纳米复合材料构成,具有较高导热系数。蒸发面上有许多微槽道,形成微槽群,在毛细作用力下,工作介质吸入到微槽道内相变蒸发。毛细芯协同微槽群结构将液体工作介质从冷凝段抽吸到蒸发段完成工质循环。腔体中间的肋块起到构建蒸汽通道的作用。本发明具有散热性能高,可弯曲度大和轻薄等优点。采用本发明能够很好地解决柔性电子产品的散热问题,降低其工作温度,提升电子产品性能。

标签:
复合材料
北京 - 北京 来源:中冶有色网 2023-03-18
多色版画及其制作材料

本发明公开了一种多色版画,该多色版画自外到内依次包括:用于体现艺术信息的彩色图案层;以及基材层,其中基材层通过以下方法制备:提供木粉;对木粉进行表面处理,得到经过表面处理的木粉;提供ABS粒料以及PVC粒料;将ABS粒料、PVC粒料以及加工助剂加入双螺杆挤出机,并利用双螺杆挤出机挤出改性的聚合物粒料;将经过表面处理的木粉以及改性的聚合物粒料加入密炼机进行塑化,得到塑化的木塑混合物料;将塑化的木塑混合物料放入热压机中,对塑化的木塑混合物料进行真空热压。本发明的木塑复合材料所制成的版画基材能够有效吸附颜料,使得版画色彩更纯正,并且能够保持长时间不褪色,本发明的材料强度、韧性高,能够防止创作过程中导致的版画破坏。

标签:
复合材料
河南 - 新乡 来源:中冶有色网 2023-03-18
铝塑复合包装材料的分离方法

本发明公开了一种铝塑复合包装材料的分离方法,属于复合材料分离技术领域。包括以下步骤:1)将铝塑复合包装材料放到浓度为2~6mol/L的草酸溶液中,其中草酸溶液分离剂和铝塑复合包装材料的用量比为(1~10)L:1kg;2)在75~90℃下恒温震荡直至将铝塑复合包装材料分离为铝和塑料;该分离方法以2~6mol/L的草酸溶液为分离剂,草酸是生物体的一种代谢产物,广泛分布于植物、动物和真菌体中,毒性非常小,该浓度分离剂利于塑料和铝箔分离,并且使用过程该分离剂不挥发有害气体,不会对大气和人体造成危害;且分离剂和铝塑复合包装材料的用量比为(1~10)L:1Kg,在该用量比下分离效果好,成本较低,利于工业生产;同时在75~90℃下恒温震荡,使用温度宽泛,利于生产。

标签:
复合材料
陕西 - 西安 来源:中冶有色网 2023-03-18
检测乳腺癌的电流型免疫传感器的制备方法及应用

本发明属于新型纳米材料、免疫分析和生物传感技术领域,提供了一种检测乳腺癌的电流型免疫传感器的制备方法及应用,具体涉及一种基于负载钯纳米棒氧化铜功能化的石墨烯纳米复合材料的电化学免疫传感器的构建方法,以及由该方法构建的电化学免疫传感器在检测乳腺癌特异性抗原中的应用。

标签:
复合材料
山东 - 淄博 来源:中冶有色网 2023-03-18
制备聚乙烯醇/氧化石墨烯复合纳米纤维膜的静电纺丝工艺及其在水处理中的应用

本发明提供了一种制备聚乙烯醇/氧化石墨烯复合纳米纤维膜的静电纺丝工艺及其在水处理中的应用。以石墨粉、高锰酸钾、浓硫酸为主要原料,用改良的Hummers方法制备出氧化石墨烯;通过共价连接制备出聚乙烯醇氧化石墨烯复合材料;用静电纺丝法制备出聚乙烯醇/氧化石墨烯复合纳米纤维膜;该聚乙烯醇/氧化石墨烯复合纳米纤维膜,可以用来吸附去除水中的酚类污染物。优点:一、材料制备方法简单,易操作;原料成本较低,便于广泛推广应用;二、该聚乙烯醇/氧化石墨烯复合纳米纤维膜的吸附能力大于纯PVA纳米纤维膜;三、该聚乙烯醇/氧化石墨烯复合纳米纤维膜,重复进行多次吸附实验后,依然能保持很好的吸附能力。

标签:
复合材料
北京 - 北京 来源:中冶有色网 2023-03-18
上一页 508 509 510 511 512 ... 2000 ... 5000 ... 5135 下一页
共5135页    到第

中冶有色为您提供最新的有色金属复合材料技术理论与应用信息,涵盖发明专利、权利要求、说明书、技术领域、背景技术、实用新型内容及具体实施方式等有色技术内容。打造最具专业性的有色金属技术理论与应用平台!

全国热门有色金属设备推荐
展开更多 +
全国热门有色金属技术推荐
展开更多 +

 

江西省隆恩特环保设备有限公司
宣传

报名参会
更多+

报告下载

有色专家
更多+

武汉工程大学
教授
长沙矿冶研究院有限责任公司
中国工程院院士
广西大学
处长/教授
矿冶科技集团
副所长/研究员
中国矿业大学
副院长/教授
赤泥综合利用研究报告2025
推广

热门技术
更多+

推荐企业
更多+

福建省金龙稀土股份有限公司
宣传

发布

在线客服

公众号

电话

顶部
咨询电话:
010-88793500-807