青岛垚鑫智能科技有限公司
宣传

位置:中冶有色 >

有色技术频道 >

> 加工技术

分类:
全部
矿山技术
冶金技术
材料制备及加工技术
环境保护技术
分析检测技术
 
全部
功能材料技术
复合材料技术
新能源材料技术
合金材料技术
加工技术
地区:
全部
北京
天津
上海
重庆
河北
山西
辽宁
吉林
黑龙江
江苏
浙江
安徽
福建
江西
山东
河南
湖北
湖南
广东
海南
四川
贵州
云南
陕西
甘肃
青海
内蒙
广西
西藏
宁夏
新疆
其他
其他
展开
 
全部
南京
无锡
徐州
常州
苏州
南通
连云港
淮安
盐城
扬州
镇江
泰州
宿迁

江苏有色金属加工技术理论与应用

免费发布技术信息>>
阴离子F-、Cl-、Br-掺杂改性富锂层状正极材料的合成

本发明涉及一种掺杂改性富锂层状正极材料及其制备方法,具体涉及阴离子F-、Cl-、Br-按照一定比例对材料进行掺杂改性,最终得到一类新型富锂层状正极材料,属于锂离子电池技术领域。所述合成方法包括如下步骤:将锂盐、金属的硝酸盐以及非金属盐按照摩尔比称量之后,溶入去离子水中,加入柠檬酸,用浓氨水调节pH值为7~8,然后,加热搅拌反应制得湿凝胶,烘干,得到干凝胶,再经过预烧结得到前驱体,最后高温煅烧研磨后得到富锂正极材料Li[Li0.2Ni0.15Mn0.55Co0.1]O2-xMx(M=F、Cl、Br)(其中0≤x<0.1)为改性层状富锂正极材料。本发明所述法制备出正极材料颗粒细小而均匀,表面光滑,结晶性能好,因而具有较高的放电比容量和良好的倍率性能;共掺杂,可以改善其循环性能和首次库伦效率,降低不可逆容量的损失,因而具有重大的工业化意义。

标签:
加工技术
江苏 - 无锡 来源:中冶有色网 2023-03-18
二次锂-空气电池阴极催化剂及其应用

本发明公开了一种二次锂-空气电池阴极催化剂及其应用,该催化剂属于尖晶石晶体结构,其结构式为AxB1-xC2O4或者ABxC2-xO4;其中,0

标签:
加工技术
江苏 - 苏州 来源:中冶有色网 2023-03-18
锂离子电池固定装置
锂离子电池固定装置 743     
 0

本发明提供一种锂离子电池固定装置,用于固定盒状锂离子电池于电子装置壳体内,所述电子装置壳体内设有若干螺柱,且所述锂离子电池固定装置包括若干悬臂及若干锁固件,所述悬臂分别凸设于锂离子电池的侧缘,且所述悬臂上分别设有锁固孔;所述锁固件分别穿设所述锁固孔并固定于所述螺柱内。本发明锂离子电池固定装置通过锁固件与锁固孔及螺柱之间的锁固配合以固定锂离子电池,从而避免双面胶对电池外观的影响。

标签:
加工技术
江苏 - 苏州 来源:中冶有色网 2023-03-18
锂锌铁氧体微波电磁损耗材料及其制备方法

本发明公开了一种锂锌铁氧体微波电磁损耗材料,其化学式为Li0.15Zn0.7Mg0.01-0.1Fe2.14-2.05O4。该微波电磁损耗材料是采用固态高分子吸附自燃烧法合成,即以金属的硝酸盐为原料,按照该铁氧体的化学计量比进行配料,再加入一定量的助燃剂,溶于水中形成均匀的溶液,并用纤维质的棉花将溶液全部吸收,令其自燃得到前驱体,再将前驱体放入炉中进行热处理,即可制得相应的掺杂镁的锂锌铁氧体粉体。该法不仅工艺简单,大大缩短了制备时间,而且瞬间燃烧使材料结晶度高,避免了锂离子的损失,制得粉体具有高纯度、均一粒径分布等优点,适合做微波电磁损耗材料使用,所以原料价格低廉、易得。

标签:
加工技术
江苏 - 南京 来源:中冶有色网 2023-03-18
锂电池储能系统嵌入式智能散热装置

本申请公开了一种锂电池储能系统嵌入式智能散热装置,涉及种锂电池储能系统散热技术领域,包括锂电池储能箱和正负极柱,锂电池储能箱的顶端安装有顶盖,分隔板位于锂电池储能箱和顶盖之间,顶盖的上端两侧开设有散热口,顶盖的内部安装有散热风扇。当采集的温度信号超过预设值的范围时,单片机将发出指令传输至继电器,继电器将接通散热风扇的电源,启动散热风扇将锂电池储能箱内部的热量吸出,这时热量将通过传热通孔流出,使热量通过散热口快速向外排出,当热量排出后,温度传感器可以再次将采集的温度信号将输送至单片机,若采集的温度信号未超过预设值的范围时,单片机将发出指令传输至继电器,将散热风扇的电源关闭,使散热风扇停止工作。

标签:
加工技术
江苏 - 南京 来源:中冶有色网 2023-03-18
配备有工件移运机械手的锂电池盖板检测装置

一种配备有工件移运机械手的锂电池盖板检测装置,包括固定有电气控制器的工作台和设在工作台上的锂电池盖板移运机械手左右位移驱动机构和锂电池盖板移运机械手,锂电池盖板移运机械手包括导滑块固定板、上导滑块、下导滑块、升降推板、吸盘架固定板、吸盘架、吸盘、升降推板致动作用缸和机械手左右位移皮带固定块,导滑块固定板的前侧有一对升降推板滑动导轨、其上还设升降推板上极限位置信号采集器,在导滑块固定板的下端右侧固定有下限位块,下限位块上设升降推板下极限位置信号采集器。满足锂电池盖板移运机械手将作为工件的锂电池盖板可靠而稳定地从一个工位转移至另一个工位的要求;自动化效果好,保障检测动作的连贯性及提高检测效率。

标签:
加工技术
江苏 - 苏州 来源:中冶有色网 2023-03-18
用于锂电池模组振动测试的固定工装

本实用新型公开了一种用于锂电池模组振动测试的固定工装,包括安装座,所述安装座的顶端四周均滑动连接有夹持板一,四个夹持板一相对向的一侧壁上均开设有凹槽,凹槽内均滑动连接有夹持板二,夹持板二的夹持面均与对应的夹持板一的夹持面相平齐,四个夹持板一与安装座之间连接有夹持固定机构,此用于锂电池模组振动测试的固定工装,区别于现有技术,其用于锂电池模组振动测试的固定工装的使用过程中,可利用夹持固定机构,能够对锂电池模组的四周侧壁进行夹持紧固,大大提升夹持固定的效果,有效保证锂电池模组振动测试时的稳定性,其次,利用调节机构,能够根据不同高度的锂电池模组进行调节,使得夹持效果更好,适用范围更广。

标签:
加工技术
江苏 - 苏州 来源:中冶有色网 2023-03-18
高性能锂电池PACK防水结构

本实用新型公开的属于锂电池防水技术领域,具体为一种高性能锂电池PACK防水结构,包括PACK电池箱,所述PACK电池箱上侧安装有箱盖,所述PACK电池箱内腔左右两侧均开设有滑槽,所述滑槽中滑动连接有滑块,所述PACK电池箱内腔中放置有支撑板,所述支撑板与滑块连接,所述支撑板左右两侧均开设有螺纹孔,所述螺纹孔中螺接有螺杆,所述螺杆与PACK电池箱转动连接,所述支撑板上侧放置有高性能锂电池,通过转动螺杆能够调节支撑板的高度,高性能锂电池放置在支撑板上,安装上箱盖后,通过橡胶垫对高性能锂电池进行挤压,从而使其固定,安装方便,支撑板高度调节后,使PACK电池箱能够固定多种型号及大小的高性能锂电池。

标签:
加工技术
江苏 - 常州 来源:中冶有色网 2023-03-18
带有保险装置的锂电池

本实用新型公开了锂电池技术领域的一种带有保险装置的锂电池,包括锂电池本体,所述锂电池本体顶部左侧外壁设置有两组第一电极柱,所述锂电池本体顶部右侧外壁设置有第二电极柱,所述第一电极柱内腔开设有安装槽,两组所述安装槽内腔之间设置有熔断保险丝,且电极块底部外壁与熔断保险丝外壁贴合,所述第一电极柱包括与锂电池本体顶部外壁固定连接的连接座,所述连接座顶端与移动块活动连接,装置中向外侧拉动弹性片,将固定块从固定槽的内腔中移出,使移动块与连接座连接断开,将移动块从连接座上方移走,使安装槽内部打开,方便对安装槽内部熔断后的熔断保险丝进行清理,便于使用者对熔断保险丝进行更换。

标签:
加工技术
江苏 - 扬州 来源:中冶有色网 2023-03-18
锂电池充电装置
锂电池充电装置 974     
 0

本实用新型涉及一种锂电池充电装置。其充电过程包括第一充电控制状态以及第二充电控制状态;进入第一充电控制状态后,降低供电端输出的供电电压并保持充电端对锂电池BT1的充电,直至供电端输出的供电电压与锂电池BT1的电压差小于预设的电压阈值VTH,停止充电端对锂电池BT1充电并进入第二充电控制状态;进入第二充电控制状态后,当所采集的负载电流小于负载电流阈值ITH时,提升供电端输出的供电电压,并恢复充电端对锂电池BT1充电状态,直至采集充电时的负载电流大于负载电流阈值ITH或供电端输出的供电电压为额定电压状态。本实用新型能有效提高对锂电池的充电效率,安全可靠。

标签:
加工技术
江苏 - 无锡 来源:中冶有色网 2023-03-18
锂电钻钻头稳定组件
锂电钻钻头稳定组件 733     
 0

本实用新型公开了锂电钻钻头稳定组件,其技术方案要点是:包括第一钻头夹、连接稳定组件和辅助稳定组件,所述连接稳定组件处于所述第一钻头夹下端,所述辅助稳定组件处于所述第一钻头夹两侧,所述连接稳定组件包括连接座和第一稳定弹簧;通过设置连接座和第一稳定弹簧,可使第一钻头夹与锂电钻输出端之间的稳定性大大提高,同时第一稳定弹簧在锂电钻工作时,可减小钻头对锂电钻的冲击,使使用者的手部震动感减小;第二钻头夹对钻头进行辅助固定,在第一稳定杆、第二稳定杆、第一连接柱、第二连接柱和第二稳定弹簧的辅助下,可使钻头的稳定性进一步提高,使电钻工作时对锂电钻的震动进一步减小,可提升锂电钻的使用舒适性。

标签:
加工技术
江苏 - 盐城 来源:中冶有色网 2023-03-18
密闭托盘及智能锂电池专用密闭装置

本实用新型涉及一种密闭托盘及智能锂电池专用密闭装置,具有托盘本体;所述托盘本体上安装有充电接口、MES工位机以及内置于托盘本体的锂电池;所述充电接口依次通过变压器和充放电管理模块后与锂电池的充电口电连接;所述锂电池的放电口与MES工位机的电源端相连。本实用新型采用交流220V~三引脚充电接口,通过内置变压器和充放电管理模块,对托盘内置锂电池进行充电,安全高效,并且通过内置锂电池给MES工位机供电。

标签:
加工技术
江苏 - 无锡 来源:中冶有色网 2023-03-18
氢氧化锂粉碎生产线
氢氧化锂粉碎生产线 1092     
 0

本实用新型涉及一种氢氧化锂粉碎生产线,属于氢氧化锂加工设备技术领域,包括依次呈流水线设置的定量输送装置、真空干燥机、卧式连续球磨机和存储料仓,所述定量输送装置的出料口与真空干燥机的入料口之间、真空干燥机的出料口与卧式连续球磨机的入料口之间、卧式连续球磨机的出料口与存储料仓的入料口之间均通过送料装置连通,该生产线自动化程度高,氢氧化锂的生产效率较高,且干燥、球磨和存储过程中的氢氧化锂全程不与外界接触,避免了氢氧化锂吸收二氧化碳和水分,做到随时需要随时生产;氢氧化锂的腐蚀性气味不会向外扩散,不需使用喷淋塔除异味装置,降低了生产投入成本。

标签:
加工技术
江苏 - 无锡 来源:中冶有色网 2023-03-18
金属锂废渣的无害化处理系统

本实用新型公开了一种金属锂废渣的无害化处理系统。所述系统包括:密封反应容器,其能够盛装液相体系,所述液相体系包括分层的油相和水相,油相分布在水相上方,且油相与金属锂废渣不反应;按压机构,其能够将分布在所述油相内的金属锂废渣压入所述水相;以及氢气处理系统,其能够将在所述密封反应容器内产生的氢气移除。本实用新型的金属锂废渣的无害化处理系统结构设计简单合理,可使整个反应是在水底进行,可隔绝氧气,可以保证金属锂与水的反应速率,提高处理效率,保证工业化生产的需求;同时,本实用新型的装置使反应安全可控,没有锂渣起火和爆炸的风险。

标签:
加工技术
江苏 - 苏州 来源:中冶有色网 2023-03-18
太阳能储能锂电池
太阳能储能锂电池 883     
 0

一种太阳能储能锂电池,涉及锂电池领域。包括电池组壳体和密封盖合在电池组壳体上的盒盖,电池组壳体内设置有锂电池组,所述电池组壳体内底部的左右两侧的中部设置有第一T形槽、前后两侧的中部设置有第二T形槽,第一T形槽和第二T形槽内滑动设置有滑动块以及连接在滑动块上的限位杆,滑动块与第一T形槽、第二T形槽的外端之间分别设置有弹簧,所述锂电池组限定在四根限位杆之间。本实用新型的锂电池组通过四根限位杆限定在电池组壳体内,避免在运输过程中造成冲击,而影响产品质量,另外,四根限位杆还分别对应设置有弹簧,使得锂电池组受到冲击时具有良好的缓冲效果。

标签:
加工技术
江苏 - 扬州 来源:中冶有色网 2023-03-18
用于铝锂合金生产的气体保护装置

本实用新型公开了一种用于铝锂合金生产的气体保护装置,包括:气体夹层、喷嘴,其特征在于:所述气体夹层沿水平方向截面的形状与加工室沿水平方向截面的形状相同,气体夹层通过隔板分割成若干层风室,若干个喷嘴的两端分别与风室和相通加工室相通,喷嘴的中心线与圆柱形铝锂合金工件壁面相切,每层风室的两端通过每层保护气体支管与每层总管的一端相通,每层总管的另一端与保护气体储罐相通。本实用新型通过若干组中心线与铝锂合金工件相切的喷嘴喷入一定刚度的保护气体,使得铝锂合金工件周围形成旋转的气流,确保铝锂合金工件周围始终处于低含氧量氛围,避免高温铝锂合金工件的氧化,降低保护气体用量,节约企业生产成本。

标签:
加工技术
江苏 - 镇江 来源:中冶有色网 2023-03-18
极柱式锂电池壳体盖板

一种极柱式锂电池壳体盖板,属于锂电池构件技术领域。包括盖板本体,其中部设泄压防爆孔;泄压防爆机构,置于盖板本体背对锂电池壳体的一侧;正、负极柱固定在盖板本体的左、右端;正、负极柱电极引片与正、负极柱铆接,负极柱电极引片包括第一引接耳和第二引接耳,第一引接耳与第二引接耳彼此前后对应且在相互保持间距的状态下隔着盖板本体与负极柱铆接;盖板本体上设注液孔;盖板本体的长度为130mm,宽度为36mm,厚度为1.5‑2mm;正极柱的柱体表面构成有正极柱外螺纹,负极柱的柱体表面构成有负极柱外螺纹。方便与锂电池芯电气连接;方便向锂电池壳体的壳腔内注入电解液;满足锂电池壳体的技术规范要求。

标签:
加工技术
江苏 - 苏州 来源:中冶有色网 2023-03-18
烷基锂连续化生产系统

本实用新型属于化工原料生产设备领域,公开一种烷基锂连续化生产系统。一种烷基锂连续化生产系统,包含双螺杆挤出机(1),混合器(2),位于混合器(2)内的金属锂喷嘴(9)、溶剂喷嘴(8),L型反应器(3);金属锂喷嘴(9)一端与双螺杆挤出机(1)连通,溶剂喷嘴(8)通过溶剂供应管道(7)与溶剂储存装置相连;L型反应器(3)顶部与混合器(2)底部通过管道连接,其顶部还设有卤代烷基滴加口(10)。通过本实用新型系统实现了烷基锂的连续化、自动化生产。将各物料的投加速度、反应器温度、压力等参数通过计算机模拟控制达到安全、连续生产烷基锂的目的。

标签:
加工技术
江苏 - 无锡 来源:中冶有色网 2023-03-18
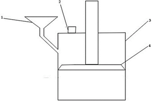
锂电池喷码进料装置
锂电池喷码进料装置 1093     
 0

本实用新型公开了一种锂电池喷码进料装置,包括料斗,锂电池从料斗底部落入旋转轮的轮齿间隙内,PLC将信号传递给变频器,变频器控制电机使旋转轮转动,落入旋转轮轮齿间隙的锂电池随着旋转轮的转动由出口落入传送带,传送带呈一侧高一侧低的状态,落入传送带的锂电池由于传送带倾斜依次均匀得靠在传送带一侧的侧板上,当锂电池经过喷码器时,喷码器自动喷码。该装置克服了传统手工操作劳动强度大,工作效率低,容易漏喷以及锂电池摆放不均等问题。

标签:
加工技术
江苏 - 苏州 来源:中冶有色网 2023-03-18
基于多目标优化的锂离子电池快速充电方法

本发明公开了一种基于多目标优化的锂离子电池快速充电方法,包括以下步骤:建立锂离子电池的二阶RC等效电路,并根据等效电路得出锂电池在充电过程中的电‑热‑老化耦合模型;根据电‑热‑老化耦合模型,考虑锂电池充电过程中电量SOC达到90%所需要的充电时间、充电过程中的最大温升以及千次循环充电情况下的容量损耗,建立多目标优化的快速充电目标函数;根据电池在不同SOC阶段的性能特点,设计多阶段恒流充电方法,通过社交网络搜索算法优化充电电流序列,得到代价函数值最小时对应的充电电流序列。本发明在满足锂电池快速充电需求的基础上,降低充电过程中的最大温升并减小电池的充电容量损耗。

标签:
加工技术
江苏 - 南京 来源:中冶有色网 2023-03-18
正极材料中锂离子扩散能力的评价方法

本发明属于锂离子电池材料检测技术领域,具体涉及一种正极材料中锂离子扩散能力的评价方法。本发明提供的正极材料中锂离子扩散能力的评价方法,可直接借助传统充放电柜、依靠电池的充放电循环测试数据获取待评测正极材料的锂离子扩散系数的大小关系。区别于现有技术中的对扩散系数进行直接测试,本发明在仅需评测各材料扩散能力大小的需求下,相较于其它直接求解扩散系数的评价手段,该方法具有测试步骤简单,测试步骤可与电池充放电能力测试、循环性能测试等集成,无需借助专业设备和特定实验方案,属于对常规循环测试数据的深度挖掘,可在较短时间内准确地评估出多款正极材料的锂离子扩散能力的差异。

标签:
加工技术
江苏 - 常州 来源:中冶有色网 2023-03-18
改性锰酸锂材料的生产方法

本发明一种改性锰酸锂材料的生产方法,包括1、将LiOH、Mn(NO3)2和柠檬酸混合在一起并搅拌,配合使用浓氨水,将液体的pH调制5~7,并进行蒸发操作;2、将步骤1得出的物料进行烘烤预热操作;3、将步骤2得出的物料进行研细并进行煅烧操作,进而可以得出锰酸锂;4、将步骤3得出的锰酸锂表面包覆一层薄膜,即可完成操作,本发明所达到的有益效果是:通过在锰酸锂的表面上包覆SnO2:Sb的复合氧化物薄膜的方式,改善了材料的表面形貌,同时在包覆时,通过阻止了电解液与活性物质的直接接触,从而降低了锰在电解液中的溶解,提高了电极材料的循环稳定性,同时也提高了材料的电导率从而更有利于锂离子的脱嵌。

标签:
加工技术
江苏 - 无锡 来源:中冶有色网 2023-03-18
氮化物包覆的钴酸锂正极材料的制备方法

本发明公开了一种氮化物包覆的钴酸锂正极材料的制备方法,包括以下步骤:(1)将锂盐和钴盐混合、研磨后,在反应器中中共同升温至1000‑1065゜C烧结,并通入氧化气体,保温8‑10h,烧结结束后冷却至室温;(2)将(1)中得到的产物研磨、粉碎、过筛处理,得到LiCoO2粉末;(3)将(2)中粉末放入反应器中,并往反应器中通入流量为1000‑1500sccm的氨氩混合气体,将反应器备升温至300‑400゜C,保温2‑3h,反应结束后冷却至室温,得到的粉末即为氮化物包覆的钴酸锂。本发明制备的正极材料,纯度高、无杂相,晶格结构没有很大的破坏。CoN包覆在钴酸锂表面,正极材料倍率性能的提高得益于导电性能的提升,同时,氮化钴具有良好的界面传输效率,与钴酸锂材料间形成良好的协同作用。

标签:
加工技术
江苏 - 泰州 来源:中冶有色网 2023-03-18
锂电池用包裹基片的折叠机构及折叠方法

本发明涉及一种锂电池用包裹基片的折叠机构及折叠方法,折叠机构包括支撑板和第一支座,该第一支座设置在支撑板的上表面,所述第一支座上铰接有第一压杆,且第一压杆向远离第一支座的方向延伸;该第一压杆上端面垂直向下贯设有通槽,该通槽的两侧壁上各设有斜压块,该斜压块上部设有第一斜面,下部设有第二斜面。在通过夹持板继续夹紧锂电池用包裹基片的过程中,定型块通过第一压杆的继续施压,对锂电池用包裹基片上凸出夹持板的一部分形成挤兑,进而,在锂电池用包裹基片最后被最终夹紧的同时,也同步被定型块挤压折叠定型,从而,实现了对锂电池用包裹基片的夹紧和折叠同时进行的目的,因此,可将生产效率大大提高。

标签:
加工技术
江苏 - 常州 来源:中冶有色网 2023-03-18
锂电池外壳加工用成型一体化设备

本发明公开了一种锂电池外壳加工用成型一体化设备,包括冷却组件、第二固定板、第二电动伸缩杆和运输组件,所述冷却组件和存储室均位于储存箱内部,所述下模具成型外壳内开设有锂电池成型槽,所述第一固定板左右两侧均固定有辅助夹持组件,所述存储室左右外壁上均开设有换气口,所述第二固定板固定在上模具成型外壳前后外壁上,所述第一滑块滑动连接有第一滑道,所述顶板上固定有第一液压缸,所述上模具成型外壳左右外壁上均固定有推送组件。该锂电池外壳加工用成型一体化设备,设置有辅助夹持组件,在第一电动伸缩杆的作用下可带动密封板相对移动,最后密封板对辅助支撑,在第一液压缸的辅助作用下就可带动锂电池外壳移出锂电池成型槽内部。

标签:
加工技术
江苏 - 盐城 来源:中冶有色网 2023-03-18
锂电池供电式除螨仪的控制系统

本发明公开了一种锂电池供电式除螨仪的控制系统,包括:机身,其包括锂电池BMS保护板模块、吸风马达模块和第一通信模块,锂电池BMS保护板模块监测控制锂电池充电和放电;床刷,其包括床刷控制板模块、灰尘浓度传感器模块、拍打电机模块、紫外杀菌模块和第二通信模块,灰尘浓度传感器模块用于检测吸入灰尘浓度的大小,第一通信模块通过信号线连接第二通信模块,实现锂电池BMS保护板模块与床刷控制板模块的通信,进行信息交换。本发明相较于现有技术,机身部分和床刷部分各自有一个MCU进行数据处理和控制,两个MCU之间通过单一根信号线进行通信,使用时能根据清洁需求灵活的控制拍打模块、吸尘模块和紫外线模块切换工作状态。

标签:
加工技术
江苏 - 苏州 来源:中冶有色网 2023-03-18
安全型锂电池配方及制片工艺

本发明公开一种安全型锂电池的配方,包括正极:的S‑P、PVDF、KS‑6、其余为锰酸锂;负极:S‑P、CMC、SBR水系配方、其余为人造石墨,隔膜:9+3陶瓷隔膜。一种安全型锂电池制片工艺,包括如下步骤:1)、配料,2)、涂布,3)、辊压,4)、极耳焊接,5)、卷绕,6)、封装,7)、烘烤,8)、注液,9)、化成,10)、封装。本发明材料上选择锰酸锂相对于三元材料和钴酸锂材料是较惰性的,每多掺10份的三元材料其温度会相应增加3‑5℃。

标签:
加工技术
江苏 - 宿迁 来源:中冶有色网 2023-03-18
壳聚糖-锂离子筛复合小球及制备方法和应用

本发明涉及一种壳聚糖‑锂离子筛复合小球及制备方法和应用,采用高分子交联技术将锂离子筛材料成型,其具体步骤为:将锂离子筛材料与天然高分子壳聚糖混合均匀后加入稀酸水溶液搅拌均匀,然后滴进三聚磷酸钠水溶液后形成直径均匀的小球将锂离子筛粉末包裹于其内部,经清水洗涤之后加入醛类物质进行进一步交联反应,得到壳聚糖‑离子筛复合小球,具有耐酸碱能力强、吸附容量大、易于固液分离等优点,可广泛应用于卤水提锂。

标签:
加工技术
江苏 - 南京 来源:中冶有色网 2023-03-18
锂离子电池用正极材料及其制备方法

本发明公开了一种锂离子电池用正极材料及其制备方法。该制备方法包括以下步骤:将镍钴锰氢氧化物、WO3与LiOH进行干法混合,得到混合物;以及将混合物在高压炉氧气气氛中煅烧,然后冷却、粉碎得到锂离子电池用正极材料。应用本发明的技术方案,在高压炉内通入氧气进行加压烧结,从而在合成正极材料的过程中促进锂离子嵌入前驱体,并均匀地分布在材料本体中,减少因锂元素分布不均造成的缺陷,有效地抑制Li+/Ni2+混排现象的发生,Li离子充分进入材料本体中还可以有效地减少正极材料表面残锂,进一步的,可以取消制备正极材料过程中的水洗工艺,降低生产成本,提高正极材料的电化学性能。

标签:
加工技术
江苏 - 常州 来源:中冶有色网 2023-03-18
锂电池的环保回收箱
锂电池的环保回收箱 757     
 0

本发明提供一种锂电池的环保回收箱,涉及环保设备领域。该锂电池的环保回收箱,包括箱体,所述箱体的顶部连通有入料口,所述箱体内壁的顶部固定安装有第一装置箱,所述第二驱动轴上远离第二驱动电机的一端固定安装有第二转辊,所述第二转辊上设置有切割刀,所述第二装置箱的底部连通有处理箱,所述箱体的右侧固定安装有第二回收箱,所述第二回收箱内壁的顶部固定安装有喷水器,所述箱体内壁的顶部固定安装有冷凝管,所述箱体内壁的顶部固定安装有风扇。该锂电池的环保回收箱,通过将锂电池从入料口放入第一装置箱内部,从而滑动块将可以回收的材料推入到第一回收箱进行回收再次利用,通过设置冷凝管,可以防止锂电池收到挤压发热而爆炸。

标签:
加工技术
江苏 - 镇江 来源:中冶有色网 2023-03-18
上一页 761 762 763 764 765 ... 924 下一页
共924页    到第

中冶有色为您提供最新的江苏有色金属加工技术理论与应用信息,涵盖发明专利、权利要求、说明书、技术领域、背景技术、实用新型内容及具体实施方式等有色技术内容。打造最具专业性的有色金属技术理论与应用平台!

全国热门有色金属设备推荐
展开更多 +
全国热门有色金属技术推荐
展开更多 +

 

江西省隆恩特环保设备有限公司
宣传

报名参会
更多+

2025年10月15日 ~ 17日
2025年10月17日 ~ 19日
2025年10月31日 ~ 11月02日
2025年11月07日 ~ 09日

报告下载

有色专家
更多+

洛阳有色矿业集团有限公司
生产技术部经理
西安建筑科技大学
教授
西北有色金属研究院、中国工程院
院士
中铝科学技术研究院有限公司
董事长
清华大学
教授
赤泥综合利用研究报告2025
推广

热门技术
更多+

推荐企业
更多+

福建省金龙稀土股份有限公司
宣传

发布

在线客服

公众号

电话

顶部
咨询电话:
010-88793500-807